[ВХОД]

30.03.26(04:22)

mob.skif.biz

Альтернативная энергия. Оставь надежду, всяк сюда входящий...

🏠 Главная | 📚 Содержание | 💬 Форум | 📁 Файлы | 📩 Контакт

🖥️ | 🖨️

Форум - Электростатические генераторы - Электростатика - Использование электростатического поля - Стр:2
<] [ 1 | 2 | 3 ] [>
Модератор: sergeb
Первый пост темы: sergeb Post: #150511 От:21.12.2008 (14:43)
Народ, есть тут матерые физики? Похоже, университетского курса мне было недостаточно.

Нужно объяснить почему эта схема не будет работать. Схема простая и добавлена приложением.

Имеем равномерное электростатическое поле E. В него помещен замкнутый проводник (кольцо на схеме). Одна половина кольца проводника помещена в замкнутый металлический корпус. Как известно из опытов Фарадея, внутри замкнутого металлического корпуса напряженность электростатического поля всегда равна нулю, какое бы сильное внешнее поле не было.

Толи схема слишком идеальная, толи я не до конца понимаю пограничные явления, когда E переходит в ноль, но по идее в проводнике должен бежать ток в указанном направлении по аналогии с мельничным колесом, частично помещенным в поток воды.

Самое интересное то, что физика говорит, что поле, перемещая заряд из точки А и точку Б НЕ изменяется, т.е. не расходуется.

С другой стороны, физика говорит, что поле это потенциал. А из потенциала извлечь энергию можно только уничтожив его.

Я пробовал эту схему на относительно низких напряженностях поля (пластины конденсатора порядка 1кв). При этом вольтметр, амперметр показывал ноль даже там, где 100% должен бежать ток (при движении проводника в поле).

Я думаю здесь нужны очень высокие разности потенциалов - десятки и сотни киловольт, дабы в произведении с диэлектрической проницаемостью (9E-12) воздуха получить ощутимые результаты.
sergeb | Post:151470 - Date: 25.12.08(20:20)
Знаю пока к сожалению не все. Но скоро буду знать все ))

Ivan | Post:151508 - Date: 26.12.08(06:05)
sergeb Пост: 151470 От 25.Dec.2008 (17:20)
Но скоро буду знать все ))

🤢

_________________
Наука – это несомненное сумасшествие, занятое классификацией своих собственных галлюцинаций. Поэтому не удивительно, что люди науки отвергают исследования, которые считают чужими галлюцинациями. Амиель


lazj | Post:152182 - Date: 29.12.08(01:31)
От Ивана к Новому году.

[ссылка]

_________________
"Наука - это то, чего быть не может. То что может быть - это уже технический прогресс" (П.Л. Капица) "Делай, что должно и будь, что будет.."


lazj | Post:152227 - Date: 29.12.08(12:56)
sergeb Пост: 151470 От 25.Dec.2008 (17:20)
Знаю пока к сожалению не все. Но скоро буду знать все ))


.......................................
Неизвестного нет для меня под Луной
Мне известно, что мне ничего неизвестно
Вот последняя тайна открытая мной.

(Омар Хайям)

_________________
"Наука - это то, чего быть не может. То что может быть - это уже технический прогресс" (П.Л. Капица) "Делай, что должно и будь, что будет.."


sergeb | Post:152246 - Date: 29.12.08(15:14)
Да ладно стебаться, я в шутку сказал 😀 Просто я очень настойчивый в освоении интересного мне материала.

За ссылку спасибо, почитаем.

sergeb | Post:152266 - Date: 29.12.08(16:12)
lazj: почитал ваш материал. любопытно, но ничего нового вроде не прочел 😀

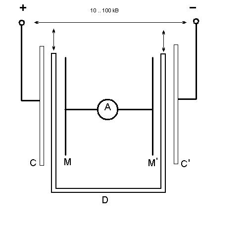
Я тоже думал о конденсаторах и диэлектрике между ними. И надумал такую схему (см. приложение).

Имеем конденсатор, составленный из двух пластин С и C'. К нему подключено высокое постоянное напряжение 10 .. 100 кВ. Вообще, чем больше тем лучше 😀 Вообще можно не использовать сложные умножители-строчники, генераторы Маркса и Энегельса 😀 Можно просто зарядить пластины электростатикой.

Внутри этого конденсатора имеется еще один конденсатор М М'. Его обкладки соеденены амперметром А (ну или нагрузкой).

Имеется диэлектрик D, который совершает возвратно-поступательные движения вдоль пластин конденсаторов точно между пластинами C-M и C'-M'.

Т.к. диэлектрик имеет отличную (бОльшую) от воздуха диэлектрич. проницаемость, то в крайней точке, когда диэлектрик полностью закрывает пластины M-M', между этими пластинами разность потенциалов будет минимальной. В крайней точке, когда диэлектрик никакого поля не экранирует, разность потенциалов на пластинах M-M' будет максимальной.

Т.е. мы имеем синусоидальную переменную ЭДС между пластинами M-M', амплитуда которой:
1. Пропорциональна разности потенциалов C-C'
2. Пропорциональна диэлектрической проницаемости диэлектрика D
3. Пропорциональна скорости движения диэлектрика

При этом заряд C-C' не расходуется непосредственно на ЭДС в M-M'! Он может только стекать, т.е. расходоваться на не имеющие отношения к делу потери.

Я вот еще не до конца понимаю процесс, но по моему, сила затрачивается только на пункт 3, практически не имея обратной связи. Во всяком случае, при постоянной обратной связи, ЭДС можно увеличить в тысячу раз только применением титанатов в качестве диэлектриков, обладающих проницаемостью в несколько тысяч единиц.

Я знаю, тут на скифе народные умельцы пытались замутить аналогичную хрень с магнитным полем. Но магнитное поле это какая то фигня. Уже слышу не впервые мнение, что это просто какая то производная электростатического поля при движении заряда ( [ссылка] ). И к тому же эта сила Лоренца довольно извращенно действует на заряд с обратной связью.

А электростатика - как то проще тут все намного и понятнее.


Размер: 15.87 KB

lazj | Post:152268 - Date: 29.12.08(16:17)
поздравляю с изобретением генератора имени Хайда... почти... 😀

_________________
"Наука - это то, чего быть не может. То что может быть - это уже технический прогресс" (П.Л. Капица) "Делай, что должно и будь, что будет.."


sergeb | Post:152269 - Date: 29.12.08(16:24)
lazj Пост: 152268 От 29.Dec.2008 (13:17)
поздравляю с изобретением генератора имени Хайда... почти... 😀

от чорт 😎 надо на голову металлический экран надевать по ночам 😀

sergeb | Post:152271 - Date: 29.12.08(16:27)
А правда в этом генераторе нет обратной связи? т.е. когда наведенный ток совершает работу, это слабо влияет на штуковину, двигающую диэлектрик?

lazj | Post:152314 - Date: 29.12.08(18:08)
не проверяла, не могу ничего сказать... но при рассмотрении своей идеи изучи его (Хайда) работу... вредно не будет... где-то тут был вроде на Скифе.

_________________
"Наука - это то, чего быть не может. То что может быть - это уже технический прогресс" (П.Л. Капица) "Делай, что должно и будь, что будет.."


sergeb | Post:152315 - Date: 29.12.08(18:15)
Ага, я уже вижу. Генератор почти тот же что я предложил, только в цепь где у меня амперметр воткнули какой то умножитель напряжения.




Размер: 73.47 KB

lazj | Post:152333 - Date: 29.12.08(19:14)
Это ты картинку Тестатики прислонил, аффтар Бауман... У Хайда немного по другому. Мне просто долго у себя рыться... если счас набреду, то пришлю...

_________________
"Наука - это то, чего быть не может. То что может быть - это уже технический прогресс" (П.Л. Капица) "Делай, что должно и будь, что будет.."


lazj | Post:152335 - Date: 29.12.08(19:19)
откопался... вот...
d50b00.zip
Размер: 597.29 KB

_________________
"Наука - это то, чего быть не может. То что может быть - это уже технический прогресс" (П.Л. Капица) "Делай, что должно и будь, что будет.."


queet | Post:152337 - Date: 29.12.08(19:21)
Во чё говорят:

Лет 10 назад машину Баумана ее изобретатели пытались продавать, сам видел на их сайте. Только потом разразился скандал, когда журналисты засняли обычную электроподводку к этой общине и опубликовали счета за электроэнергию, которые они оплачивали. После этого они "продавать" машину Баумана перестали...
😬

lazj | Post:152339 - Date: 29.12.08(19:24)
Извини не посмотрела... кусочек Хайда там тоже есть, но патент тебе не помешает?

_________________
"Наука - это то, чего быть не может. То что может быть - это уже технический прогресс" (П.Л. Капица) "Делай, что должно и будь, что будет.."


lazj | Post:152340 - Date: 29.12.08(19:32)
queet Пост: 152337 От 29.Dec.2008 (16:21)
Во чё говорят:

Лет 10 назад машину Баумана ее изобретатели пытались продавать, сам видел на их сайте. Только потом разразился скандал, когда журналисты засняли обычную электроподводку к этой общине и опубликовали счета за электроэнергию, которые они оплачивали. После этого они "продавать" машину Баумана перестали...
😬



Может оно и так, а может и не так... Про Тесла тоже говорили, что связался с Сатаной, наверное и текст договора кто-то приводил... Журналист ведь существо по своему тоже несчастное, зависит он от того читают его или нет. Эль скандаль для него просто хлеб насучный. так, что слушать их можно, но верить сложно.

_________________
"Наука - это то, чего быть не может. То что может быть - это уже технический прогресс" (П.Л. Капица) "Делай, что должно и будь, что будет.."


Ivan | Post:152343 - Date: 29.12.08(20:03)
lazj Пост: 152182 От 28.Dec.2008 (22:31)
[ссылка]

Продолжая идею: в таком случае тр-ры Теслы представляют собой ТР-РЫ ВЛИЯНИЯ, А НЕ ПЕРЕДАЧИ ЭНЕРГИИ- и не более, а работу в этих тр-рах совершает... окружающая среда. Именно поэтому у этих тр-ров нет связи первички со вторичкой: на вторичку энергия приходит ИЗВНЕ.
Примерно то же самое и говорит Бедини в фильме, к-й выставила Алёна в ветке "Бедини" (в конце фильма)😊.

_________________
Наука – это несомненное сумасшествие, занятое классификацией своих собственных галлюцинаций. Поэтому не удивительно, что люди науки отвергают исследования, которые считают чужими галлюцинациями. Амиель


sergeb | Post:152405 - Date: 30.12.08(01:23)
Да, Транс Теслы блин загадочный. Создал отдельный топег со своими сображениями и вопросами

[ссылка]

Велкам.

Eduard | Post:152682 - Date: 30.12.08(23:47)
lazj, ну ты бы хоть краткий анонс дала, что за информационные поля такие. Название такое, что мне жалко и 20 копеек потратить, не то что 20 рублей на скачивание.

_________________
И мню аз яко то имать быть, что сам себе всяк может учить.


sergeb | Post:154981 - Date: 09.01.09(23:02)
Первый опыт пока безрезультатен

lazj | Post:155037 - Date: 10.01.09(02:23)
Eduard Пост: 152682 От 30.Dec.2008 (20:47)
lazj, ну ты бы хоть краткий анонс дала, что за информационные поля такие. Название такое, что мне жалко и 20 копеек потратить, не то что 20 рублей на скачивание.



А это мысли Вани изложенные статьей. Если жалко, так и не качай, кто ж заставляет?

_________________
"Наука - это то, чего быть не может. То что может быть - это уже технический прогресс" (П.Л. Капица) "Делай, что должно и будь, что будет.."


ALEX29 | Post:155041 - Date: 10.01.09(03:29)
помоему не учтена механическая работа по удалению влияющего тела после того как разделенный заряд совершит работу

sergeb | Post:155066 - Date: 10.01.09(11:42)
Собираюсь собрать генератор Хайда. В патенте вроде разобрался, подчерпнул новые идеи.

Кто нить собирал его уже? Реально сверхединичник?

sergeb | Post:155073 - Date: 10.01.09(12:28)
Вынужден констатировать. Самый первый рисунок в топике и его обсуждение - опыт эксперементально провалился. Мой китайский мультиметр на делении 2000 мкА не фиксировал никакого тока.

Расстояние между большими пластинами было 5см, между маленькими 3 см. Маленькие были замкнуты дабы изолировать поле. Напряжение на больших пластинах было в районе 3-10 кВ от генератора Вимшурста. К сожалению заряд очень быстро стекал - воском пластины заливать было жалко, приходилось постоянно крутить педаль ))

Во время изменения напряжения на внешних пластинах мультик регистрировал ток в десяток микроампер.

Далее, смотрим аттаченый рисунок. Концепция Хайда, как оказалось.

Диэлектрика D у меня не было пока. Вместо этого я экранировал поле "натуральным" способом - закорачивая внешние пластины 😈

Расстояние от внешней пластины к внутренней было порядка 1-2см. При резком изменении внешнего поля с десятка киловольт до нуля, амперметр регистрировал ток КЗ до нескольких миллиампер и скачок напряжения (не-КЗ) до 2000 вольт.

Конечно все это на глаз и судить пока о чем то сложно. Да и мультик - что он может? Показывает какие то мгновенные пики, по которым трудно о чем то говорить.

Но можно сказать: там что то есть.


Размер: 15.87 KB

Vladislav | Post:184643 - Date: 08.06.09(22:37)
Из приведенной на рисунке
image
схемы электростатической системы, согласно известным (и проверенным!) человечеству законам электродинамики следует, что в проводнике, внесённым в область действия электрического поля постоянной напряжённости, на свободные электроны в кристаллической решётке проводника будет действовать сила, до тех пор, пока она не уравновесится силой взаимодействия электрического поля положительных узлов решётки и поля отрицательно заряженного электронного газа. В момент появления электрического поля в участке неэкранированного проводника будет наблюдаться кратковременный ток. Но он прекратится в то же мгновение, когда настпит электродинамическое равновесие системы "внешнее электрическое поле+кристаллическая решётка проводника+электронный газ".

_________________
Нельзя сказать "плохо", или "хорошо", покуда вы не уверены, что понимаете задачи, которые ставит автор, и средства, которыми он пользуется. (Л. Мигдал)


<] [ 1 | 2 | 3 ] [>
У Вас нет прав отвечать в этой теме.
Форум - Электростатические генераторы - Электростатика - Использование электростатического поля - Стр 2
🏠 Главная | 📚 Содержание | 💬 Форум | 📁 Файлы | 📩 Контакт