[ВХОД]

30.03.26(11:46)

mob.skif.biz

Альтернативная энергия. Оставь надежду, всяк сюда входящий...

🏠 Главная | 📚 Содержание | 💬 Форум | 📁 Файлы | 📩 Контакт

🖥️ | 🖨️

Форум - Резонансные генераторы - Прочие резонансные генераторы - Генератор Эдвина Грея - практическая реализация - Стр:1
[ 1 | 2 | 3 | 4 | 5 | 6 | 7 | 8 | 9 | 10 | 11 | ... | 118 ] [>
Модератор: GRiO
GRiO | Post:61419 - Date: 13.03.07(00:45)
Остановил свой выбор на генераторе Эдвина Грея. Это один из наиболее полно описанных генераторов. Этап подготовки позади и сейчас осталась самая малость - заставить его работать, так как надо 😀

Схема собрана, устойчивая искра идет. Генерацию импульса сделал на вакуумном триоде. Импульсы шириной 20msec, частота импульсов 120Hz. Напряжение на разряднике ~2.5KV
Т.е. все условия для возникновения радиального электричество созданы.
Дело за малым, осталось снять его и преобразовать в обычное электричество.

Нормального описания выходного транса мне найти не удалось, поэтому делал руководствуясь фотографиями стендов г-на Грея и Гарри Магрэттена.
Диаметр трубы - 110мм, Первичная обмотка ~500 витков, медный провод 0.5, уложены друг к другу в один слой, вторичная (силовая) - 34 витка антенным проводом.

При работе на вторичной обмотке выходного транса - 3.2 вольта переменки. Скорее всего, просто наводки. Пытаюсь разобраться в чем причина. Что нужно исправить, что бы система заработала.

Сейчас играюсь с частотой импульсов, пока без интересных результатов.

Фотки и схему прилагаю.

стенд
Размер: 105.08 KB

разрядник (CSET)
Размер: 36.50 KB

Fema | Post:61423 - Date: 13.03.07(01:31)
А кусочек графита не забыли вставить в электрод для искры? (может там ядерные реакции в графите дают энергию)
А саму искру разве не надо упрятать под сетки.(может сама искра что то излучает тоже)
А напряжение может стоит увеличить хотя-бы до 4кв? (а вдруг искра будет не такая жирная как требуется)


Размер: 67.48 KB


Размер: 26.22 KB

GRiO | Post:61424 - Date: 13.03.07(01:47)
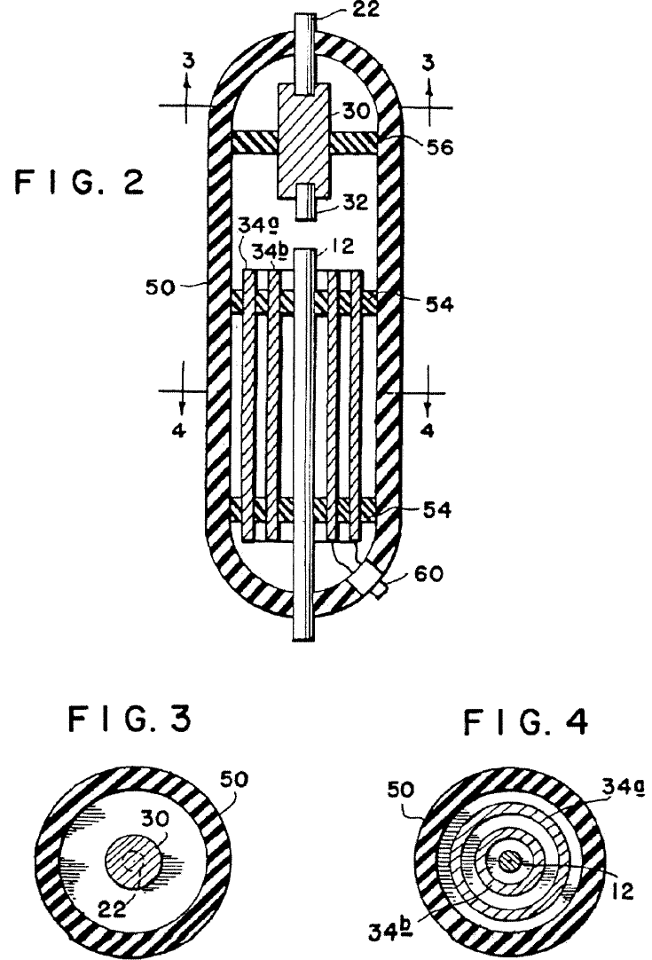
Как я понял, графит - всего лишь сопротивление. Вообще очень странно, что его включили в схему CSET, т.к. смыл его в составе трубки совершенно не ясен. Искру под сетки прятать, похоже, не надо. Вот патент Грея на CSET, он несколько отличается от набросков г-на Магрэттена.
Другими словами, ты считаешь, что проблема в конверсионной трубке, а не в индуктивной нагрузке на выходе с нее?

повысить напряжение.. хорошая мысль, возможно, стоит попробовать.


конверсионная трубка (патент Грея)
Размер: 43.29 KB

Fema | Post:61426 - Date: 13.03.07(02:13)
Я думаю, что присутствие графита важнее всего, так как есть еще несколько экспериментов с выделением лишней энергии с использованием искры - так вот общее среди всех таких экспериментов я вижу присутствие именно графита как один из элементов разрядника. А в патентах мне кажется рисуют чуть-чуть не то, что бы не так быстро смогли повторить идею. В патенте главное как словами формулу идеи описали.


Размер: 25.93 KB

MSN | Post:61427 - Date: 13.03.07(02:41)
Совет:
изучите оригинал, - Грея, на труды Линдеманна можно пописать и забыть, он еще тот Лука Мудищев, только народ с пути истинного сбивает.
Сначала начните обсуждать Грея, с раннего и до конца, затем прийдет понимание, а так искрить без НИКАКОГО понимания зачем это и к чему ?
Толку никакого.
Если согласны обсуждать, могу поделится неокоторыми материалами.

_________________
Говорите говорите, я всегда зеваю когда мне интересно. 99,9% всех СЕ устройств, - от неправильных измерений


GRiO | Post:61431 - Date: 13.03.07(03:42)
Если есть русскоязычный Грей - буду премного благодарен за материалы.

Линдеманну респект. Объяснил все очень доступно. Возможно, его размышления не соответствуют истине, но именно по его труду, сделал свой девайс г-н Магрэттен. И, вроде, девайс работает. Конечно, лучше изучать оригинальные материалы изобретателя, но он ведь, наверняка, ни раз cхитрил в описании 😏

Относительно понимая процессов, уверен, что оно придет не только на основе изучения чужих публикаций и научных трудов, но больше на основе экспериментов и практической реализации изобретений.

MSN | Post:61432 - Date: 13.03.07(04:20)
Линдеманну респект. Объяснил все очень доступно. Возможно, его размышления не соответствуют истине


Вот именно, сплошные догадки

но именно по его труду, сделал свой девайс г-н Магрэттен. И, вроде, девайс работает


Работает, следующим образом : ж.ж.ж....
Материалы в ближайшее время выложу.

_________________
Говорите говорите, я всегда зеваю когда мне интересно. 99,9% всех СЕ устройств, - от неправильных измерений


KDas | Post:61483 - Date: 13.03.07(12:21)
повтор

Sergh | Post:61497 - Date: 13.03.07(13:25)
1.Угольный резистор при таком напряжении и токе должен очень сильно шуметь на СВЧ. Это то же самое что магнетрон в радиолокаторе, за которым наблюдал Грей. Уголь должен быть герметизированный, иначе сгорит, и не графит, обычный активированный уголь дает то сопротивление при тех размерах. Можно попробовать древесный.
2.Обкладки конденсатора эмулируют поверхность Земли и ионосферу. Конденсатор должен быть "бумажный", в смысле рулонный, в кол-ве 1 штука на один коммутатор. Кондер нельзя ничем шунтировать, в смысле доп. ВЧ конденсаторами. Кондер - очень критичный элемент, возможно надо пробовать с разными типами.
3.Длительность импульса при применении угольного резистора вероятно большой роли не играет, главное чтобы лампа выдержала. Спад импульса без резистора должен быть не более 10 наносекунд, тогда получаем эхо-импульс из конденсатора как минимум тройного напряжения длительностью 100 - 120 наносекунд, проверено. Поэтому длинный электрод высоковольтным анодом и назван Греем. Длительности импульсов надо подбирать экспериментально исходя из желаемого энергобаланса.
4. Сетки и их нагрузка должны эффективно "поглощать" импульс чтобы тройным напряжением не пробило кондер или лампу. Страховка при недостаточно эффективном поглощении, например при отключенной нагрузке - внешний дополнительный разрядник (в патенте).
5. Выходной транс должен позволять без потерь понижать напряжение коротких импульсов. Типичный такой транс - выходной широкополосный трансформатор для КВ-передатчиков, намотанный коаксиалом на НЧ-феррите, первичка -центральная жила, вторичка - оплетка или ее часть.
6. Очень вероятно что центральный длинный электрод мог быть подогреваемый, тогда смысл его и сеток - аналог газового выпрямителя(газотрон), клапан, который пропускает только верхнюю, более положительную часть импульса в нагрузку, не давая конденсатору разряжаться.

lazj | Post:61605 - Date: 13.03.07(21:24)
MSN Пост: 61427 От 13.Mar.2007 (02:41)
Совет:
изучите оригинал, - Грея, на труды Линдеманна можно пописать и забыть, он еще тот Лука Мудищев, только народ с пути истинного сбивает.
Сначала начните обсуждать Грея, с раннего и до конца, затем прийдет понимание, а так искрить без НИКАКОГО понимания зачем это и к чему ?
Толку никакого.
Если согласны обсуждать, могу поделится неокоторыми материалами.


А где есть оригинал?
Чтобы обсуждать, хотелось бы иметь основу на которой рассуждать.
Что касается Линдемана - эффекты описанные им, по крайней мере внешне, соответствуют описаниям эффектов получаемых Тесла (так, что параллель с Греем он провел правильно... мне так кажется)... Вобщем-то все, что он пишет вроде логично... А почему Вы так на него... может более развернуто можно?

А материалами поделиться... ну это было бы щедро 😊, материалов их всегда не хватает...

_________________
"Наука - это то, чего быть не может. То что может быть - это уже технический прогресс" (П.Л. Капица) "Делай, что должно и будь, что будет.."


proube | Post:61611 - Date: 13.03.07(23:13)
Мне тут в руки прыгнула книжка "занимательная ядерная физика" Мухина 1972 г.,может чего вычитаю.
На данный момент понял,что т.к. ваш разряд это плазма ,а плазма -четвертое состояние вещества ,то надо это учитывать в моделирование того что там может происходить.++++++Плазма состоит не из атомов,а непосредственно из ядер(или ионов) и электронов ,не связанных между собой. И в этом все сводится к свойствам протонов ,нейтронов и электронов.
Нейтрон из-за отсутствия у него электрического заряда электромагнитное взаимодействие у него проявляется относительно слабо (только за счет наличия магнитного момента) . Основными видами взаимодействия нейтронов является упругое и неупругое рассеяние нейтронов ядрами и ядерный захват. Относительная вероятность этих процессов зависит от свойств среды и энергии нейтронов . Известно ,например ,что быстрый (Т-2 Мэв) нейтрон ,попавший в графит ,испытывает серию упругих соударений с ядрами углерода и постепенно теряет свою кинетическую энергию (замедляется) ,пока (примерно через 110-120 соударений) она не сравняется с энергией теплового движения атомов.(вспомните способ заглушения атомных реактров). Такие нейтроны называются тепловыми. Кинетическая энергия таких электронов зависит от температуры среды(замедлителя) .+++++ Вернее ,наверно обратная зависимость. Т.е. с графитовыми электродами энергию разогнанных нейтронов плазмы мы трансформируем в тепловую энергию графита ,попросту они будут нагреваться,успокаивая элементарные частицы. Которую можно вытащить допустим с помощью термоэлектрическим элементов ,КПД которых очень низка ,может только современные ,которые применяются в водородных автомобилях.
А если мы хотим вытащить энергию ядерных взаимодействия ,что по любому больше ,то про углерод надо забыть наверно . Тут есть табличка 5 вариаций ядерных реакции под действием заряженных протонов разных энергий с литием . Так вот ,нат выходе этих реакций энергия колеблется от отрицательной (эндоэнергетическая)(потреблеение) -1,65 Мэв ,до положительной (экзоэнергетической)(освобождение) + 17,3 Мэв. (это прилично).
Следовательно не всегда энергия рекомбинации больше энергии развала. А зависит от уровня начальной энергетической накачки .

_________________
"Кролики - это не только ценный мех..."


GRiO | Post:61613 - Date: 13.03.07(23:23)
Заменил центральный стальной стержень с 5мм на 2мм велосипедную спицу, поставил в разрыв графитовый стержень, как на патенте конверсионной трубки. Искровой промежуток пришлось сократить до ~0.8мм. Искра стала скромнее. Цифровой тестер больше ничего не показывает - выдает ошибку измерения. Лампочки не светятся. Ищу стрелочный тестер.

Да, вот еще что. В медных трубках дырки я не сверлил т.к. не нашел этому адекватного обоснования. Лидеманн лишь предполагает, что там могла бы быть сетка, а Магрэттен пишет, что отверстия в меди вообще не нужны.

Так.. переходим к древесному углю? 😀 ))


proube | Post:61615 - Date: 13.03.07(23:33)
Лучше взять ,мне кажется ,металл на оболочке которого много ,а соответственно неустойчиво сидящих электронов . Например сварочные вольфрамовые электроды (их (электронов)там 6 шт).,продаются по 50-80 руб шт. Не зря спираль лампочек накаливания делают из вольфрама ,хотя он хрупок ,и тонкую проволоку трудно делать. А лампочки и фотоны дают и тепловое излучение . И вообще Фролов предполагает ,что виной избыточного выхода молекулярных реакций в той лампе ,является развал ,а затем рекомбинация молекул закаченного газа на вольфрамовой проволоке накаливания. (См. в файлах не помню какой журнал "Новая энергетика" ).
Еще : число протонов в ядре совпадает с его порядковым номером Z в периодической системе элементов,числот нейтронов равно N=A-Z ,где А-массовое число.

_________________
"Кролики - это не только ценный мех..."


Sergh | Post:61705 - Date: 14.03.07(15:20)
Графит шуметь на СВЧ наверное не будет.
У него и сопротивление почти 0.
Импульсы U*3 из кондера получить не так просто, надо резкие спады.

sharp | Post:61708 - Date: 14.03.07(15:30)
У угольного резистора есть интересное свойство:
при постоянном токе сопротивление большое, а при переменном маленькое.

lazj | Post:61736 - Date: 14.03.07(16:40)
GRiO Пост: 61419 От 13.Mar.2007 (00:45)
Остановил свой выбор на генераторе Эдвина Грея. Это один из наиболее полно описанных генераторов. Этап подготовки позади и сейчас осталась самая малость - заставить его работать, так как надо 😀

Схема собрана, устойчивая искра идет. Генерацию импульса сделал на вакуумном триоде. Импульсы шириной 20msec, частота импульсов 120Hz. Напряжение на разряднике ~2.5KV



20 msek это микросекунды? За это время успеет установиться "дуга проводящая в обе стороны" и "ударного" воздействия не получить... кроме того в схеме Линдемана меня смущает направление этого "удара", по идее он должен быть односторонне направленный и направлен должен быть как раз наоборот на ту часть, где стоит устройство сбора (то есть создание "высокой плотности тока")... в схеме Линдемана "удар" идет от нее... может конечно и все правильно, но тогда я снова не поняла сути .

Т.е. все условия для возникновения радиального электричество созданы.
Дело за малым, осталось снять его и преобразовать в обычное электричество.


Да вот если условия созданы, то должен бы быть выход... значит условия созданы не все или неправильно... Наверное надо бы поступить по принципу пошаговой отладки... только получив продольную волну на участке под сетками (а соответственно выход на сетках) можно идти дальше...
(как это сделать? не знаю... (пока надеюсь)) Но без этого, все это не больше чем "искрение", как говорилось...

<Нормального описания выходного транса мне найти не удалось, поэтому делал руководствуясь фотографиями стендов г-на Грея и Гарри Магрэттена.
Диаметр трубы - 110мм, Первичная обмотка ~500 витков, медный провод 0.5, уложены друг к другу в один слой, вторичная (силовая) - 34 витка антенным проводом.При работе на вторичной обмотке выходного транса - 3.2 вольта переменки. Скорее всего, просто наводки. Пытаюсь разобраться в чем причина. Что нужно исправить, что бы система заработала.

Сейчас играюсь с частотой импульсов, пока без интересных результатов..


Вообще-то в описании Линдемана говорилось про высоковольтный провод или чего-то пропустила?
Вообще-то именно сетки являются преобразователем (по замыслу Линдемана) продольной волны в привычный ток... а потом его уже можно преобразовывать, как хочешь на индуктивностях или на емкостях...
Важно получить эффект на сетках, а с частотами можно играться, сколько угодно , если "ударом" не разделить носители, то никакие частоты ничего не дадут. Пусть даже в единичном импульсе, но фиксируемый эффект...

_________________
"Наука - это то, чего быть не может. То что может быть - это уже технический прогресс" (П.Л. Капица) "Делай, что должно и будь, что будет.."


proube | Post:61740 - Date: 14.03.07(16:53)
Угольная жила современного автомобильного высоковольтного провода представляет тонкую нитку ,частота 200 Гц ,а энергии передает прилично. Вихревые свойства угля оцениваются в тысячи раз больше чем у металлов ,может поэтому уголь хороший проводник ,но в данной конструкции это свойство возможно не поможет вытащить какую то непонятную дополнительную энергию.

_________________
"Кролики - это не только ценный мех..."


GRiO | Post:61766 - Date: 14.03.07(17:50)
Да. Действительно нашел ошибку. Спасибо, lazj. Конечно же Линдеманн говорил про микро-секундный импульс, а я даю мили-секундный.
Ага.. это в работе...

Касательно направления удара, я уже думал на эту тему и, есть основания полагать, что у Грея она была подключена иначе, чем предлагает это сделать Линдеманн. Можно обратить внимание на нумерацию элементов трубки в патенте Грея. Логично было бы нумеровать элементы по ходу движения заряда, ведь так?

С углем еще не экспериментировал. Магию оставим на сладкое 😀

volypok | Post:61767 - Date: 14.03.07(17:54)
GRiO Пост: 61419 От 13.Mar.2007 (00:45)
Напряжение на разряднике ~2.5KV

в одной из веток про Теслу и радиант упоминалось напряжение в 4000В как минимально необходимое для выброса радианта. Если хотите, попробую найти соотв. посты
кроме того, вот цитата из Линдемана:
На рис. 24 (и цветной фотографии, расположенной на задней обложке), Эд Грей изображён на встрече со своими акционерами. На увеличенной фотографии с задней обложки можно чётко увидеть его “волшебный компонент”. Из этой фотографии можно получить много информации об этом устройстве; в частности, размеры конверсионной элементной переключающей трубки, которую я сейчас называю Электрорадиантным Приёмопередатчиком. Ясно виден ряд из трёх конверсионных трубок, каждая из которых питается разрядом от своего конденсатора. Можно разглядеть три очень больших конденсатора. Я отсканировал эту фотографию, и когда посмотрел на маркировку конденсаторов под максимальным увеличением, то увидел надписи “2 микроФарада” и “4000 Вольт постоянного тока”.
выделенно мной

_________________
we the willing, led by the unknowing, are doing the impossible for the ungrateful. We accomplished so much with so little we are capable to do anything with nothing


GRiO | Post:61772 - Date: 14.03.07(18:07)
4KV - это понятно. Значит в системе у него было чуть меньше.
По прикидкам, у меня сейчас в районе 3-х, но померить нечем.

нашел инфо, как сделать киловольтметр:

Набирается гирлянда резисторов как можно большим сопротивлением, последовательно с ней - микроамперметр. Сам собрал такой прибор из микроамперметра М42 на 100 мкА 1964 г.в. и гирлянды резисторов общим сопротивлением 100 МОм (100 шт по 1 МОм). Получился очень неплохой киловольтметр. Меряет до 10 кВ постоянки, реально мерял до 4.6-4.8, цена деления - 200 вольт.


еще не пробовал, но сделать надо.

sharp | Post:61777 - Date: 14.03.07(18:23)
proube, что-то я не помню, чтобы в высоковольтном автомобильном проводе была угольная жила...
там есть тоненькая металлическая проволочка...
кроме того, о какой энергии идет речь? В первички катушки зажигания идет ток до 10А. Ток в высоковольтном проводе в тысячу раз меньше.
А угольный резистор, наверняка, не просто так в конверсионной трубке Грэя близко к разрядному промежутку...
Исходя из информации о возрастании сопротивления угля при постоянном токе, скорее всего, происходит увеличение сопротивления, когда ток принимает более постоянное значение...

proube | Post:61780 - Date: 14.03.07(18:43)
sharp Пост: 61777 От 14.Mar.2007 (18:23)
proube, что-то я не помню, чтобы в высоковольтном автомобильном проводе была угольная жила...
там есть тоненькая металлическая проволочка...
кроме того, о какой энергии идет речь? В первички катушки зажигания идет ток до 10А. Ток в высоковольтном проводе в тысячу раз меньше.

Например Финвайл ,это написано на коробке .
Насчет маленького тока я слышу песню в который раз. Причем здесь маленький ток. Частоты не высокие ,поэтому говорить о поверхностном высокочастотном распространении не имеет смысла. Энергия то передаётся сушественная .А передается она током или напряжением или их произведением за единицу времени (по классической формуле)не имеет значения. Не может маленькая ЭНЕРГИЯ пробивать воздушный зазор (вы же не будете спорить ,что воздух прохой изолятор) в 3-4 см. У меня на машине мноискровая система вообще пробивает 7 см ,а на свече это уже не искра ,а плазменный шнур.

_________________
"Кролики - это не только ценный мех..."


lazj | Post:61784 - Date: 14.03.07(18:55)
Вот за свойства угля спасибо - не знала... прикольная штюк может получацца... То есть он может пропускать как бы импульс и гасить загоревшуюся постоянную дугу?
А то я тут с магнитным прерывателем мучаюсь...


_________________
"Наука - это то, чего быть не может. То что может быть - это уже технический прогресс" (П.Л. Капица) "Делай, что должно и будь, что будет.."


GRN | Post:61787 - Date: 14.03.07(19:08)
lazj Пост: 61784 От 14.Mar.2007 (18:55)
Вот за свойства угля спасибо - не знала... прикольная штюк может получацца... То есть он может пропускать как бы импульс и гасить загоревшуюся постоянную дугу?
А то я тут с магнитным прерывателем мучаюсь...



Лапочка! Не мучайся. Гасят дугу в контакторах профессионально. Лучше сложно придумать. Там и постоянные магниты и электромагниты "выдувающие" дугу и "рога" ее охлаждающуюю. Можно найти контактор, где есть весь комплекс гашения. О дугогасительных камерах я уже и не заикаюсь. Уголь только способствует горению дуги. Физ. процессы об этом говорят. Слишком много из этого рыхлого материала вылетает и все оно тяжелое - это Вам не электроны, а молекулы, да еще поляризованные. Для сварки - самое то!!! Гасить такую дугу вовремя - это не каждый сварщик справляется.

_________________
Умер 22.09.2007 от остановки сердца.


lazj | Post:61788 - Date: 14.03.07(19:15)
GRN Пост: 61787 От 14.Mar.2007 (19:08)


Лапочка! Не мучайся. Гасят дугу в контакторах профессионально. Лучше сложно придумать. Там и постоянные магниты и электромагниты "выдувающие" дугу и "рога" ее охлаждающуюю. Можно найти контактор, где есть весь комплекс гашения. О дугогасительных камерах я уже и не заикаюсь. Уголь только способствует горению дуги. Физ. процессы об этом говорят. Слишком много из этого рыхлого материала вылетает и все оно тяжелое - это Вам не электроны, а молекулы, да еще поляризованные. Для сварки - самое то!!! Гасить такую дугу вовремя - это не каждый сварщик справляется.


Вот если бы еще эти гасители в руках повертеть, да "на зуб" попробовать... а где я их возьму... Угольным электродом никогда не варила... тлолько полуавтоматом...😘 мда... ладно скумекаем. что-нить... а кто-то обещал матеоиалы какие-то...

Ой! это не к Вам

_________________
"Наука - это то, чего быть не может. То что может быть - это уже технический прогресс" (П.Л. Капица) "Делай, что должно и будь, что будет.."


[ 1 | 2 | 3 | 4 | 5 | 6 | 7 | 8 | 9 | 10 | 11 | ... | 118 ] [>
У Вас нет прав отвечать в этой теме.
Форум - Резонансные генераторы - Прочие резонансные генераторы - Генератор Эдвина Грея - практическая реализация - Стр 1
🏠 Главная | 📚 Содержание | 💬 Форум | 📁 Файлы | 📩 Контакт