[ВХОД]
24.04.26(22:02)

mob.skif.biz

Альтернативная энергия. Оставь надежду, всяк сюда входящий...

🏠 Главная | 📚 Содержание | 💬 Форум | 📁 Файлы | 📩 Контакт
 
Резонансные генераторы
Магнитные генераторы
Механические центробежные (вихревые) генераторы
Электростатические генераторы
Водородные генераторы
Ветро- и гидро- и солнечные генераторы
Прочие идеи (разные)
О форуме
Транспорт
Оружие
Научные идеи, теории, предположения...
Экономия топлива
Коммерческие вопросы
Струйные технологии
Торсионные генераторы
Новые технологии
Барахолка
Патентный отдел
Конструкторское бюро
Нейтронная физика
Торнадо и смерчи
Гравитация и антигравитация
Сделай сам. Советы.
Медицина и здравоохранение

🖥️ | 🖨️

Форум - Магнитные генераторы - Генератор Хаббарда - Испытания генератора Хаббарда - Стр:149
<] [ 1 | ... 139 | 140 | 141 | 142 | 143 | 144 | 145 | 146 | 147 | 148 | 149 | 150 | 151 | 152 | 153 | 154 | 155 | 156 | 157 | 158 | 159 | ... | 201 ] [>
Модератор: Gecko
Первый пост темы: Gecko Post: #108 От:08.04.2004 (17:49)
Насчет отрицательных результатов - могу вас порадовать, я лично пробовал собрать генератор Хаббарда( Если кому-то интересно могу рассказать, что я брал, сколько витков мотал, в общем все числовые данные на эту тему. Для неверующих могу прислать фотку, он у меня еще где-то лежит smile ), так вот, он успешно не работает. Второй конденсатор для резонанса я не ставил, мне и так стало ясно, что не выйдет. Может, конечно, я что-то не так собрал, или материалы у меня не те были (сердечники, к примеру, надо какие-то особые или еще чего), не работает он у меня, и все тут !
Вам бы на форуме надо добавить раздел теоретических рассуждений,
для обсуждения общих принципов работы всех этих сверьединичных устройств, а так же принципов, из-за которых они не работают
sharp | Post:345418 - Date: 11.01.12(21:45)
Этого никто не знает.
Информации вообще практически нет.

mult | Post:345479 - Date: 12.01.12(10:23)
Всем-здасьте! Всех с Новым годом и Рождеством! Кто-нибудь скажите,если знаете,или есть догадки-какой эл.двигатель стоял на лодке(тип,вид,исполнение...) Вычитал что двигатель был "переделан для работы скатушкой Хаббарда" Асинхронник? Коллекторный(более вероятно)? Доп.полюса?...???? Зачем 4 провода?? 😘😨

shkaf | Post:345492 - Date: 12.01.12(12:01)
mult
Щас я тебя успокою и все твои вопросы отпадут сами собой.
Все сходится к тому что у хаббарда был двигатель асинхронный причем многофазный более того не на 50гц а более высокочастотный !! может 400 может 500гц он меньше с массой и габаритами. Но для него нужен преобразователь, вот хитрый Хаббард с сделать такой преобразователь из 12 или 24 вольт от аккумулятора в более высоковольтное переменное многофазное.
Т.е НИЧЕГО СВЕРХЕДЕНИЧНОГО НЕ БЫЛО, был просто хороший преобразователь и хороший экономичный двигатель.

_________________
На Бога уповаем. http://www.skif.biz/files/e5a7f3.jpg


TIP | Post:345496 - Date: 12.01.12(12:25)
shkaf
Т.е НИЧЕГО СВЕРХЕДЕНИЧНОГО НЕ БЫЛО, был просто хороший преобразователь и хороший экономичный двигатель.


И как этот преобразователь работал два часа, когда источник энергии оставался на берегу? Ответишь правильно, Нобелевка обеспечена!

queet | Post:345510 - Date: 12.01.12(14:27)
shkaf Пост: 345492 От 12.Jan.2012 (12:01)
Т.е НИЧЕГО СВЕРХЕДЕНИЧНОГО НЕ БЫЛО, был просто хороший преобразователь и хороший экономичный двигатель.
И еще два прицепа с аккумуляторами 😎

s_chechel | Post:345511 - Date: 12.01.12(14:30)
Это valeralap написал еще в 2006 году:
Попробую ответить на поставленный вопрос. Первое, вечный двигатель, то есть его принцип не противоречат закону сохранения энергий это просто конверторы окружающей среды ,преобразующие нетрадиционное топливо в электричество. К примеру, свет ,тепло и.т.д. Существуют масса направлений, позволяющее реализовать эти устройства. Но тут вмешивается человеческий фактор Не одно из устройств даже хитро замаскировав нельзя запатентовать изобретатель сразу попадает под контроль структур и мафий готовой поживится халявой. Что бы запатентовать, нужно обосновать, а это можно сделать, только написав совершенно новый подход. Да, такая физика давно есть, но ее нельзя опубликовать все мировое физическое сообщество почувствует себя абосраными сверх до низу. А это люди умные в среде ученных очень много интриг и новому выскочке некогда не дадут пробиться. Сначала устроят молчаливую забастовку, а потом, преобразовав идеею, выдадут как свою. Остается один путь выкладывать все просто без всякой корысти на благо всего человечества. Но это настолько сложный вопрос, что только конченный придурок, может так сделать но придурок не когда и не получит такие знания. Почему так сказал, задаю лично тебе, ты сам стал бы продавать, имея доступ, уран 238 валентности и технологию изготовления атомной бомбы всем желающим? Предвижу ответ, нет не стал. Можешь возразить только хорошим, гуманным, которые будут все делать правильно, а где видел, правильных. Все живут только своими интересами даже ты задавший вопрос посмотри в глубину своей души, зачем ты пришел за знаниями нет пришел тоже с какой то корыстной целью. Так что успокойтесь, собирайте крупицы, кто дойдет, делайте себе отопление все втихаря, для вида платите за электричество, чтоб на вас не обратили внимание, и все будет хорошо. Большие знания и открытия всегда попадают под контроль политиков и военных так устроено наше общество. Малость сумбурно, и с переходом на ты, но это для убедительности, нечего личного.

[ссылка]

street | Post:345519 - Date: 12.01.12(15:33)
Ekaterina Пост: 345395 От 11.Jan.2012 (18:49)
ВСЕМ привет , ТАКОЙ ВОПРОС НА ФОТО С ЛОДКОЙ КАБЕЛИ ОТ ГЕНЕРАТОРА ИДУТ К НОСУ ЛОДКИ-ЧТО ТАМ ?????

Начни с фото,... с кобелями позже определимся.

_________________
Главное в мелочах


Achiever | Post:345528 - Date: 12.01.12(16:21)
mult Пост: 345479 От 12.Jan.2012 (10:23)
Всем-здасьте! Всех с Новым годом и Рождеством! Кто-нибудь скажите,если знаете,или есть догадки-какой эл.двигатель стоял на лодке(тип,вид,исполнение...) Вычитал что двигатель был "переделан для работы скатушкой Хаббарда" Асинхронник? Коллекторный(более вероятно)? Доп.полюса?...???? Зачем 4 провода?? 😘😨
Где вычитал - трудно разве кусок текста вставить? А то опять "одна бабка сказала".

shkaf | Post:345535 - Date: 12.01.12(16:56)
TIP Пост: 345496 От 12.Jan.2012 (12:25)
shkaf
Т.е НИЧЕГО СВЕРХЕДЕНИЧНОГО НЕ БЫЛО, был просто хороший преобразователь и хороший экономичный двигатель.


И как этот преобразователь работал два часа, когда источник энергии оставался на берегу? Ответишь правильно, Нобелевка обеспечена!

Да легко работал 2 часа!! Акумулиторов не было В ЛОДКЕ, но ПОД ДНИЩЕМ лодки сколько угодно можно подвешать аккумуляторов, хватит не только на 2 дня а не только на 2 часа. Акумулятор который был в лодке демонстративно оставили на берегу и поехали на резервном который был под водой.
Все аналогичные "СЕ" устройства так и устроены, будь то капанадзе с фазой в штанине, хаббард с акумуляторами по водой и прочие иллюзионисты ))

_________________
На Бога уповаем. http://www.skif.biz/files/e5a7f3.jpg


TIP | Post:345543 - Date: 12.01.12(17:39)
shkaf но ПОД ДНИЩЕМ лодки сколько угодно можно подвешать аккумуляторов, хватит на 2 дня, а не только на 2 часа.

Все верно, комиссия то была глупа, и не удосужилась проверить откуда идет запитка. Как это я сразу то не допер.

shkaf | Post:345546 - Date: 12.01.12(17:46)
а ты видел что за комисия была на видео капанадзе с грин бокс.??.. тетка которая курила бесконца.. какие то утомленые старички.. что это за коммисия вообще такая вялая?..Аналогичная коммисия и у хаббарда была .. только в то древнее время народ был еще более глуп в техническом плане и понятия не имел что аккумулятор может работать где то под водой и т д..
И ЛОДКА КАК ТРАНСПОРТНОЕ СРЕДСТВО БЫЛО ВЫБРАНО НЕ СЛУЧАЙНО, ЕСЛИ ТЕЛЕГУ ИЛИ АВТО МОЖНО С ЛЕГКОСТЬЮ все обыскать там все на виду то под воду, под лодку никто и не полезет, вода холодная и мокрая.
На это и расчитывал хаббард.
Более того, примерно так же и Тесла катался на своем авто якобы на каком то сверхестественном генераторе.. миф это, все по одному сценарию..а в наше время некто мельниченко в 90х годах аж на первый канал тв попал со своими старыми как мир резонансными фокусами.. это машеничество на востоке за такие проделку башку бы отрубили чтоб народ не обманывали.
-------------------------------------------------------------------
Ну дело то твое.. тебе решать кто глуп.. хаббард , нефтяной король, или может быть ты сам, если поверил в то что узнал от кого то, когда то, где то, что то купил.

_________________
На Бога уповаем. http://www.skif.biz/files/e5a7f3.jpg


TIP | Post:345548 - Date: 12.01.12(17:51)
shkaf .Аналогичная коммисия и у хаббарда была ..


Не думаю что нефтяной барон, что купил у него генератор, был настолько глуп.

Achiever | Post:345563 - Date: 12.01.12(18:55)
шкаф, мы как-нибудь обойдемся без твоих гениальных догадок.
(ну что за мебель пошла - все везде скрипит 😕 )

shkaf | Post:345565 - Date: 12.01.12(19:14)
Ачивер.
Так мечтайте т.е фантазируйте, шкаф же не против совсем..
Щас с пониманием того что под лодкой может быть аккумулятор фантазировать наверно будет веселей.
Тем более никто же не говорил что хаббард крутил свой генератор на суше, там где некуда спрятать второй аккумулятор 😀

_________________
На Бога уповаем. http://www.skif.biz/files/e5a7f3.jpg


mult | Post:345618 - Date: 13.01.12(08:18)
Achiever Пост: 345528 От 12.Jan.2012 (16:21)
mult Пост: 345479 От 12.Jan.2012 (10:23)
Всем-здасьте! Всех с Новым годом и Рождеством! Кто-нибудь скажите,если знаете,или есть догадки-какой эл.двигатель стоял на лодке(тип,вид,исполнение...) Вычитал что двигатель был "переделан для работы скатушкой Хаббарда" Асинхронник? Коллекторный(более вероятно)? Доп.полюса?...???? Зачем 4 провода?? 😘😨
Где вычитал - трудно разве кусок текста вставить? А то опять "одна бабка сказала".


Сейчас не помню где точно! Искал в инете,ходил по ссылкам... была статья на аглицком-будь он неладен-Гугл её перевел онлайн! Статья-таких много одинаковых :" 1921г Сиэтл Пост -Хаббард продемонстрировал лодку с мотором..." и т.д. и т.п. Там и прочитал! Было написано не много,смысл такой-эл.двигатель 27квт был специально переделан для работы с катушкой Хаббарда и ФСЁ! Более сказать ничего не могу! Перевод был как обычно корявый, но я не думаю что настолько


mult | Post:345619 - Date: 13.01.12(08:22)
Мне так кажется там и трамблёра нету🙄

kolovrat | Post:346358 - Date: 18.01.12(07:21)
Ген Хаба почти собрал,но уменя поля будут вращаться вокруг вокруг центра боковых электромагнитов и всё это вокруг центральной катушки, как и описывал Хаббард.

shkaf | Post:346395 - Date: 18.01.12(11:59)
Молодец, разбирай быстренько его обратно...

_________________
На Бога уповаем. http://www.skif.biz/files/e5a7f3.jpg


mult | Post:346420 - Date: 18.01.12(15:54)
kolovrat Пост: 346358 От 18.Jan.2012 (07:21)
Ген Хаба почти собрал,но уменя поля будут вращаться вокруг вокруг центра боковых электромагнитов и всё это вокруг центральной катушки, как и описывал Хаббард.

Молодец! Отчет будет или нет?😊

Achiever | Post:346442 - Date: 18.01.12(19:24)
а я что-то думаю, что коловрат ген хаббарда соберет таки...
коловрат, покажи им где раки зимуют!:)

queet | Post:347198 - Date: 24.01.12(10:09)
kolovrat Пост: 346358 От 18.Jan.2012 (07:21)
Ген Хаба почти собрал,но уменя поля будут вращаться вокруг вокруг центра боковых электромагнитов и всё это вокруг центральной катушки, как и описывал Хаббард.
И где это Хаббард такое описывал???

mult | Post:347228 - Date: 24.01.12(13:21)
Achiever Пост: 345528 От 12.Jan.2012 (16:21)
mult Пост: 345479 От 12.Jan.2012 (10:23)
Всем-здасьте! Всех с Новым годом и Рождеством! Кто-нибудь скажите,если знаете,или есть догадки-какой эл.двигатель стоял на лодке(тип,вид,исполнение...) Вычитал что двигатель был "переделан для работы скатушкой Хаббарда" Асинхронник? Коллекторный(более вероятно)? Доп.полюса?...???? Зачем 4 провода?? 😘😨
Где вычитал - трудно разве кусок текста вставить? А то опять "одна бабка сказала".

Вот! [ссылка]
Никаких скрытых проводов Найдено

Чтобы защититься от возможности обычных аккумуляторных батарей скрытых о лодке в качестве источника питания, вместо катушки Хаббарда, оба электродвигателя и катушки были сняты со своих свободных блоков, но не скрытой проводки выявлено не было. Катушка используется в качестве силового агрегата было одиннадцать дюймов в диаметре и четырнадцать дюймов в длину. Согласно Хаббарду, тесты показывают, катушки ток в 280 ампер и 125 вольт, который он указал, был эквивалентен примерно сорок пять лошадиных сил, или достаточно водить автомобиль. Ток пульсирует.

Электродвигатель было примерно двенадцать дюймов в диаметре восемнадцать дюймов в длину. Она была реконструирована для того, чтобы использоваться с катушки Хаббарда.
И еще где-то...

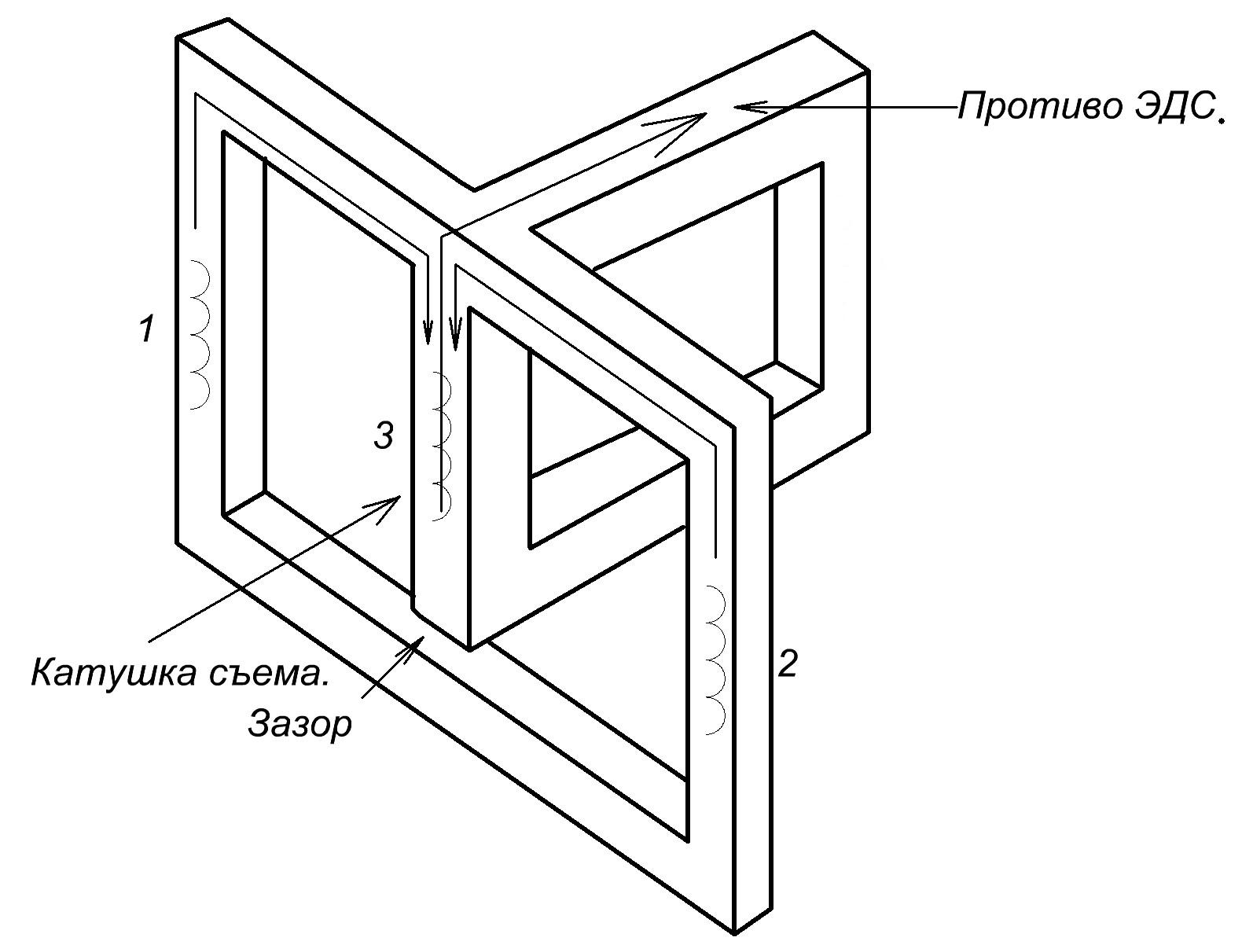
TIP | Post:349396 - Date: 05.02.12(18:19)
Может примерно так устроен магнитопровод?


Размер: 133.64 KB

sharp | Post:349504 - Date: 06.02.12(09:46)
Магнитное поле не может уходить избирательно - оно не может по нашему желанию уйти в дополнительный стержень.
Зародившись в одной точке провода, оно равномерно и одновременно распределяется во все стороны от этой точки убывая с расстоянием.
И ему безразлично, хотим мы увести его в дополнительный стержень или в основной - оно просто распространяется.

s_chechel | Post:349530 - Date: 06.02.12(12:58)
Почему не может?
Прежде всего поле идет по пути наименьшего сопротивления. Магнитный поток - это непревзойденный лодырь.
sharpесли ты о схеме TIP, то она таки пойдет в центр. Но, если в центре будет нагрузка - улизнет туда, куда нарисоввана противо ЭДС.

И еще, если противо ЭДС сливать в сторону, то кто же будет перемагничивать те места, кудою шла основная ЭДС?

<] [ 1 | ... 139 | 140 | 141 | 142 | 143 | 144 | 145 | 146 | 147 | 148 | 149 | 150 | 151 | 152 | 153 | 154 | 155 | 156 | 157 | 158 | 159 | ... | 201 ] [>
У Вас нет прав отвечать в этой теме.
Форум - Магнитные генераторы - Генератор Хаббарда - Испытания генератора Хаббарда - Стр 149
🏠 Главная | 📚 Содержание | 💬 Форум | 📁 Файлы | 📩 Контакт