[ВХОД]
11.04.26(11:41)

mob.skif.biz

Альтернативная энергия. Оставь надежду, всяк сюда входящий...

🏠 Главная | 📚 Содержание | 💬 Форум | 📁 Файлы | 📩 Контакт
 
Резонансные генераторы
Магнитные генераторы
Механические центробежные (вихревые) генераторы
Электростатические генераторы
Водородные генераторы
Ветро- и гидро- и солнечные генераторы
Прочие идеи (разные)
О форуме
Транспорт
Оружие
Научные идеи, теории, предположения...
Экономия топлива
Коммерческие вопросы
Струйные технологии
Торсионные генераторы
Новые технологии
Барахолка
Патентный отдел
Конструкторское бюро
Нейтронная физика
Торнадо и смерчи
Гравитация и антигравитация
Сделай сам. Советы.
Медицина и здравоохранение

🖥️ | 🖨️

Форум - Резонансные генераторы - Резонанс Мельниченко - Автогенерация электродвигателя "Дяди Васи" - Стр:90
<] [ 1 | ... 80 | 81 | 82 | 83 | 84 | 85 | 86 | 87 | 88 | 89 | 90 | 91 | 92 | 93 | 94 | 95 | 96 | 97 | 98 | 99 | 100 | ... | 144 ] [>
Модератор: host
Первый пост темы: host Post: #10146 От:03.10.2005 (07:48)
Случайно попал на этот форум, потому прошу прощения, если прерву ваш диалог. Буквально сегодня я своими глазами видел нечто...,ищу ответы, потому и решил обратится к завсегдатаям этого уголка сети.

Мне сегодня продемонстрировали 20 кВ электромотор, который работал сам по себе. Было все так: мастерская на глухой окраине города, на столе размером где-то 1м на 1м стоят большие конденсаторы, от них идут провода к двигателю и небольшой коробочке (где-то 15х30х20 см). К двигателю, через шкив подключен насос. Как мне потом сказали, чтобы получить требуемый эффект, двигатель надо запускать нагруженным, иначе потом его нельзя будет нагрузить. Изобретатель вставляет вилку в 220, двигатель запускается, посмотрев на тестер, двигатель отключает от сети... но он работает. Работает 10, 15, 30 минут. Я был там порядка двух часов, двигатель не подключенный к сети все это время закачивал воду. На вопросы, как и что ответов не получил. Узнал лишь то, что емкости играют большую роль и часть из них разряжается, а частья заряжается (идея напоминает идею Грея по возварту энергии). Более того, не на всех электромоторах этот эффект можно повторить. Лично мерял напряжение на работающем двигателе при подключении от сети, на входе было 220, на указанных изобретателем проводах (идущих к связке кондеров) выходило 340 вольт. Двигатель трехфазный, но из него выходило 6 проводов к этим конденсаторам. У этого человека в частном доме аналогичная электростанция(на одном валу два трехфазных движка, один в режиме генератора, другой самоподдерживаемый).От нее работают электропечь, телевизор, холодильник и свет.

Помогите разобраться, может кто ссылочку какую-то даст.
Это мужик из тех, кого называют электриками дядями Васями. Об интернете он только слышал, физически же он опасается встречаться с кем либо, т.к. имеет опыт всякого рода давлений со стороны спецорганов, за то что пытался это дело продвигать. Познакомился я с ним при личной встрече на одном из форумов по свободной энергии, он был единственным, кто обладал, с его слов, реально работающим девайсом. Мне пришлось долго с ним притираться, чтобы он поверил,что я ему не враг. Спустя почти три месяца он мне показал это. О том, чтобы к нему гостей возить и речи быть не может, этот человек реально опасается за свою безопасность, т.к. уже были сожженная мастерская, угрозы со стороны энергетиков и т.п.
Ivan | Post:92877 - Date: 16.12.07(18:46)
lazj
Тема Валеры закрыта, а ведь это можно было бы продолжить обсуждать именно там.
У меня есть своя кочка зрения на это- волновая, к-я, по-моему, даёт ответы на вопросы образования кавитации, как- волновых процессов в эфире, но- не хотелось бы это обсуждать в ветке дяди Васи.

_________________
Наука – это несомненное сумасшествие, занятое классификацией своих собственных галлюцинаций. Поэтому не удивительно, что люди науки отвергают исследования, которые считают чужими галлюцинациями. Амиель


valeralap | Post:92879 - Date: 16.12.07(19:02)
Ivan | Post: 92877 Так в чем вопрос, попросим она откроет …lazj Алена открой пожалуйста ветку.

_________________
Чтобы слушать Иисуса Христа, нужно быть, хотя бы его апостолом!


Metronom | Post:92880 - Date: 16.12.07(19:07)
ВОПРОСС АДРЕСОВАНН ВАЛЕРАЛАП(у)!!!

lazj Пост: 92847 От 16.Dec.2007 (15:29)
queet Пост: 92814 От 16.Dec.2007 (10:52)
Можно, если победить влияние выхода на вжодные обмотки... Как это сделано в НЕГе? вот в чём вопрос...


Ну... если бы все было так просто. Даже исключив влияние вторички на первичку, при условии что система останется замкнутой, с выхода будем получать лишь часть того, что подали на вход. Необходимо кое-что еще.
А опять вспоминаем Тесла "...я ни в коем случае не передаю ЭНЕРГИЮ, я передаю лишь информацию о ее наличии... "
То есть надо не высасывать энергию переданную первичкой. Первичка должна создавать "смещение" в контуре... ну чтобы не злить классиков, назовем его субстанционным контуром, и уже колебания вызванные смещением этой самой субстанции, должны создавать потоки энергии во вторичках. (это так... сумбурно) А насчет механизмов этих потоков к Валералапу.

ну во первых ни часть, а уж как нибудь тоже самое что на входе.
во вторых если мы уберём влияние втор. на перв., то останется влияние
втор. на втор. поэтому вам кажется что вы получаете часть энергии.
на самом деле надо убирать влияние каждого витка на виток.
что и сделано в трансе хаббарда и не только

ВОПРОСС АДРЕСОВАНН ВАЛЕРАЛАП(у)!!!
НУ И ЧТО ЖЕ НАДОБНО СДЕЛАТЬ.
А также а где ваша теория? может вы где нить оставили
ваши мысли в печатном виде.

_________________
** АДНАЗНАЧНА!


valeralap | Post:92881 - Date: 16.12.07(19:15)
Metronom | Post: 92880 Вот уж действительно трудно вас понять, даже сегодня выложил на двух соседних ветках и то заглянуть лень. Ладно, согласен индивидуально раздавать, хотя она лежит скифе, свободно.
29c8d6.rar
Размер: 38.14 KB

_________________
Чтобы слушать Иисуса Христа, нужно быть, хотя бы его апостолом!


Metronom | Post:92885 - Date: 16.12.07(19:39)
А где эта закрытая тема?
как она называется?

Чёто уже не могу найти.,а помню заходил.

_________________
** АДНАЗНАЧНА!


loiki | Post:92892 - Date: 16.12.07(20:12)
Petr Пост:
=Интересно, а почему вал этого двигателя нельзя нагрузить генератором и зациклить?=

Мне было лет семь или восемь когда я мечтал об такой-же авантюре,
но я всегда думал, а почему взрослые дяди до этого не додумались?
Когда я стал взрослым дядей,то я думаю почему такие вопросы задают малыши?
Взрослым дядям (и даже малышам!) понятно, что если двигатель рассчитан на 180 ВТ и потребляет 180 Вт, то генератор подключенный к этому движку выдаст максимум 150 Вт. Зацикливать, ессно, бесполезно.
Вопрос в другом, двиг. выдает 180 Вт, а потребляет - 20! Исходя из этого условия задачи меняются!

_________________
Шел Шива по шоссе - разрушая сущее. А навстречу Cаша шла - круглое сосущая.


Metronom | Post:92894 - Date: 16.12.07(20:26)
А вот нашёлл
[ссылка]

А что же последний пост дедаивана,
он говорит что энергия взялась из воздуха(так сказать 'химически')

Но и в пустоте происходит не объяснимиое.
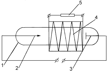
Шолберсом предложено устройство по пат. США 5018180 от 09 12.91 г (рис.2).

В вакуумной трубке 1 на одном конце установлен излучатель 2 с острием диаметром 2 мкм, на другом - мишень 3. Снаружи трубки 1 имеется катушка 4 с нагрузкой 5. При пропускании через вакуумную трубку 1 электрического тока с острия излучателя 2 идут к мишени 3 тороидальные плазменные образования диаметром ~ 20 мкм. При затратах тока на излучателе 1 Вт получают простым измерением на катушке 4, замкнутой нагрузкой 5, - 30 Вт энергии.
Ну хто будет повторять.




Размер: 5.67 KB

_________________
** АДНАЗНАЧНА!


lazj | Post:92896 - Date: 16.12.07(20:30)
valeralap Пост: 92879 От 16.Dec.2007 (19:02)
Ivan | Post: 92877 Так в чем вопрос, попросим она откроет …lazj Алена открой пожалуйста ветку.


Ветка открыта.

Metronom , давайте без агрессии... мы здесь что, соревнуемся кто умнее или ответы на волнующие нас вопросы ищем? Шолдерса уже повторяли и помнится не совсем удачно. Но я говорила о теории Валеры,и меня больше волнует не сам разряд в газах и плазменные образования, а получение условий кавитации и желательно на полупроводниковой базе. (вот и пытаюсь понять, что я делала неправильно, что данное условие не получила ... пока не получила).
Дед Иван умный... но мне наиболее понятно видение Валеры. Кстати и с " ф у ф л ы ж н и к о м" Андрусом (как многие его незаслуженно называют) оч много общего, только Валера свою теорию называет инструментом и не замахивается на рассмотрение устройства самого эфира. Ну и естественно свое видение у каждого.
Только у нас почему-то, любой, кто думает не так как ты - фуфлыжник.

Вот Вы, Метроном, Хаббарда в пример привели, про каждый виток сказали... хорошо, уверенно сказали... Тут есть ветка Хаббарда, только я там не видела Вашего работающего устройства. Если вы "распаковываете" принцип, то распаковывайте его развернуто... а "я вот понял, а вы все дураки" мы тут уже много слышали.

_________________
"Наука - это то, чего быть не может. То что может быть - это уже технический прогресс" (П.Л. Капица) "Делай, что должно и будь, что будет.."


Mightywill | Post:92898 - Date: 16.12.07(20:37)
Metronom Пост: 92894 От 16.Dec.2007 (20:26)
А вот нашёлл
[ссылка]

А что же последний пост дедаивана,
он говорит что энергия взялась из воздуха(так сказать 'химически')

Но и в пустоте происходит не объяснимиое.
Шолберсом предложено устройство по пат. США 5018180 от 09 12.91 г (рис.2).

В вакуумной трубке 1 на одном конце установлен излучатель 2 с острием диаметром 2 мкм, на другом - мишень 3. Снаружи трубки 1 имеется катушка 4 с нагрузкой 5. При пропускании через вакуумную трубку 1 электрического тока с острия излучателя 2 идут к мишени 3 тороидальные плазменные образования диаметром ~ 20 мкм. При затратах тока на излучателе 1 Вт получают простым измерением на катушке 4, замкнутой нагрузкой 5, - 30 Вт энергии.
Ну хто будет повторять.



так это ж почти один в один как...забыл...тут лежал целый документ вроде, там речь шла по "холодное электричество", там мужик анализировал изобретение другого мужика, идея 1 в 1. кто-то напомнит?
там идея была взята у теслы, о разряде конденсатора через разрядник, который питается короткими высокочастотными импульсами, а сбоку от разрядника была пластина, которая снимала мощность больше чем затрацчивалась. я чето не могу найти....

а...грей это, грей...

Metronom | Post:92899 - Date: 16.12.07(20:40)
дык вот здеся тоже опыт проведён ,на предстранице,
но противятся говорят ХИМИЯ.

[ссылка]

_________________
** АДНАЗНАЧНА!


valeralap | Post:92900 - Date: 16.12.07(20:41)
KomX | Post: 92858 И спросил ты правильно и ответил я тоже верно, но у нас разные восприятия. А ведь разница совершенно не принципиальная ты спросил про ротор, а я показал, что крутится статор, а ротор стоит. И ты сразу потерялся, а ведь даже генераторы на автомобилях такие есть. Вот и вся разница…

_________________
Чтобы слушать Иисуса Христа, нужно быть, хотя бы его апостолом!


FEME | Post:92902 - Date: 16.12.07(20:50)
valeralap Пост: 92900 От 16.Dec.2007 (20:41)
KomX | Post: 92858 И спросил ты правильно и ответил я тоже верно, но у нас разные восприятия. А ведь разница совершенно не принципиальная ты спросил про ротор, а я показал, что крутится статор, а ротор стоит. И ты сразу потерялся, а ведь даже генераторы на автомобилях такие есть. Вот и вся разница…


Все хорошо бы сравнивать с АД (правда, я пока что, не понял аналогии), но посмотрите направления вращения планет и углы наклона.

obliquity
Размер: 32.01 KB

_________________
\\\"Если ты не умеешь владеть собой, тобой завладеют другие\\\" (Кроното—Сумус)


Mif | Post:92940 - Date: 17.12.07(08:13)
Привет Всем.
По большому счету наблюдал за процессами, так как не имею особых возможностей для творчества. Понимаю, что не в тему, но я снова, о сверх единичном. Поэтому прошу хотя бы выслушать.
Устройство, представляет из себя, обычный повышающий трансформатор, с тем отличием, что сердечником является материал с высокой остаточной магнитной проницаемостью при малых потерях на гистерезис (лучше с прямоугольной характеристикой), на вход которого подаются короткие (не вводящие в насыщение сердечник, работая на вертикальных участках петли) импульсы, чередующиеся по направлению (положительный, отрицательный, положительный и т.д.), которые перемагничивают его. Индуктивность первичной катушки, ничтожно мала по отношению ко вторичной, и по этому вторичная почти не вносит никаких потерь в первичную в следствии большой постоянной совместно с высокоомной нагрузкой. То есть вход низкоомный, а выход высокоомный (что естественно, транс то повышающий). Так как, в данном случае сердечник работает как триггер, то на выходе транса будут импульсы с равной скважностью, а так как на входе импульсы были значительно короче и соответственно затраченной энергии было меньше, то должен наблюдаться выигрыш.
Я могу ошибаться, поправьте если так.
По другому поводу, готов к дискуссии.
С уважением.


valeralap | Post:92941 - Date: 17.12.07(08:50)
Mif | Post: 92940 Такой подход был рассмотрен. Трансформатор Игната Трофимова. Окончилось болтовней, до практической проверки дела не идут.С уважением

_________________
Чтобы слушать Иисуса Христа, нужно быть, хотя бы его апостолом!


Mif | Post:92949 - Date: 17.12.07(10:27)
valeralap | Post: 92941 Ты меня наверное непонял.

Игната Трофимова транс, используется иначе, на сколько я понял и свойства другие.

Речь о магнитные свойства некоторых материалов, среди которых, способные сохранять остаточную намагниченность почти до 100%, причем особных работать на достаточно высоких частотах.
Что этим я хочу сказать:
Допустим на сердечнике с вышеизложенными магнитными характеристиками намотаны две катушки, одна из которых намагничивающая, работающая с большим током короткого импульса и соответственно имеющая малую индуктивность, другая, имеет высокое
индуктивное сопротивление в связи с чем будет являться повышающей, и работая на высокоомную нагрузку (можно на резонансную) совместно с которой будут иметь большую постоянную времени.
Подавая поочередно на первичную катушку относительно короткие импульсы противоположные по направлению (допустим частота, которых 25*2 Гц), но достаточные по силе и времени, для намагничивания и перемагничивания сердечника, на вторичной катушке, по идее должны получить импульсы почти прямоугольной формы с частотой 50Гц, а так как вторичная катушка имеет большую постоянную, то кроме энергии
затраченной на перемагничивания сердечника, она внесет очень небольшие потери в первичную катушку. Наводимая же ЭДС во вторичной, будет почти пропорциональна перемагничиванию сердечника, импульсы которой оказываются гораздо длиннее, а так как составляющая мощности есть время, то мы имеем выигрыш по мощности.

Рис.1
Картинка выглядит до неприличного банально,
но дело в свойствах сердечника намагничиваться
сохраняя до 100% магнитной индукции

Отсюда можно заключить, то что затраченной энергии на первичной катушке окажется меньше, чем получено во вторичной
Возможно это очередное заблуждение в поисках вечного! Скорректируйте меня, если найдете время, а возможно это вовсе не ошибка.



С уважением



Размер: 3.66 KB

KomX | Post:92956 - Date: 17.12.07(12:00)
Mif Пост: 92949 От 17.Dec.2007 (10:27)
Рис.1
Картинка выглядит до неприличного банально,
но дело в свойствах сердечника намагничиваться
сохраняя до 100% магнитной индукции



Прошу прощения, но трансформатор трансформирует динамику изменения одного из его параметров-величин, но не статическое постоянство оных.

С уважением.

_________________
KomX - это комикс (история в картинках) или ком(приходить) икс(к неизвестному)... (Well)


Fil | Post:92957 - Date: 17.12.07(12:06)
Mif Пост: 92940 От 17.Dec.2007 (08:13)

Устройство, представляет из себя, обычный повышающий трансформатор, с тем отличием, что сердечником является материал с высокой остаточной магнитной проницаемостью при малых потерях на гистерезис (лучше с прямоугольной характеристикой), на вход которого подаются короткие (не вводящие в насыщение сердечник, работая на вертикальных участках петли) импульсы, чередующиеся по направлению (положительный, отрицательный, положительный и т.д.), которые перемагничивают его. ...

С уважением.


Я могу ошибаться, но работая на вертикальных участках, первичка будет иметь очень большое индуктивное соротивление (этот режим используют в магнитных усилителях)т.е. ток через первичку в идеале не будет течь.

С уважением.



Размер: 23.74 KB

DoctorGN | Post:92959 - Date: 17.12.07(12:23)
Странно читать о том как человек создает гениальный девайс, оставаясь при этом полным лохом, неспособным продать этот девайс за немеренное количество лимонов баксов. Да смешно это, ибо нет никакого девайса....
исходя из выше сказанного!!!!

Fil | Post:92960 - Date: 17.12.07(12:26)
Устройство с индуктивностью во вторичной цепи во много раз большей чем в первичной исследовалась GORLUM-ом (генератор Зуева, кажется).
Файл прилагается.
А где можно посмотреть устройство Игната?

И еще вопрос: про Bogatyr-я что-нибудь слышно? У него есть свой сайт?
Он вроде летом начал продавать свое устройство.
Его устройство вроде тоже на принципах магнитного усилителя работает

bc7eb4.zip
Размер: 189.46 KB

dedivan | Post:92970 - Date: 17.12.07(13:06)
Metronom Пост: 92899 От 16.Dec.2007 (20:40)
дык вот здеся тоже опыт проведён ,на предстранице,
но противятся говорят ХИМИЯ.



Ну уж не надо передергивать, это чистая ФИЗИКА- электронные и ядерные
реакции, причем просто на столе.
А пример с вакуумной трубкой- неудачен, если есть плазма, значит
там не чистый вакуум а разреженный газ.
То есть то же самое о чем я и говорил.

_________________
я плохого не посоветую


dedivan | Post:92980 - Date: 17.12.07(13:58)
Metronom Пост: 92894 От 16.Dec.2007 (20:26)
Ну хто будет повторять.



Делал почти такую штуку, точнее как у Теслы, с 12 разрядниками
работающими по очереди.
Но про это лучше в другой ветке.
Про разрядники, трубки Грэя, принципы Теслы.

_________________
я плохого не посоветую


valeralap | Post:92985 - Date: 17.12.07(14:18)
Mif | Post: 92949 Так как вами описана схема, и исходя из своего опыта, мое мнение, полезного выхлопа не будет. Но это высказал только свое мнение. Если бы делал такую схем то сразу доработал. Разделил возбуждающую обмотку на две и между ними в центре поставил коротко замкнутый виток, который не давал бы сердечнику выходить из наклонной характеристики. Но это все бегло и требует практической проверки.

_________________
Чтобы слушать Иисуса Христа, нужно быть, хотя бы его апостолом!


Metronom | Post:93012 - Date: 17.12.07(16:45)
dedivan Пост: 92980 От 17.Dec.2007 (13:58)
Metronom Пост: 92894 От 16.Dec.2007 (20:26)
Ну хто будет повторять.



Делал почти такую штуку, точнее как у Теслы, с 12 разрядниками
работающими по очереди.
Но про это лучше в другой ветке.
Про разрядники, трубки Грэя, принципы Теслы.


А какое КПД получили в своём устройстве?


в районе 3000 как в этом?или нет?

_________________
** АДНАЗНАЧНА!


dedivan | Post:93016 - Date: 17.12.07(17:02)
Metronom Пост: 93012 От 17.Dec.2007 (16:45)
А какое КПД получили в своём устройстве?


в районе 3000 как в этом?или нет?


Это как считать.
мощность в искре порядка 1 квт итого 12 квт.
в электроэнергию удалось преобразовать 150 вт.
из них 50 вт тратится на питание ВВ генератора.
остаток 100 вт для полезной нагрузки.

Я считаю что кпд 0,8 процента.
Хотя 100 вт на халяву плиз.

_________________
я плохого не посоветую


Metronom | Post:93035 - Date: 17.12.07(17:53)
ну тогда и я посчитаю КПД ,
100/12000=0.0083

КПД=0.83%

_________________
** АДНАЗНАЧНА!


<] [ 1 | ... 80 | 81 | 82 | 83 | 84 | 85 | 86 | 87 | 88 | 89 | 90 | 91 | 92 | 93 | 94 | 95 | 96 | 97 | 98 | 99 | 100 | ... | 144 ] [>
У Вас нет прав отвечать в этой теме.
Форум - Резонансные генераторы - Резонанс Мельниченко - Автогенерация электродвигателя "Дяди Васи" - Стр 90
🏠 Главная | 📚 Содержание | 💬 Форум | 📁 Файлы | 📩 Контакт