[ВХОД]
16.04.26(05:14)

mob.skif.biz

Альтернативная энергия. Оставь надежду, всяк сюда входящий...

🏠 Главная | 📚 Содержание | 💬 Форум | 📁 Файлы | 📩 Контакт
 
Резонансные генераторы
Магнитные генераторы
Механические центробежные (вихревые) генераторы
Электростатические генераторы
Водородные генераторы
Ветро- и гидро- и солнечные генераторы
Прочие идеи (разные)
О форуме
Транспорт
Оружие
Научные идеи, теории, предположения...
Экономия топлива
Коммерческие вопросы
Струйные технологии
Торсионные генераторы
Новые технологии
Барахолка
Патентный отдел
Конструкторское бюро
Нейтронная физика
Торнадо и смерчи
Гравитация и антигравитация
Сделай сам. Советы.
Медицина и здравоохранение

🖥️ | 🖨️

Форум - Механические центробежные (вихревые) генераторы - Механические генераторы - Маховиковые БТГ - где собака порылась? - Стр:6
<] [ 1 | 2 | 3 | 4 | 5 | 6 | 7 | 8 | 9 | 10 ] [>
Модератор: AlexKP
Первый пост темы: AlexKP Post: #744001 От:07.09.2021 (13:55)
Тут намедни шОрох пошел по ютубу, Андрюха Тиртха возбудился, Ракарский...



Смотрим, анАлизируем, высказываем гениальные предположения😬😬😬
Pavel1 | Post:888247 - Date: 03.06.25(20:27)
bazarov Пост: 888197 От 02.Jun.2025 (21:06)


Ваня, в России Ютуб заблокирован, ВПНы(обходы через другие страны), тоже заблокированы. Вайбер тоже заблокирован, работает только Ватсап и Телеграмм.
Так что выкладывай на РУТУБ.
Увы, картинки не вставляются😀.

bazarov | Post:888263 - Date: 04.06.25(00:10)
Pavel1 Пост: 888247 От 03.Jun.2025 (17:27)

Так что выкладывай на РУТУБ.
Увы, картинки не вставляются😀.
На рутюбе такого видео нет. Вот аналог, только вместо здорового маховика заклиненный подшипник. Вместо пружин пружинки.
[ссылка]

_________________
Не хватит никакого здоровья, чтобы приспособиться к этому глубоко больному обществу(Кришна Мурти)/Горшки не Боги обжигают (многовековая классика)


street | Post:888268 - Date: 04.06.25(05:38)
bazarov Пост: 888192 От 02.Jun.2025 (20:31)
Как конкретно изобразить сдвиг фаз при перемещении пружины?

Как на уроках черчения. Пунктиром.

_________________
Главное в мелочах


Forex | Post:888269 - Date: 04.06.25(07:42)
Ну дурак Базаров. Ну дура-ак... 🤢 Видео же для совсем слабоумных. Даже не удосужились нормально подчисть. После раскрутки руками, хорошо видно передёрг кадра... Дальше вставленно видео прокрученное наоборот... 🤢 🤢 Вот и весь секрет... 🤢

Forex | Post:888270 - Date: 04.06.25(07:46)
Да отдохните вы все от мысли простой халявы. НЕ будет этого ни когда!!! Хоть тресните, хоть раком встаньте! Если бы такие глупости были бы возможны, Вселенная была бы неустойчива и не смогла бы существовать!

Tog | Post:888272 - Date: 04.06.25(08:46)
Forex Пост: 888269 От 04.Jun.2025 (04:42)
Ну дурак Базаров. Ну дура-ак... 🤢 Видео же для совсем слабоумных. Даже не удосужились нормально подчисть. После раскрутки руками, хорошо видно передёрг кадра... Дальше вставленно видео прокрученное наоборот... 🤢 🤢 Вот и весь секрет... 🤢


Кто бы говорил 😬 😬 😬

_________________
Фак-ты


AlexKP | Post:888276 - Date: 04.06.25(09:34)
Forex Пост: 888269 От 04.Jun.2025 (04:42)
Ну дурак Базаров. Ну дура-ак... 🤢 Видео же для совсем слабоумных. Даже не удосужились нормально подчисть. После раскрутки руками, хорошо видно передёрг кадра... Дальше вставленно видео прокрученное наоборот... 🤢 🤢 Вот и весь секрет... 🤢


интересно... не заметил.
Укажи четко время от и до.

dedivan | Post:888277 - Date: 04.06.25(10:46)
Forex Пост: 888270 От 04.Jun.2025 (04:46)
Да отдохните вы все от мысли простой халявы. НЕ будет этого ни когда!!! Хоть тресните, хоть раком встаньте!

А в природе постоянно все трескает и раком встает. Она на этом и существует. Иначе умерло бы все давно.
Простой пример- летит какой то астероид размером с эверест мимо земли и попадает в поле ее гравитации- происходит огромный бабах с выделением энергии миллионов атомных бомб. И это за счет энергии поля гравитации земли. Оно после этого ослабнуть должно. Это же оно притянуло гору, работу совершило.
А вот и хрен- оно наоборот усиливается- земля тяжелее стала.
Откуда халява?
Подсказка- время на земле пойдет чуток медленнее в более сильном поле гравитации.

_________________
я плохого не посоветую


Forex | Post:888285 - Date: 04.06.25(13:06)
летит... миллионов атомных... притянуло гору... в более сильном...


Забудьте!!! 🤢 🤢 🤢

sbal | Post:888286 - Date: 04.06.25(13:11)
Потеряйся, пакостник.

_________________
в пути...


dedivan | Post:888289 - Date: 04.06.25(14:09)
Forex Пост: 888285 От 04.Jun.2025 (10:06)

Забудьте!!!

Страшно стало?

_________________
я плохого не посоветую


bazarov | Post:888304 - Date: 04.06.25(20:20)
street Пост: 888268 От 04.Jun.2025 (02:38)
bazarov Пост: 888192 От 02.Jun.2025 (20:31)
Как конкретно изобразить сдвиг фаз при перемещении пружины?

Как на уроках черчения. Пунктиром.
Как и просил, всё пунктиром.
42
42
Размер: 5.24 KB

_________________
Не хватит никакого здоровья, чтобы приспособиться к этому глубоко больному обществу(Кришна Мурти)/Горшки не Боги обжигают (многовековая классика)


bazarov | Post:888306 - Date: 04.06.25(20:23)
ЛАдно.... Сейчас немного выпью и более понятно нарисую... Без пунктира...

_________________
Не хватит никакого здоровья, чтобы приспособиться к этому глубоко больному обществу(Кришна Мурти)/Горшки не Боги обжигают (многовековая классика)


bazarov | Post:888312 - Date: 04.06.25(20:39)
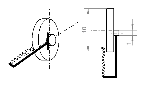
Вот наглядно. Два диска, один большой другой малый. К большому на краю гвоздик крепится и пружинка. Малый изменяет натяжение пружины на счёт эксцентрика на центре вала. Сейчас попробую изобразить...
42
42
Размер: 4.33 KB

_________________
Не хватит никакого здоровья, чтобы приспособиться к этому глубоко больному обществу(Кришна Мурти)/Горшки не Боги обжигают (многовековая классика)


bazarov | Post:888314 - Date: 04.06.25(20:56)
Вот статическое изображения диска при полном обороте. Вместо пружин размерные линии. Как видишь есть увеличение длины пружины, но и сопротивление вращению И вот нужно вычислить не равны ли моменты сил?

Считается элементарно. Делаем нормальный чертёж и линейкой замеряем длину пружины в разных положениях. Затем смотрим на сколько по радиусу смещение и сравниваем момент сил пружины и эксцентрика. Сила пружины у нас линейная, так что труда не составит. А так как у нас положение красного крепления пружины в двух точках из четырёх одинаковое, то никакие синусы высчитывать не нужно.

Что ещё не понятно 😕 ?

42
Размер: 7.86 KB

_________________
Не хватит никакого здоровья, чтобы приспособиться к этому глубоко больному обществу(Кришна Мурти)/Горшки не Боги обжигают (многовековая классика)


Forex | Post:888320 - Date: 04.06.25(21:19)
AlexKP Пост: 888276 От 04.Jun.2025 (06:34)
Forex Пост: 888269 От 04.Jun.2025 (04:42)
Ну дурак Базаров. Ну дура-ак... 🤢 Видео же для совсем слабоумных. Даже не удосужились нормально подчисть. После раскрутки руками, хорошо видно передёрг кадра... Дальше вставленно видео прокрученное наоборот... 🤢 🤢 Вот и весь секрет... 🤢


интересно... не заметил.
Укажи четко время от и до.

Видео который скинул Базаров с претензией на ... [ссылка]
Но это же Рутуб убогий. Я там не нашёл счётчика времени. Когда мужик(с)
раскручивает вал руками и потом отнимает руки, примерно через секунду, прекрасно видно как передёргивается кадр. Ну видно что это не непрерывная сьёмка! Дальше понятно. Вставляется видео и прокручивается наоборот и получается что вместо замедления вращения вала, получается ускорение. ...Лять такие вещи разжёввывать. Вон тупой Тог то же ни чего не понял. Но ему простительно. Он тупица и ему можно... 🤢 🤢

Все остальные подобные видео и глупые малевания Базарова даже разглядывать не собираюсь. Тут и так всё ясно..

AlexKP | Post:888321 - Date: 04.06.25(21:24)
Forex Пост: 888320 От 04.Jun.2025 (18:19)
AlexKP Пост: 888276 От 04.Jun.2025 (06:34)
Forex Пост: 888269 От 04.Jun.2025 (04:42)
Ну дурак Базаров. Ну дура-ак... 🤢 Видео же для совсем слабоумных. Даже не удосужились нормально подчисть. После раскрутки руками, хорошо видно передёрг кадра... Дальше вставленно видео прокрученное наоборот... 🤢 🤢 Вот и весь секрет... 🤢


интересно... не заметил.
Укажи четко время от и до.

Видео который скинул Базаров с претензией на ... [ссылка]
Но это же Рутуб убогий. Я там не нашёл счётчика времени. Когда мужик(с)
раскручивает вал руками и потом отнимает руки, примерно через секунду, прекрасно видно как передёргивается кадр. Ну видно что это не непрерывная сьёмка! Дальше понятно. Вставляется видео и прокручивается наоборот и получается что вместо замедления вращения вала, получается ускорение. ...Лять такие вещи разжёввывать. Вон тупой Тог то же ни чего не понял. Но ему простительно. Он тупица и ему можно... 🤢 🤢

Все остальные подобные видео и глупые малевания Базарова даже разглядывать не собираюсь. Тут и так всё ясно..


понятно... А то я стал искать на этом:

YouTube: Смотреть видео


а здесь вроде все чисто...

bazarov | Post:888323 - Date: 04.06.25(21:29)
Forex | Post: 888320 - Date: 04.06.2025 (12:19)

Все остальные подобные видео и глупые малевания Базарова даже разглядывать не собираюсь. Тут и так всё ясно..
Закрой глаза.... РАсчёты будут... Не подглядывай... Один хрен ничего не поймёшь а настроение перед сном испортишь...

Кароче. Сам взялся сам и закончу. Если в таком исполнении никакого БТГ нет, то сумма моментов должна дать нуль. Вот и проверим...

42
Размер: 8.97 KB

_________________
Не хватит никакого здоровья, чтобы приспособиться к этому глубоко больному обществу(Кришна Мурти)/Горшки не Боги обжигают (многовековая классика)


Forex | Post:888324 - Date: 04.06.25(21:31)
Не... Я посмотрел который показал базаров и ещё какой-то мудак на велосипеде с такой же приблудой едет. С меня этого хватило и больше подобной поеб..ни я уже не смотрел. 😀

bazarov | Post:888325 - Date: 04.06.25(21:37)
Форкс остал от жизни....
YouTube: Смотреть видео

[ссылка]

ПС. Не мешай считать 😭!

_________________
Не хватит никакого здоровья, чтобы приспособиться к этому глубоко больному обществу(Кришна Мурти)/Горшки не Боги обжигают (многовековая классика)


bazarov | Post:888326 - Date: 04.06.25(21:38)
Задлбал.... Картинку сдвигнул....
image

_________________
Не хватит никакого здоровья, чтобы приспособиться к этому глубоко больному обществу(Кришна Мурти)/Горшки не Боги обжигают (многовековая классика)


bazarov | Post:888328 - Date: 04.06.25(21:51)
Итак считаем.
Точка №1. =-26,9 Ньютон.
Точка №2. = а где два??? Короче синяя. = 29,3+2,5= 31.8 Ньюто
Точка №3. = 12.6-2.5= 10.1 Ньютон
Точка №4. = -13.8 Ньютон.

Точка 1 и 4 с минусом потому что пружина натягивается.... А теперь барабанная дробь, считаем момент сил в сумме....
Фы=31.8+10.1-26.9-13.8= 41.9-40.7=1.2Ньютона.

Итак что мы имеем. Противодействие пружин в килограммах, а результат неравенства всего 100 граммов каких-то. Рисовал в "русплане", поэтому могли быть неточности с замерами. Кто хочет может в кореле нарисовать или ... на бумаге какой. Чем больше плакат - тем точнее расчёт по замерам получится.

Вывод: да хрен его знает 😀... Но тяга в 100 граммов тоже тяга.. НА скорости в тыщщу оборотов это уже под сто ватт и более.

Мнения 😕 ?

_________________
Не хватит никакого здоровья, чтобы приспособиться к этому глубоко больному обществу(Кришна Мурти)/Горшки не Боги обжигают (многовековая классика)


Forex | Post:888329 - Date: 04.06.25(21:52)
ПС. Не мешай считать !

Ага... Не забудь только потом прокатиться... И рассказать как катался на таком движке... 🤢
🤢 🤢

bazarov | Post:888330 - Date: 04.06.25(22:24)
Для математиков, если такие есть... Чтобы убрать влияние синуса при расчётах достаточно рычаг сделать длиной в 10 раз больше диаметра большого колеса. Тогда точность измерения вырастет до 0,01, в виду погрешности при при сдвиге всего на пару градусов. Вот тогда уже можно рассуждать есть там чего или нет.

Интересно кому 😕 ?

_________________
Не хватит никакого здоровья, чтобы приспособиться к этому глубоко больному обществу(Кришна Мурти)/Горшки не Боги обжигают (многовековая классика)


Forex | Post:888334 - Date: 04.06.25(23:19)
Не-а! 🤢

<] [ 1 | 2 | 3 | 4 | 5 | 6 | 7 | 8 | 9 | 10 ] [>
У Вас нет прав отвечать в этой теме.
Форум - Механические центробежные (вихревые) генераторы - Механические генераторы - Маховиковые БТГ - где собака порылась? - Стр 6
🏠 Главная | 📚 Содержание | 💬 Форум | 📁 Файлы | 📩 Контакт