[ВХОД]

05.04.26(21:28)

mob.skif.biz

Альтернативная энергия. Оставь надежду, всяк сюда входящий...

🏠 Главная | 📚 Содержание | 💬 Форум | 📁 Файлы | 📩 Контакт
 
Резонансные генераторы
Магнитные генераторы
Механические центробежные (вихревые) генераторы
Электростатические генераторы
Водородные генераторы
Ветро- и гидро- и солнечные генераторы
Прочие идеи (разные)
О форуме
Транспорт
Оружие
Научные идеи, теории, предположения...
Экономия топлива
Коммерческие вопросы
Струйные технологии
Торсионные генераторы
Новые технологии
Барахолка
Патентный отдел
Конструкторское бюро
Нейтронная физика
Торнадо и смерчи
Гравитация и антигравитация
Сделай сам. Советы.
Медицина и здравоохранение

🖥️ | 🖨️

Форум - Экономия топлива - Вода как топливо для мотора - Вода горит , вода топливо. - Стр:78
<] [ 1 | ... 68 | 69 | 70 | 71 | 72 | 73 | 74 | 75 | 76 | 77 | 78 | 79 | 80 | 81 | 82 | 83 | 84 | 85 | 86 | 87 | 88 | ... | 94 ] [>
Модератор: Нохрин
Первый пост темы: Нохрин Post: #293683 От:11.03.2011 (14:41)
Патент №1822465 от12 окт 1992 года."Двигатель внутреннего сгорания с раздельным циклом В.Нохрина" Степень сжатия 88, был переделан из двигателя Д 37, дизель с воздушным охлаждением трактора Т 40. Переделке подверглись распределительный вал поршни и головки блока. На поршнях была залита выемка в головке блока, в головках блка попарно были соединены общей камерой сгорания и замены два средних клапана, впускной и выпускной. Распределительный вал изготовлен заново ввиду изменения принципа работы двигателя
Принцип работы двигателя в первом цилиндре поршень из нижней мёртвой точки поднимается вверх, происходит сжатие и вся смесь через открытый впускной клапан в первом цилиндре загоняется в камеру сгорания объёмом 10 см куб.Когда поршень подходит к верхней мёртвой точки клапан закрывается затем впрыск топлива, и здесь в камере сгорания топливо сгорает смесь из паров воды, дизельного топлива и воздуха. Реакции горения С +_2Н2О = Со2 + 2Н2, Н2 + СО2 = С + 2Н2О, Н2 + О2 = Н2О а поршень первого цилиндра пошёл вниз, производя всасывание. Поршень второго цилиндра в это время находится в нижней мёртвой точки и двигается вверх, выталкивает отработанные газы от предыдущего рабочего хода.Подойдя к верхней мёртвой точки выхлопной клапан закрывается и сразу открывается выпускной клапан из камеры сгорания. Во втором цилиндре происходит рабочий ход. Двигатель работал на стенде бесшумно, происходило полное сгорание топлива, вредных выбросов не замечено, расход топлива судя по отклонению рейки топливного насоса в районе положения холостого хода, приёмистость отличная. Требует доработки выпускного и впускного клапана на длительную работу.
Примеров использования воды в использовании кислорода из воды человеком много. Так парник для выращивания ранних овощей, применение водонаполненных взрывчатых веществ, самовозгорание угля, зерна, самовозгорание человека, когда сгораетчеловек а одежда остается целой. Использование воды в качестве топлива,многие применяют на своих автомобилях. У меня на 2101 бака хватало на700 км, Контрольный пробег 2106 на 400 км показал расход 26 литров, свечи были чистыми.И по сообщениям в инете тоже такие же результаты. Собака на выхлоп при работе с водой не реагировала. Как вду отключаешь собака на цепи не знает куда деться. Приборный контроль не проводился. Воздух у нас чистый. Рядом дорога как только проезжает авто вонь идёт страшная. На трассе как только жигуль обгоняет в салоне стоит сильный запах бензина, после обгона воздух снова чистый. Судите сами. Экономию топлива может сделать каждый.
Нохрин | Post:699449 - Date: 20.11.20(08:14)
Олег, джан, маруся, джан. Вспомнил [ссылка]

Well | Post:699452 - Date: 20.11.20(08:36)
Отжал всё же сталинист БЮВ у нохрина печурку! 😬

Нохрин | Post:699456 - Date: 20.11.20(08:48)
Это еще не все.

vodoprovodchik | Post:699483 - Date: 20.11.20(12:38)
rezoner
Интересная схема
------------------

Я её разрисовал в цветную , но и это не поможет в понятии 😏 реально установка разчленена на 3-и части и каждая имеет поддув воздуха
[ссылка]


Размер: 48.08 KB

missioner | Post:699552 - Date: 20.11.20(22:53)
vodoprovodchik Пост: 699483 От 20.Nov.2020 (12:38)
rezoner
Интересная схема
------------------

Я её разрисовал в цветную , но и это не поможет в понятии 😏 реально установка разчленена на 3-и части и каждая имеет поддув воздуха
[ссылка]
Вот видео энтузиаста сделавшего по этой схеме горелку:
YouTube: Смотреть видео
смотреть с 14.46 А на 28.50 рассказывает чем продолжилось, чуть, говорит, что "не наложил"...

_________________
Здесь хранится СЕ суперавтотрансгенератор https://www.skif.biz/index.php?name=Forums&file=viewtopic&p=875842#875842 https://disk.yandex.ru/d/T_H9tIHpXVb8dw Дополненная версия с видео: https://disk.yandex.ru/d/RUQMOtXIHzRo7Q


Vmm | Post:699588 - Date: 21.11.20(12:05)
Нынче летом сварщик пытался теплообменник ремонтировать который 30 лет работал по нагреву воды паром и каждый раз когда сварной подводил горелку к внутренним устройствам теплообменника то внутри он вспыхивал. Но это на многое можно списать.
А вот в видео мужик мало железа использует потому и горючка нужна, а так бы ведра 3-4 набрал ржавых болтов, гаек, гвоздей и другой железной мелочевке, разместил в емкости и нагрел паром до 7000С то на выходе получил бы гремучку. Смысл в этом теплообмене, ведь железо все равно у него расходуется, а так бы на отопительный сезон хватило. Ведь на входе 7000С, а на выходе из емкости с железками 30000С, только это тепло нужно снимать теплопроводным способом т.к. при горении водород практически не излучает тепло.

Нохрин | Post:699609 - Date: 21.11.20(13:33)
Вода только до 600 градусов вода. Выше, это не вода, она как бы вода я уже говорил как муж и жена дома семья, а утром на работу ушли. Хоть они далеко но это семья. так и вода. У меня получалось поверхность из химически чистого железа. Никакой ржавчины и окалины. Ржавчина это консервированый кислород. Fe3O4 Ржавого бензина залить и СО будет показывать 0. Гамлет Аракелян все правильно сделал. Задача состоит в том, чтобы вообще не использовать топливо.
Накипь это СаСО3 МgСО, при нагреве разлагаются и вот этот СО и горит.


Vmm | Post:699613 - Date: 21.11.20(13:47)
Выше, это не вода, она как бы вода я уже говорил как муж и жена дома семья, а утром на работу ушли. Хоть они далеко но это семья. так и вода.
Химически чистое железо?
Ржавчина это консервированый кислород?
Это что за фразизмы, измыслы и как это использовать? Нохрин Вы в своём уме?

dedivan | Post:699615 - Date: 21.11.20(13:53)
missioner Пост: 699552 От 20.Nov.2020 (22:53)
Вот видео энтузиаста ....

Я всегда в таких случаях вспоминаю анекдот про сибирского кота, все кошки собрались ночью на крыше, познакомиться с новым сибирским котом, а он всю ночь рассказывал им как яйца в сибири отморозил.

_________________
я плохого не посоветую


missioner | Post:699632 - Date: 21.11.20(15:40)
Кстати, атомы кислорода при образований молекулы кислорода тоже выделяют приличную энергию,так же почти в два раза больше чем уходит на разложение молекулы воды [ссылка]

_________________
Здесь хранится СЕ суперавтотрансгенератор https://www.skif.biz/index.php?name=Forums&file=viewtopic&p=875842#875842 https://disk.yandex.ru/d/T_H9tIHpXVb8dw Дополненная версия с видео: https://disk.yandex.ru/d/RUQMOtXIHzRo7Q


sbal | Post:699634 - Date: 21.11.20(15:49)
Ты ежели втыкаешь ссылки - проверь.

_________________
в пути...


dedivan | Post:699642 - Date: 21.11.20(16:01)
missioner Пост: 699632 От 21.Nov.2020 (15:40)
Кстати, _...

Если уж хотел выразить мысль- то говори наоборот- Для горения нужен ионизированный кислород. и для его ионизации нужно в два раза больше энергии, чем для добычи его из процесса ионизации воды.
В чем и выигрыш сжигания топлива с водой по сравнению с кислородом.
Но топливо все равно нужно.

_________________
я плохого не посоветую


Нохрин | Post:699645 - Date: 21.11.20(16:12)
Тут помню, а там не помню. Отморозил однако.

dedivan | Post:699653 - Date: 21.11.20(16:52)
missioner Пост: 699632 От 21.Nov.2020 (15:40)
Кстати,_...

Кстати да, при сгорании горючего с водой выделяется энергии в два раза больше, чем с кислородом. И выделяется она в виде повышения температуры пламени.
Чем собственно и объясняется восторг нохрина от солнца в печке.
Всего лишь повышением температуры, что известно уже не одну сотню лет всем теплотехникам. Но они это редко используют в связи с сложностями ионизаторов воды в эксплуатации.
Используют только в специальных горелках, когда нужно получить высокую температуру пламени.
А для обычной печки высокая температура это минус- требуются специальные и дорогие материалы на футеровку камеры сгорания.

_________________
я плохого не посоветую


Vmm | Post:699658 - Date: 21.11.20(17:06)
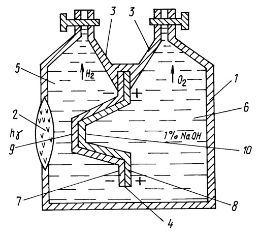
У меня этот ресурс заблокирован и по этому я не могу прочитать этот патент, только картинка доступна.
Может дополнительно диодами подсветить? Фотолизер для разложения воды.
[ссылка]


Размер: 58.88 KB

genmih | Post:699664 - Date: 21.11.20(17:28)
Фотолизер для разложения воды.

[ссылка]

Vmm | Post:699674 - Date: 21.11.20(18:27)
Спасибо!

missioner | Post:699682 - Date: 21.11.20(19:40)
sbal Пост: 699634 От 21.Nov.2020 (15:49)
missioner Пост: 699632 От 21.Nov.2020 (15:40)
Кстати,атомы кислорода при образований молекулы кислорода тоже выделяют приличную энергию,так же почти в два раза больше чем уходит на разложение молекулы воды [ссылка]


Ты ежели втыкаешь ссылки - проверь.
[ссылка]

Энергия соединения атомов водорода: [ссылка]
Энергия соединения кислорода с водородом или разложения воды: [ссылка]

_________________
Здесь хранится СЕ суперавтотрансгенератор https://www.skif.biz/index.php?name=Forums&file=viewtopic&p=875842#875842 https://disk.yandex.ru/d/T_H9tIHpXVb8dw Дополненная версия с видео: https://disk.yandex.ru/d/RUQMOtXIHzRo7Q


missioner | Post:699686 - Date: 21.11.20(20:13)
Короче,подытоживаю Нохрина:

Если бы вода просто разлагалась от жары на водород и кислород а затем соединялась обратно то мы бы не имели никакого прибытка по теплу. Но.... после распада молекулы на атоммарные водород и кислород атомы водорода частично соединяются друг с другом образуя молекулу водорода. При этой реакций выделяется энергий почти в два раза больше чем при соединений молекул или атомов водорода и кислорода в молекулу воды. вот отсюда и эффект прибавки энерговыделения при сжиганий воды в топках.Дополнительно к этому, атомы кислорода при образований молекулы кислорода тоже выделяют приличную энергию,так же почти в два раза больше чем уходит на разложение молекулы воды [ссылка]
Энергия соединения атомов водорода: [ссылка]


Энергия соединения или разложения воды: [ссылка]


Поэтому,если бы все атомы водорода и кислорода получившиеся от термического распада воды вначале создавали молекулы водорода и кислорода и только после этого соединялись вновь в молекулу воды то мы бы при сжиганий воды имели почти четырёхкратное увеличение выделения тепловой энергий часть из которой можно было бы вновь пустить на разложение воды и не нужно было бы вообще никакого топлива кроме самой только воды.. Но... что есть то есть, большое количество атомов кислорода вновь реагируют с атомами водорода и такого сильного прибытка и полного перехода на отопление водой мы не имеем.


Но.... это только пока.... Родина ждёт Нохринов готовых послать нахрен нефтяников с газовщиками и готовых заставить вначале атомы реагировать с себе подобными и только после получения из атомов молекул реагировать с молекулами другого вещества.
Почти так же я написал в ютупе в подписи к одному из своих видео

_________________
Здесь хранится СЕ суперавтотрансгенератор https://www.skif.biz/index.php?name=Forums&file=viewtopic&p=875842#875842 https://disk.yandex.ru/d/T_H9tIHpXVb8dw Дополненная версия с видео: https://disk.yandex.ru/d/RUQMOtXIHzRo7Q


Нохрин | Post:699720 - Date: 22.11.20(01:46)
Ходите хороводом, все вокруг да около, а в эту истину никто не заглядывал. Прочитаю Вашу галиматью и у меня как у слабоумного крыша съезжает. Утром читаю на свежую голову еще терпимо, разобраться можно. Все Ваши рассуждения, формулы не могут дать ответ как Прометей сохранил огонь в тростнике. Мааааленькую искорку. А потом из искры разгорелось пламя. Послушаю и сам начинаю верить в Вашу галиматью, которую несете сюда. На даче шашлык готовили. Потом залили водой. и метрах в двух лежала гнилая шпала, труха, пыль была в одном месте. Прошло прилично времени, собираемся уезжать, обхожу кругом , не горит ли где. И вот эта труха тлеет без дыма. А была залита водой. И хорошо тлеет. Продуктов сгорания не было видно. Зола, дым.

олег-джан | Post:699723 - Date: 22.11.20(03:37)
Зола, дым, и креозот..

_________________
Обьективная реальность-бред,вызванный недостатком алкоголя в крови...


vodoprovodchik | Post:699765 - Date: 22.11.20(13:22)
+++++
Продуктов сгорания не было видно. Зола, дым.
+++++

Напомнило прежнюю жизень ...
по раёну расставляли металлические контейнеры для золы (от угля) . Народ почемуто ссыпал тлеющий уголь (остатки) ну и контейнерам приходил писец. Обычно при погрузке отваливалось дно .
Сейчас у джигитов такой проблемы нет ! - они вааще топить перестали 😏 ...перешли на накидку на провода ..."умнеют" на глазах!! 😏 А шо делать ? уголёк то дороговастый да и перешёл очередному клану! Как и аэропорт и газовое хозяйство , табачка , вино водка...базары...электроснабжение (эти защищаются что есть сил - ставят на столбы проволожку диаметром 0,3мм - от китайского чайника вылетает...заявка на замену стоит нехилых бабок ) , медицина...менты и налоговая ...
Всё поделено! типа , - по чесноку! 😏

По Краснову - процент масла к воде гуляет от 5% до 7% Но этот процент зависит от температуры разгона ....дают даже 1(один ) %.
Смысл , - обуть молекулу воды рубашкой из масла ,,( масло может быть растительное).
За счёт более сильного молекулярного воздействия поверхностного натяжения молекул масла,- ЭТО вполне возможно !
Так таки Краснов прав !
Нуно разрабатывать установку по производству суспензии такой смеси. У Краснова она сохранялась ,якобы, 30 месяцев не расслаиваласъ )


Нохрин | Post:699777 - Date: 22.11.20(14:57)
Щестеренчатый насос смешивает воду и топливо в любом % но лучше примерно 30% воды и остальное топливо. Можно и в жигуль заливать в дизель нельзя.

vodoprovodchik | Post:699786 - Date: 22.11.20(16:13)
нохрин Пост: 699777 От 22.Nov.2020 (14:57)
Щестеренчатый насос смешивает воду и топливо в любом % но лучше примерно 30% воды и остальное топливо. Можно и в жигуль заливать в дизель нельзя.

Мотор - это другая жизнь! 😏 ...По мне - печка - наше ВСЁ!
Я посчитал скока требуется для баланса ...У Аракеляна 30% масла к воде... да и он сам такую цифирь выводит .
Но по мне интересен экс с металлической сеткой ...я кое что нарисовал по таким сообщениям ....
Сетка конечно будет "Сьедатъся" но это требуется проверять и предложение "железные гайки в реакторе" -не лишены смысла, но и не практичны !
Ну где везьмёт сельский житель гайки для печки ? ну разьве что с Ж/Д полотна ?:-)
/не понмю кто описал такую ситуацию ...из классиков , Чехов ? "


Размер: 48.60 KB

Нохрин | Post:699797 - Date: 22.11.20(17:20)
Мне 100 000 заплатили за технологию прошлой осенью. Наши российские люди. Им нужна такая печка для хозяйственных нужд. Поэтому сами понимаете.

<] [ 1 | ... 68 | 69 | 70 | 71 | 72 | 73 | 74 | 75 | 76 | 77 | 78 | 79 | 80 | 81 | 82 | 83 | 84 | 85 | 86 | 87 | 88 | ... | 94 ] [>
У Вас нет прав отвечать в этой теме.
Форум - Экономия топлива - Вода как топливо для мотора - Вода горит , вода топливо. - Стр 78
🏠 Главная | 📚 Содержание | 💬 Форум | 📁 Файлы | 📩 Контакт