[ВХОД]

25.03.26(01:47)

mob.skif.biz

Альтернативная энергия. Оставь надежду, всяк сюда входящий...

🏠 Главная | 📚 Содержание | 💬 Форум | 📁 Файлы | 📩 Контакт

🖥️ | 🖨️

Форум - Научные идеи, теории, предположения... - идеи и теории, научные и бредовые... - Межзвездный детекторный приемник - Стр:3
<] [ 1 | 2 | 3 | 4 | 5 | 6 | 7 | 8 | 9 | 10 | 11 | 12 | 13 | ... | 20 ] [>
Модератор: timecop
Первый пост темы: timecop Post: #697818 От:11.11.2020 (06:03)
Я вот что подумал. А если использовать методику Козырева для поиска не статического сигнала а изменяющегося с какой-то частотой. То есть грубо подключить резисторы не к омметру, а к осциллографу. Тут конечно напрямую подключение ничего не даст. Нужна схема меряющая изменения сопротивления и притом скорее всего высокочастотная. Зато в итоге мы получаем что-то типа детекторного приемника на мгновенно распространяющемся носителе. Об опытах Козырева с резисторами можно почитать например здесь [ссылка]
bazarov | Post:698599 - Date: 14.11.20(23:40)
Antek Пост: 698594 От 14.Nov.2020 (23:37)
Well Пост: 698592 От 14.Nov.2020 (23:35)
Antek Пост: 698589 От 14.Nov.2020 (23:33)
Тут весь смысл принять продольную волну,а не поперечную

Антек, про про продольные ЭМ-волны наверное в интернете начитался?

Я их сам получаю и принимаю.

Вообще-то продольные волны это.... обычные радиоволны 😀 . Причём обычная штыревая антенна принимает и продольные, и поперечные, и поляризованные волны. Так что.... Ну чо там с замещением 😕 ?

ПС. Где-то говорилось что для межзвёздного радиосообщения нужны гравитационные волны узкой направленности. Вроде их Козырев простым инфракрасным плёночным резистором принимал. От планет.

_________________
Не хватит никакого здоровья, чтобы приспособиться к этому глубоко больному обществу(Кришна Мурти)/Горшки не Боги обжигают (многовековая классика)



Well | Post:698600 - Date: 14.11.20(23:42)
Antek Пост: 698598 От 14.Nov.2020 (23:40)
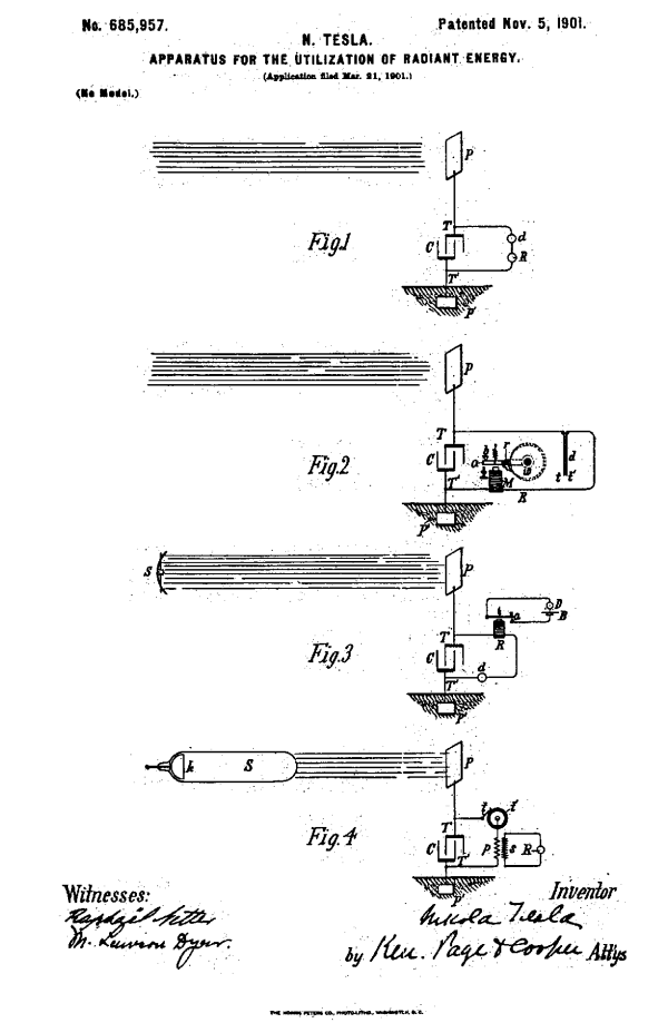
В теме радиантной энергии в видео грузина как создать.Как принять-патент Н.Теслы

Эти видео не берём в расчёт - это не серьёзно. Извини за прямоту.


Antek | Post:698601 - Date: 14.11.20(23:45)
Well Пост: 698600 От 14.Nov.2020 (23:42)
Antek Пост: 698598 От 14.Nov.2020 (23:40)
В теме радиантной энергии в видео грузина как создать.Как принять-патент Н.Теслы

Эти видео не берём в расчёт - это не серьёзно. Извини за прямоту.

Тогда прими,что ни-буть на схему из патента Теслы по приёму радиантной энергии. Вместе просмеёмся

_________________
А вы друзья как не садитесь-все в музыканты не годитесь.



Well | Post:698603 - Date: 14.11.20(23:50)
Antek Пост: 698601 От 14.Nov.2020 (23:45)
Well Пост: 698600 От 14.Nov.2020 (23:42)
Antek Пост: 698598 От 14.Nov.2020 (23:40)
В теме радиантной энергии в видео грузина как создать.Как принять-патент Н.Теслы

Эти видео не берём в расчёт - это не серьёзно. Извини за прямоту.

Тогда прими,что ни-буть на схему из патента Теслы по приёму радиантной энергии. Вместе просмеёмся

Здесь ведь так, ты говоришь радиант, веришь в радиант. Пусть так и будет. Я в работах Н. Теслы ничего необычного не вижу, всё вписывается в современную электродинамику. Мы оба в праве идти каждый своим путём.


bazarov | Post:698604 - Date: 14.11.20(23:51)
Antek Пост: 698601 От 14.Nov.2020 (23:45)
Well Пост: 698600 От 14.Nov.2020 (23:42)
Antek Пост: 698598 От 14.Nov.2020 (23:40)
В теме радиантной энергии в видео грузина как создать.Как принять-патент Н.Теслы

Эти видео не берём в расчёт - это не серьёзно. Извини за прямоту.

Тогда прими,что ни-буть на схему из патента Теслы по приёму радиантной энергии. Вместе просмеёмся

Покажи какой из них. [ссылка]

_________________
Не хватит никакого здоровья, чтобы приспособиться к этому глубоко больному обществу(Кришна Мурти)/Горшки не Боги обжигают (многовековая классика)



bazarov | Post:698605 - Date: 14.11.20(23:51)
Antek Пост: 698601 От 14.Nov.2020 (23:45)
Well Пост: 698600 От 14.Nov.2020 (23:42)
Antek Пост: 698598 От 14.Nov.2020 (23:40)
В теме радиантной энергии в видео грузина как создать.Как принять-патент Н.Теслы

Эти видео не берём в расчёт - это не серьёзно. Извини за прямоту.

Тогда прими,что ни-буть на схему из патента Теслы по приёму радиантной энергии. Вместе просмеёмся

Покажи какой из них. [ссылка]

_________________
Не хватит никакого здоровья, чтобы приспособиться к этому глубоко больному обществу(Кришна Мурти)/Горшки не Боги обжигают (многовековая классика)



Antek | Post:698607 - Date: 14.11.20(23:53)
Необычно-что обыкновенный провод заряжается на растоянии потенциалом в несколько киловольт без выпрямительных диодов

_________________
А вы друзья как не садитесь-все в музыканты не годитесь.



bazarov | Post:698608 - Date: 14.11.20(23:57)
Antek Пост: 698607 От 14.Nov.2020 (23:53)
Необычно-что обыкновенный провод заряжается на растоянии потенциалом в несколько киловольт без выпрямительных диодов
В СССР была такая книжка "юным физикам". Так там описывалось, что если на мокрую крышу положить мокрую тряпку и она высохнет, то крыша получает мильёны вольт потенциала... А ещё были просты опыты по снятию потенциала обычным ветром.... Подул ветер на шарик от Лейденской банки, а заряд возьми и "сдуйся".... Так что ударный импульс воздействуя за предмет даёт ему высоковольтный потенциал, а этот потенциал мгновенно отталкивает одноимённо заряженые частицы в поверхности (пыль, воздух, влага) и поэтому предмет остаётся заряженным.

Падент давай. То череп жмёт. Хочу чо-нить сломать на сон грядущий... 😕

_________________
Не хватит никакого здоровья, чтобы приспособиться к этому глубоко больному обществу(Кришна Мурти)/Горшки не Боги обжигают (многовековая классика)



Antek | Post:698617 - Date: 15.11.20(00:14)
Вот.


Размер: 1.56 MB

_________________
А вы друзья как не садитесь-все в музыканты не годитесь.



bazarov | Post:698619 - Date: 15.11.20(00:22)
Antek Пост: 698617 От 15.Nov.2020 (00:14)
Вот.
Спасибо за оперативность..... ну, в принципе всё правильно. Два нижних примера подтверждение тому. Предпоследний пример это современные параболические антенны, а последний обычный изотопный или ультрафиолетовый улавливатель. Надеюсть в курсе что радиационное излучение усиливает эффект передачи радиоволны? Направленный поток нейтронов как в старой ренгеновской трубке будет электроны и появится положительный заряд. Обычная работа старого рентгеновского аппарата.
Вот пример на картинке.
image

Это лампа с РУМ-20. Катод быстро вращается, на него идёт ток примерно 1-10 мА с анода и напряжение тыщи вольт. В итоге на выходе поток нейтронов. Обычная радиация. Вращающийся катод из чистого вольврама следан. Чтоб не сгорел быстро. Так что фронт ренгеновского излучения и есть так называемый радиант. С фотонами от ультрафиолета та же песня. Там приёмником даже тазик с водой может стать.

А передатчик есть на картинке:)?

_________________
Не хватит никакого здоровья, чтобы приспособиться к этому глубоко больному обществу(Кришна Мурти)/Горшки не Боги обжигают (многовековая классика)



Antek | Post:698624 - Date: 15.11.20(00:29)
bazarov Пост: 698619 От 15.Nov.2020 (00:22)


А передатчик есть на картинке:)?

Ничего подобного.Там киловольты наводятся и энергии столько-что можно и реле щёлкать и храповики крутить без внешнего питания.Я же говорил.Где видео.Схема-одна и та же почти во всех патентах Теслы. ВВ БП,ВВ конденсатор,разрядник и резонатор включенные последовательно,как в видео.Только там в роли резонатора выводы от конденсатор к разряднику.Патент немного обрезан.На первом рисунке Солнце.Тесла так прикалывался,что и трубку рентгеновскую тоже нарисовал.Это для просто повторяющих и не напрягающих голову.Без генератора ни одна схема работать не будет.А про нейтроны я тоже догадался-это они проходя через тело в рентген превращаются.

_________________
А вы друзья как не садитесь-все в музыканты не годитесь.



bazarov | Post:698626 - Date: 15.11.20(00:43)
Ничего подобного.Там киловольты наводятся и энергии столько-что можно и реле щёлкать и храповики крутить без внешнего питания.

Тоже мне диво.... Ну давай смотреть.
YouTube: Смотреть видео

YouTube: Смотреть видео

Всё крутится и вращается. Мощность мизерная.

ПС. Ты забываешь ещё один патент Н.Тесла, а именно про лампу накаливания светящуюся от ВН. Там КПД выше чем у обычной лампы в сотни раз. Трубку рентгеновскую вспомнил? Так у него там тонкая проволока и сотни киловольт. Вот "мягкий рентген" и светит. Потом уже придумали лампы ДНАТ и прочие галогенки. Замечу, галогеновые высокотемпературные лампы до сих пор имеют самый высокий КПД. Получается что дуговые лампы Тесла пережили лампы накаливания Эдисона. Во как. 😀

_________________
Не хватит никакого здоровья, чтобы приспособиться к этому глубоко больному обществу(Кришна Мурти)/Горшки не Боги обжигают (многовековая классика)



Antek | Post:698628 - Date: 15.11.20(00:50)
Ты ошибаешься про лампы Теслы-это лампы накала с одним центральным электродом,а вторым по поверхности колбы.Именно из-за радиантной энергии,шарик на электроде в середине раскалялся и получалась почти вечная лампочка накала.Тесла писал-что шарик внутри не обязательно должен быть металическим.Подходил и корунд-изолятор,который при нагревании начинал проводить ток не хуже металла.Чтобы работала лампа,к электроду на колбе присоединялся противовес или заземление.Их и сейчас имеют люди и не знают каким боком они служили в люстрах и подвешены были снизу её.Нас намеренно увели от радиантной энергии.Видео твои не в тему.В видео статика,а я про импульсный генератор радиантной энергии,который порождает продольную волну.С эффектами,присущими только ей.

_________________
А вы друзья как не садитесь-все в музыканты не годитесь.



bazarov | Post:698629 - Date: 15.11.20(00:59)
Antek | Post: 698628 - Date: 14.11.2020 (15:50)
Ты ошибаешься
Ошибается тот, кто нихрена не делает. 😀
1. Я знаю как такая лампа может светиться от стороннего излучения. Сам восстанавливал колбы в ВЧ поле, водород палил.
2. Радиантная энергия там по боку. Нынешняя лампа ДНАТ покруче будет Тесловской что 100 лет тому делали.
3. Не понимаю почему тебе так этот радиант нравится. Болотов без радианта все ваши СЕ и ВД с двигателями делает и хоть бы хны. К примеру ...

Ладно, секрет расскажу. Есть у Болотова видео где он рассказывает как из стопки солнечных батарей (фотоэлементов) в подвале киловатты сосёт. Там излучатель "радиантной энергии" пучком прямо в стопку этих фотоэлеметнов светит. Ну а дальше всё по науке. Нейтроны размножаются, выбивают электроны, появляются протоны с жёстким рентгеном, опять цепная реакия и понеслась..... Понимаешь о чём я? Никаких фокусов - суровая практическая физика. Причём фотоэлемент это та же термопара, только в виде напыления. Таких элементов можно тыщщи делать. Поставил в электромобиль, включил источник слабых протонов и поехал. Через сотню тыщ км заменил батареи, а старые в утиль или на переработку. Один фиг это стекло и тонкий слой металлов. И никакие высокие температуры не нужны.

На сегодня один секрет в одни руки. всё. 😭

ПС. Это ты про "тайные" двигателя ещё не в курсе.... Много у тебя чудес в жизни предвидится...

_________________
Не хватит никакого здоровья, чтобы приспособиться к этому глубоко больному обществу(Кришна Мурти)/Горшки не Боги обжигают (многовековая классика)



Antek | Post:698634 - Date: 15.11.20(01:14)
Так тут ВЧ нет.И электрод на конце раскаляется.Я ничего не придумал-просто читал В трудах Теслы как он создавал свои лампы и как решал технические вопросы,при этом возникающие.Про лампы Теслы-есть в открытом доступе.Разных конструкций-но по одному принципу работы.Не хочешь понять и увидеть-твоё дело.Я пробовал тебе объяснить,видно зря время потерял.Всё отключаюсь.

_________________
А вы друзья как не садитесь-все в музыканты не годитесь.



bazarov | Post:698643 - Date: 15.11.20(01:29)
Всё отключаюсь.
И я последую твоему примеру.... Посижу чуток, посмотрю, лягу баеньки и... отключусь 😀...

Я тоже читал "Дневники с Калорадо Спрингс". И да, я тоже читать умею 😀 .

И электрод на конце раскаляется

Электрод и с постоянным истекающим зарядом раскаляется, и с переменным. Ибо в лампе "тлеющий разряд".

_________________
Не хватит никакого здоровья, чтобы приспособиться к этому глубоко больному обществу(Кришна Мурти)/Горшки не Боги обжигают (многовековая классика)



timecop | Post:698665 - Date: 15.11.20(09:33)
В догонку всем любителям ловить колебания вероятности на телевизоры и микрофоны. Я еще раз повторюсь - прочитайте внимательно текст по ссылке. Для обнаружения сигнала во первых - приемник экранировался от всех воздействий кроме фокуса телескопа. Второе приемник работает гдето 10-15 минут - потом накапливаются структурные изменения и чтобы снова ловить сигнал ему надо отдохнуть 1-2 суток. Вы обеспечиваете эти условия в своих микрофонах и телевизорах?


zimnyaya | Post:698682 - Date: 15.11.20(12:21)
timecop Пост: 698665 От 15.Nov.2020 (09:33)
В догонку всем любителям ловить колебания вероятности на телевизоры и микрофоны. Я еще раз повторюсь - прочитайте внимательно текст по ссылке. Для обнаружения сигнала во первых - приемник экранировался от всех воздействий кроме фокуса телескопа. Второе приемник работает гдето 10-15 минут - потом накапливаются структурные изменения и чтобы снова ловить сигнал ему надо отдохнуть 1-2 суток. Вы обеспечиваете эти условия в своих микрофонах и телевизорах?

Вот вы сами на свой вопрос и ответили.
Если надо ждать несколько суток, пока датчик "остывает" от прежних измерений, значит сам принцип измерений накопительный.
И ни о каких частотах речи не идёт.

Вероятно, можно как то обойти это, придумав некое "размагничивающее поле" для датчиков, чтобы они приводились в исходное состояние гораздо быстрее...

_________________
Желудь-теоретик знает, как вырасти в дуб (c) Кнышев



Sergej_ | Post:698796 - Date: 15.11.20(23:06)
Well | Post: 698562 - Date: 14.11.20(22:21)
В итоге имеем два параллельных колебательных контура с общим сопротивлением потерь в 100 Ом в виде резистора R4, который включен между эмиттером транзистора Т1 и массой, то есть сопротивление потерь в 1-м контуре 100 Ом, во 2-м контуре тоже 100 Ом.
Расчитаем добротность любого из контуров, так как они эквивалентны:

Тут подмена. На схеме не параллельные контура, а последовательные. Для них формула другая.
Посчитаем добротность любого из контуров схемы по формуле:
Q= 100 Ом * Корень квадратный ( 0,0000000001 Ф / 0,000253 Гн) = 0,062

Мошенник. Ты взял формулу для параллельного контура. А на схеме последовательные контура. Для них расчет по другой формуле.
Q=wL/R=2*3.14*2.53E-4/100 = 16
На форуме скифа почему то собираются мошенники всех видов, они упорно пытаются обманывать, во всем.

Antek | Post: 698573 - Date: 14.11.20(23:07)
Принимать нужно сравнивая сигналы двух антенн,расположенных одна-сзади от другой.

А ты каким образом сравнивать будешь сигналы с антенн? Т.е. как будешь синфазность сигналов обеспечивать, ведь за счет скорости распространения фаза волн в двух антеннах будет разная. А скорость продольной волны вовсе не равна скорости поперечной волны. Поэтому неизвестно как можно соблюсти уравнивание набега фаз антенн за счет расположения антенн в разных точках пространства.
Тут весь смысл принять продольную волну,а не поперечную продольная всегда наводит в антенне напряжение одного знака.

А с чего ты решил что в антенне именно продольная волна напряжение наведет? Ты куда поперечную волну спрячешь? И почему продольная волна обязана наводить напряжение в антенне для поперечных волн?
bazarov | Post: 698599 - Date: 14.11.20(23:40)
ПС. Где-то говорилось что для межзвёздного радиосообщения нужны гравитационные волны узкой направленности. Вроде их Козырев простым инфракрасным плёночным резистором принимал. От планет.

Козырев принимал не гравитационные волны, а волны времени. И не от планет, а от звезд. И не инфракрасным резистором, а термистором. И вообще, для приема радиосообщения нужны радиоволны, а не гравитационные.

timecop | Post: 698665 - Date: 15.11.20(09:33)
Для обнаружения сигнала во первых - приемник экранировался от всех воздействий

Как говаривал герой всем известного фильма - "это вряд ли". От всех воздействий экранировать никак не получится. Даже от обычной радиоактивности экранировать весьма проблематично.

zimnyaya | Post: 698682 - Date: 15.11.20(12:21)
Вероятно, можно как то обойти это, придумав некое "размагничивающее поле" для датчиков, чтобы они приводились в исходное состояние гораздо быстрее...

Попов в своем приемнике использовал встряхивание детектора ударом молоточка чтобы привести детектор в исходное состояние. Многие датчики необычных полей чувствительны к механическому удару, он их "сбрасывает".


Antek | Post:698797 - Date: 15.11.20(23:29)
Sergej_ Пост: 698796 От 15.Nov.2020 (23:06)
Antek | Post: 698573 - Date: 14.11.20(23:07)
Принимать нужно сравнивая сигналы двух антенн,расположенных одна-сзади от другой.

А ты каким образом сравнивать будешь сигналы с антенн? Т.е. как будешь синфазность сигналов обеспечивать, ведь за счет скорости распространения фаза волн в двух антеннах будет разная. А скорость продольной волны вовсе не равна скорости поперечной волны. Поэтому неизвестно как можно соблюсти уравнивание набега фаз антенн за счет расположения антенн в разных точках пространства.
Тут весь смысл принять продольную волну,а не поперечную продольная всегда наводит в антенне напряжение одного знака.

А с чего ты решил что в антенне именно продольная волна напряжение наведет? Ты куда поперечную волну спрячешь? И почему продольная волна обязана наводить напряжение в антенне для поперечных волн?

Вот они и сравниваются(суммируются и вычитаются) на общей нагрузке

Так они и в разных точках пространства-катушек две.
Читай док на приёмник: Транскоммуникационный приемник DOLINA-50

Данная конструкция приёмника предназначена для приёма градиентов скалярных полей в пространстве. Основой является скалярный колебательный контур, построенный по мостовой схеме – этим и обеспечивается выделение фронта скалярной (продольной волны).
Интересный док получения продольной волны от сложения двух поперечных,но на более продвинутом принципе
b447e7.pdf
Размер: 237.38 KB

_________________
А вы друзья как не садитесь-все в музыканты не годитесь.



Well | Post:698798 - Date: 15.11.20(23:29)
Sergej_, сказать, что колебательные контуры последовательные, а не параллельные, не значит доказать это.

Прошу....


Sergej_ | Post:698808 - Date: 16.11.20(07:51)
Well Пост: 698798 От 15.Nov.2020 (23:29)
Sergej_, сказать, что колебательные контуры последовательные, а не параллельные, не значит доказать это.

Прошу....
Доказывать что 2х2=4 предлагайте кому нибудь из своих друзей-неадекватов. У кого глаза есть и хотя бы начальные знания в радиотехнике, тот сумеет отличить какой контур на схеме.


Sergej_ | Post:698809 - Date: 16.11.20(07:52)
Antek, с антенной то вопрос остался без ответа. Почему есть уверенность что антенна принимает именно продольную волну, а не поперечную?


timecop | Post:698811 - Date: 16.11.20(08:28)
теоретически можно просто раз в 10 мин менять приемник цена резисторов должна это позволять


Well | Post:698812 - Date: 16.11.20(08:32)
Sergej_ Пост: 698808 От 16.Nov.2020 (07:51)
Well Пост: 698798 От 15.Nov.2020 (23:29)
Sergej_, сказать, что колебательные контуры последовательные, а не параллельные, не значит доказать это.

Прошу....
Доказывать что 2х2=4 предлагайте кому нибудь из своих друзей-неадекватов. У кого глаза есть и хотя бы начальные знания в радиотехнике, тот сумеет отличить какой контур на схеме.

1. У меня нет друзей.
2. И всё же, где на схеме последовательные колебательные контуры?


<] [ 1 | 2 | 3 | 4 | 5 | 6 | 7 | 8 | 9 | 10 | 11 | 12 | 13 | ... | 20 ] [>
У Вас нет прав отвечать в этой теме.
Форум - Научные идеи, теории, предположения... - идеи и теории, научные и бредовые... - Межзвездный детекторный приемник - Стр 3
🏠 Главная | 📚 Содержание | 💬 Форум | 📁 Файлы | 📩 Контакт