[ВХОД]
29.05.26(21:58)

mob.skif.biz

Альтернативная энергия. Оставь надежду, всяк сюда входящий...

🏠 Главная | 📚 Содержание | 💬 Форум | 📁 Файлы | 📩 Контакт
 
Резонансные генераторы
Магнитные генераторы
Механические центробежные (вихревые) генераторы
Электростатические генераторы
Водородные генераторы
Ветро- и гидро- и солнечные генераторы
Прочие идеи (разные)
О форуме
Транспорт
Оружие
Научные идеи, теории, предположения...
Экономия топлива
Коммерческие вопросы
Струйные технологии
Торсионные генераторы
Новые технологии
Барахолка
Патентный отдел
Конструкторское бюро
Нейтронная физика
Торнадо и смерчи
Гравитация и антигравитация
Сделай сам. Советы.
Медицина и здравоохранение

🖥️ | 🖨️

Форум - Электростатические генераторы - Электростатика - Бифилярная катушка Никола Тесла (valeralap) - Стр:60
<] [ 1 | ... 50 | 51 | 52 | 53 | 54 | 55 | 56 | 57 | 58 | 59 | 60 | 61 | 62 | 63 | 64 | 65 | 66 | 67 | 68 | 69 | 70 | ... | 489 ] [>
Модератор: valeralap
Первый пост темы: valeralap Post: #626158 От:08.06.2019 (08:37)
Различного рода абстрактные не связанные с темой выступления, будут удалятся. Все конструктивное будет приветствоваться. Можно оказывать помощь в виде оформления или правки, если сочтете за необходимость. Если активность будет низкая, то-от этого будет зависеть скорость вашего продвижения.
Stels | Post:692188 - Date: 16.09.20(13:56)
valeralap Пост: 692137 От 16.Sep.2020 (04:38)
Насчет заземления и что де получаю ток из земли. У любого исследователя и у меня в частности мышление развивается в сторону удачных опытов и их повторяемости. Естественно проверял и с заземлением и без него. Обнаружил, что оно не обязательно даже для асимметричных схемных решений..

Могу для публики перейти полностью на язык классики отказавшись от термина эфир и не упоминая вакуум,ссылаясь только на заряды и электроны которые всегда и везде присутствуют вокруг нас. Так как электроны и заряды в природе существуют в свободном виде везде, требуется схемное решение создающее упорядоченное их движение, что и есть механизм движения тока. Схемные решения как разобрался могут быть как симметричные так и асимметричные с вытекающими последствиями, нужно заземлять или оно совершенно бесполезно.

Не очень зацикливайтесь на решении в схемотехнике. Пример, я дал вам схему с трубкой Грея с целью, что бы вы вычислили изюминку в преобразовании, а вы все усилия направили на поиск в схеме бифилярной катушки!?


Золотые слова!
Но скорей только для тех кто понимает о чем речь. Для обывателя, это просто тект...

_________________
Из ничего ничто произойти не может; ничто существующее не может быть уничтожено, и всякое изменение состоит лишь в соединении и разделении. Демокрит 460-370 гг. до н....


Antek | Post:692196 - Date: 16.09.20(14:22)
Stels Пост: 692188 От 16.Sep.2020 (13:56)
valeralap Пост: 692137 От 16.Sep.2020 (04:38)

Не очень зацикливайтесь на решении в схемотехнике. Пример, я дал вам схему с трубкой Грея с целью, что бы вы вычислили изюминку в преобразовании, а вы все усилия направили на поиск в схеме бифилярной катушки!?


Золотые слова!
Но скорей только для тех кто понимает о чем речь. Для обывателя, это просто тект...

Раз всё так понятно -в чём изюминка,про которую намекал Валера?

_________________
А вы друзья как не садитесь-все в музыканты не годитесь.


Stels | Post:692231 - Date: 16.09.20(18:49)
В самой трубке и есть изюм! 😊 Стержень возбудитель для среды, окружающей сам стержень. И Сетки, располагающиеся в СВ (стоячей волне) возбужденной среды. Чтобы трубка закурила, нужно подобрать напряжение и частоту на которой СВ возникнет именно в месте расположения съемных сеток. Что есть СВ в среде, намеренно не говорю чего, Это уже другой вопрос.
Вот так я понимаю изюм в булочке! 😶

_________________
Из ничего ничто произойти не может; ничто существующее не может быть уничтожено, и всякое изменение состоит лишь в соединении и разделении. Демокрит 460-370 гг. до н....


Antek | Post:692233 - Date: 16.09.20(19:12)
Stels Пост: 692231 От 16.Sep.2020 (18:49)
В самой трубке и есть изюм! 😊 Стержень возбудитель для среды, окружающей сам стержень. И Сетки, располагающиеся в СВ (стоячей волне) возбужденной среды. Чтобы трубка закурила, нужно подобрать напряжение и частоту на которой СВ возникнет именно в месте расположения съемных сеток. Что есть СВ в среде, намеренно не говорю чего, Это уже другой вопрос.
Вот так я понимаю изюм в булочке! 😶

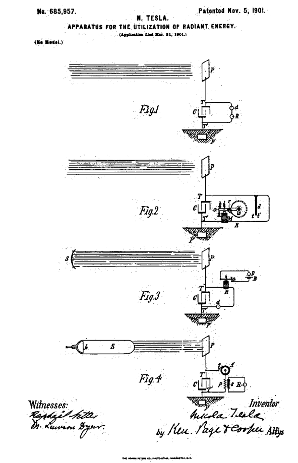
Трубка Грея работает согласно патенту Теслы

Патент
Размер: 1.56 MB

_________________
А вы друзья как не садитесь-все в музыканты не годитесь.


BAP | Post:692379 - Date: 17.09.20(17:17)
По стопам Валерия Иосифовича. Допёр как получать короткие импульсы в бифиляре.


Размер: 85.43 KB

Antek | Post:692382 - Date: 17.09.20(17:39)
BAP Пост: 692379 От 17.Sep.2020 (17:17)
По стопам Валерия Иосифовича. Допёр как получать короткие импульсы в бифиляре.

Возьми линейную галогенку-будет ещё красивее.Молодчина,рук не опускаешь.

_________________
А вы друзья как не садитесь-все в музыканты не годитесь.


bazarov | Post:692386 - Date: 17.09.20(18:05)
BAP Пост: 692379 От 17.Sep.2020 (17:17)
По стопам Валерия Иосифовича. Допёр как получать короткие импульсы в бифиляре.

Чудесно. Точно так же светится лампочка в пластинах ВЧ конденсатора примерно на 6-30 МГц. Особенно если лампа старая и в ней немного водорода скопилось.

ПС. Верной дорогой идёте товарищи, практические опыты даже с вас элехтриков сделают 😀 !!

_________________
Не хватит никакого здоровья, чтобы приспособиться к этому глубоко больному обществу(Кришна Мурти)/Горшки не Боги обжигают (многовековая классика)


Sergey_777 | Post:692387 - Date: 17.09.20(18:11)
BAP Пост: 692379 От 17.Sep.2020 (17:17)
По стопам Валерия Иосифовича. Допёр как получать короткие импульсы в бифиляре.

Импульсы от разряда бифиляра через разрядник или подразумевается совершенно другое?

BAP | Post:692391 - Date: 17.09.20(18:41)
Sergey_777 Пост: 692387 От 17.Sep.2020 (18:11)
BAP Пост: 692379 От 17.Sep.2020 (17:17)
По стопам Валерия Иосифовича. Допёр как получать короткие импульсы в бифиляре.

Импульсы от разряда бифиляра через разрядник или подразумевается совершенно другое?
Да, как у Валеры схема.

BAP | Post:692392 - Date: 17.09.20(18:43)
bazarov Пост: 692386 От 17.Sep.2020 (18:05)
BAP Пост: 692379 От 17.Sep.2020 (17:17)
По стопам Валерия Иосифовича. Допёр как получать короткие импульсы в бифиляре.

Чудесно. Точно так же светится лампочка в пластинах ВЧ конденсатора примерно на 6-30 МГц. Особенно если лампа старая и в ней немного водорода скопилось.

ПС. Верной дорогой идёте товарищи, практические опыты даже с вас элехтриков сделают 😀 !!
Лично мне твои выпады , до лампочки. Я уже видел как этот импульс может усиливать мощность.

valeralap | Post:692393 - Date: 17.09.20(18:47)
BAP Пост: 692379 От 17.Sep.2020 (17:17)
По стопам Валерия Иосифовича. Допёр как получать короткие импульсы в бифиляре.


Данным постом ты поймал двух зайцев, обрел непоколебимую веру в то что у меня нет пустых опытов. Второе, перед тобой медленно открывается очень интересное направление. Я за тебя, искренне доволен...
Не обращай особого внимания на язвительную форму комментарии, пока из них некто опытным путем не получит подтверждение, все их умозаключения не имеют точки опоры.

Поставь в холодный конец бифиляра резистор в один ом, и параллельно подключи осциллограф, посмотри форму сигнала, очень познавательно.

_________________
Чтобы слушать Иисуса Христа, нужно быть, хотя бы его апостолом!


Antek | Post:692445 - Date: 18.09.20(11:39)
Намекаешь на аквариум?

_________________
А вы друзья как не садитесь-все в музыканты не годитесь.


УжосМляНах | Post:692448 - Date: 18.09.20(12:40)
Antek Пост: 692445 От 18.Sep.2020 (11:39)
Намекаешь на аквариум?

Не попасёшься тут ты теперь...
Словил в личку и сделал кое что, а далее никак?
Ну пасибку бы хоть сказал на форуме...
А так сам, всё сам...

Antek | Post:692452 - Date: 18.09.20(14:02)
УжосМляНах Пост: 692448 От 18.Sep.2020 (12:40)
Antek Пост: 692445 От 18.Sep.2020 (11:39)
Намекаешь на аквариум?

Не попасёшься тут ты теперь...
Словил в личку и сделал кое что, а далее никак?
Ну пасибку бы хоть сказал на форуме...
А так сам, всё сам...

СПАСИБКИ ВАЛЕРЕ ОТ АНАТОЛИЯ.Лучше поздно-чем никогда.Нет я не остановился-но иду своим путём.Я не гонюсь за эффектами-я совершенствую основной процесс какой Валера называет преобразование,а я получением радианта-продольной электромагнитной волны.Но как ни странно именно величина этих эффектов и указывает на более совершенное преобразование.В своей ветке я выложил два видио-в одном эффект совсем маленький-а во втором огромный,но сравнить и заметить видимо сложно или попросту никому не нужно.

_________________
А вы друзья как не садитесь-все в музыканты не годитесь.


УжосМляНах | Post:692462 - Date: 18.09.20(15:38)
А мне спасибку?
Хотя уже не надо...

Теперь сам, всё сам...

Antek | Post:692468 - Date: 18.09.20(17:48)
УжосМляНах Пост: 692462 От 18.Sep.2020 (15:38)
А мне спасибку?
Хотя уже не надо...

Теперь сам, всё сам...

Ужасу отдельное спасибки за предоставленную ценную информацию по теме.

_________________
А вы друзья как не садитесь-все в музыканты не годитесь.


alcolyt | Post:692609 - Date: 20.09.20(13:28)
image

Может пригодится кому.

Капанадзе
Размер: 177.07 KB

zimnyaya | Post:693047 - Date: 23.09.20(02:07)
alcolyt Пост: 693043 От 22.Sep.2020 (22:52)
Нах никому не надо 😎 . Тема закрыта 😬

Ну потому что это фигня, а не схема.
Если это перерисовка гринбокса Капанадзе, то у него были нвертор на 100 Вт или около того.
А по этой схеме к нему на выход подключается нагрузка на 6 кВт.
Что с инвертором при этом будет, наверное объяснять не надо.

По сути, на схеме перерисовка опыта некоего mmc с второго странника.
Только инвертор добавлен, а не от розетки.
И сколько я у него не пыталась выяснить элементарные вводные данные по входу и выходу, он молчал как партизан.
Достаточно странное поведение для человека, который утверждает, что разгадал там что-то, а на элементарные вопросы ответить не в состоянии.

_________________
Желудь-теоретик знает, как вырасти в дуб (c) Кнышев


DED | Post:693058 - Date: 23.09.20(11:16)
Попытался нарисовать схему из видео Валерия Иосифовича. Не понял только - это дроссель в резонансе или транс, так как проводов от вторичной обмотки трансформатора не видно.И где замерялась мощность в 74Вт?



Размер: 442.37 KB

Antek | Post:693061 - Date: 23.09.20(12:18)
DED Пост: 693058 От 23.Sep.2020 (11:16)
Попытался нарисовать схему из видео Валерия Иосифовича. Не понял только - это дроссель в резонансе или транс, так как проводов от вторичной обмотки трансформатора не видно.И где замерялась мощность в 74Вт?

То резонансный трансформатор.Нагрузка во вторичке. И на вторичку примешивается через разрядник ВЧ импульсы с горшка,первичка которого подключена последовательно через разрядник к выходу ВВ генератора.Я так предполагаю.

_________________
А вы друзья как не садитесь-все в музыканты не годитесь.


Carn | Post:693068 - Date: 23.09.20(14:36)
Вообще-то Валерий даже указывал тип применяемого трансформатора

_________________
Из Шамбалы лохом никто не возвращался


DED | Post:693070 - Date: 23.09.20(14:52)
Carn Пост: 693068 От 23.Sep.2020 (14:36)
Вообще-то Валерий даже указывал тип применяемого трансформатора

Да, типа ОСМ 0,63 КВА, но он может быть перемотан как угодно, в него можно ввести воздушный зазор, где-нибудь сзади можно подложить добавочное железо к сердечнику. Из ролика не видно даже подключение, поэтому и возник вопрос- а не дроссель ли это в резонансе с конденсатором, включенный параллельно сети? А если это трансформатор типа изолирующего 220В на 220В, то получается два источника питания включенные последовательно и работающие на одну лампочку. Тогда мощность какого из этих двух источников равна 74Вт?

BAP | Post:693071 - Date: 23.09.20(14:54)
По стопам Валерия Иосифовича. Продолжение. Сделал по быстрому. Видео так себе, но про эффект даёт некоторое представление. Первое видео: разряд в разряднике прямо от ТДКС.
713be3.mp4
Размер: 852.70 KB

BAP | Post:693072 - Date: 23.09.20(14:55)
Второе видео: разряд на разряднике после бифилярки.
f40f0d.mp4
Размер: 890.14 KB

valeralap | Post:693075 - Date: 23.09.20(15:53)
BAP Пост: 693072 От 23.Sep.2020 (14:55)
Второе видео: разряд на разряднике после бифилярки.
>BAP,- если так будешь продвигаться, то скоро я буду у тебя подсказки выпрашивать... 😎 Я доволен... Утер носы скифовскому бомону.

_________________
Чтобы слушать Иисуса Христа, нужно быть, хотя бы его апостолом!


<] [ 1 | ... 50 | 51 | 52 | 53 | 54 | 55 | 56 | 57 | 58 | 59 | 60 | 61 | 62 | 63 | 64 | 65 | 66 | 67 | 68 | 69 | 70 | ... | 489 ] [>
У Вас нет прав отвечать в этой теме.
Форум - Электростатические генераторы - Электростатика - Бифилярная катушка Никола Тесла (valeralap) - Стр 60
🏠 Главная | 📚 Содержание | 💬 Форум | 📁 Файлы | 📩 Контакт