[ВХОД]
18.04.26(11:41)

mob.skif.biz

Альтернативная энергия. Оставь надежду, всяк сюда входящий...

🏠 Главная | 📚 Содержание | 💬 Форум | 📁 Файлы | 📩 Контакт
 
Резонансные генераторы
Магнитные генераторы
Механические центробежные (вихревые) генераторы
Электростатические генераторы
Водородные генераторы
Ветро- и гидро- и солнечные генераторы
Прочие идеи (разные)
О форуме
Транспорт
Оружие
Научные идеи, теории, предположения...
Экономия топлива
Коммерческие вопросы
Струйные технологии
Торсионные генераторы
Новые технологии
Барахолка
Патентный отдел
Конструкторское бюро
Нейтронная физика
Торнадо и смерчи
Гравитация и антигравитация
Сделай сам. Советы.
Медицина и здравоохранение

🖥️ | 🖨️

Форум - Электростатические генераторы - Электростатика - Бифилярная катушка Никола Тесла (valeralap) - Стр:40
<] [ 1 | ... 30 | 31 | 32 | 33 | 34 | 35 | 36 | 37 | 38 | 39 | 40 | 41 | 42 | 43 | 44 | 45 | 46 | 47 | 48 | 49 | 50 | ... | 483 ] [>
Модератор: valeralap
Первый пост темы: valeralap Post: #626158 От:08.06.2019 (08:37)
Различного рода абстрактные не связанные с темой выступления, будут удалятся. Все конструктивное будет приветствоваться. Можно оказывать помощь в виде оформления или правки, если сочтете за необходимость. Если активность будет низкая, то-от этого будет зависеть скорость вашего продвижения.
Antek | Post:650262 - Date: 19.11.19(10:56)
Получил первые результаты. БТГ-это такое устройство-в котором генерируются и усиливаются колебания зарядов и энергию с них можно снять на нагрузке,включенной в разрыв провода заземления,подсоединённого в некоторой точке к нему. Пока усиления скорее всего нет,но энергия системы взаимодействует с Землёй и в заземлении светится в пол накала лампочка 220В и 10Вт. Свечение не стабильное,яркость изменяется хаотически.Эффект возникает строго при определённой частоте и скважности импульсов генератора,воздействующих на схему.Также здорово влияет величина искрового промежутка(тоже строго определённая),через который вкачивается энергия в устройство.То-есть энергия должна поступать в нужный момент и затем источник и сама резонирующая катушка должны разъединяться тоже на определённое время.
Интересные видео: Часть 1. Генератор ударных волн или потерянные знания Теслы
Продолжение :Часть2...,часть3... .Автор Bolivar Sergo.

_________________
А вы друзья как не садитесь-все в музыканты не годитесь.


neama | Post:650265 - Date: 19.11.19(11:05)
еще пороеш, и дороешься до стоячей волны и методов ее генерации на длинной линии. с искровым промежутком как источником ХАЯЛЬНЫХ лектронов. 😎
короче придешь к тому о чем дед грил...

_________________
Раздражайтесь, это улыбает...


inventives | Post:650940 - Date: 23.11.19(09:12)
Понятно, что видео - просто прикол.
Но не напоминает это по конструкции градиентный конденсатор ?
[ссылка]

Конденсатор Фролова. Асимметрия взаимодействия заряженных тел
[ссылка]

YOGIK | Post:651573 - Date: 27.11.19(17:22)
Ещё раньше намотал 4 плоских катушки и решил провести эксперимент. И вот что получилось.
YouTube: Смотреть видео


inventives | Post:651698 - Date: 28.11.19(10:11)
С точки зрения волнового процесса можно работать как на повышение, так и на понижение частот.
Если учесть, что кладовая энергии эфира находится на 10 32 гц. то нам как-раз и надо работать на понижение, желательно до общепринятых 50 гц. Для этого достаточно получить и трансформировать СВЧ псевдохаос. Кстати, в искре тоже косвенно присутствует псевдохаос широченного спектра !.


Ударное возбуждение
Размер: 142.36 KB

"Рыбки"
Размер: 124.23 KB

Antek | Post:652127 - Date: 30.11.19(19:35)
valeralap Пост: 649859 От 16.Nov.2019 (01:06)

Катушка намотана на трубе пластиковой 50мм в диаметре на ней ЧЕТЫРЕ СЛОЯ.
Самое большое внимание уделялось изоляции провода.


Изоляция капроновой плёнкой от пластиковых бутылок?


_________________
А вы друзья как не садитесь-все в музыканты не годитесь.


YOGIK | Post:655637 - Date: 27.12.19(10:57)
У меня спрашивали о работах Мультика по совмещению LC и волнового резонансов.
ab4e83.pdf
Размер: 467.75 KB
845f80.pdf
Размер: 1.34 MB
86b89f.pdf
Размер: 1.23 MB

matros | Post:655668 - Date: 27.12.19(14:34)
YOGIK Пост: 655637 От 27.Dec.2019 (10:57)
У меня спрашивали о работах Мультика по совмещению LC и волнового резонансов.


Респект конечно за проделанную работу, но гораздо проще намотать 2 катушки на усеченных конусах чтоб двигались одна относительно другой,Ю подать частоту с длиной волны 1/2 от часты зависящей от длинны обмоток и двигая одну относительно другой подогнать LC резонанс.

_________________
Бессмыслица — искать решение, если оно и так есть. Речь идёт о том, как поступить с задачей, которая решения не имеет.(АиБ)


YOGIK | Post:655695 - Date: 27.12.19(21:23)
matros Пост: 655668 От 27.Dec.2019 (14:34)
YOGIK Пост: 655637 От 27.Dec.2019 (10:57)
У меня спрашивали о работах Мультика по совмещению LC и волнового резонансов.


Респект конечно за проделанную работу, но гораздо проще намотать 2 катушки на усеченных конусах чтоб двигались одна относительно другой,Ю подать частоту с длиной волны 1/2 от часты зависящей от длинны обмоток и двигая одну относительно другой подогнать LC резонанс.


А есть ли видео или лаба по двум конусам ?

matros | Post:655921 - Date: 29.12.19(16:05)
YOGIK Пост: 655695 От 27.Dec.2019 (21:23)


А есть ли видео или лаба по двум конусам ?

Нет к сожалению к этой идее я пришел исследуя 2х слойный бифиляр Тесла намотанный на пластиковой трубе 100 и длиной 700 там четко прослеживается 2 резонанса "волновой" тот который зависит от длины провода и LC. который зависит от емкости и индуктивности бифиляра . Могу только сказать что волновой менее ярко выражен чем LC . и частота последнего гораздо меньше котору примерно можно прикинуть замерив емкость между обмотками затем их соединив замерить индуктивность по формуле Томпсона находим период и частоту затем частоту умножаем на 2 это будет близко к реальной частоте лс резонанса бифиляра. И тут пришла мысля что можно сделать проще на конусах примерно посчитав и затем подогнав их смещением но руки пока не дошли 🤢 кстати думаю я не первый у Тесла есть фотки с усеченными конусами .
зы напругу подавал с полумоста в место соединения начала с концом, вторые концы катушек ни к чему не подключены.

_________________
Бессмыслица — искать решение, если оно и так есть. Речь идёт о том, как поступить с задачей, которая решения не имеет.(АиБ)


zimnyaya | Post:669336 - Date: 17.04.20(04:05)
valeralap Пост: 639841 От 06.Sep.2019 (15:56)
Вообще то на обоих ветках есть практически 99% нужной информации. Остается всего один процент. В одном из интервью Тариель Капанадзе произносит очень интересную фразу, которая заставила меня думать... Мысленно часами днями всячески подстраиваясь под его восприятие, учитывая характер, условие его жизни перебирая всякие варианты, в один момент понял как мне показалось смысл его фразы. Немного посчитав, все стало сходится. Когда сделал макет для опыта то же сходу получил ожидаемое. Когда стал обдумывать обратный процесс то понял, что через правила электроники к такому решению вообще нельзя приблизится.
По моим понятиям, Тариель Капанадзе эйдетик, он решения находит через механику, а воплощает через готовые схемные решения, подбирая наиболее подходящие. Потом кропотливо доводит настройкой. Что бы дойти до этого последнего процента, нужно свой мыслительный процесс подстроить до его уровня. Знания ваши тут не причем, они балласт, который ограничивает свободу мысли.
Накидаю фото где всячески выискивал подсказки.
Есть еще около 14000, как фото, так и схем.

Всё же интересно, каким именно конструктивным способом Капанадзе получал высоковольтные импульсы.

_________________
Желудь-теоретик знает, как вырасти в дуб (c) Кнышев


zimnyaya | Post:670850 - Date: 23.04.20(21:05)
missioner Пост: 669346 От 17.Apr.2020 (08:37)
Посмотрел и жуткое разочарование. По крылышкам. Я бы ещё удивился если бы не одно крылышко взлетало над другим а два крыла вместе взлетали. А так..... Это можно было бы и с двумя магнитами снять с ахами и охами. Или с заряженными одноименными зарядами лепестками... Одним словом-видео с крылышками это видео НИ О ЧЁМ, ТАК,ОТВЛЕЧЕНИЕ ВНИМАНИЯ.

Как можно отвлекаться на ерунду, когда вокруг столько недоисследованных бифилляров? 😈
valeralap, похоже, решил забросить ветку. Это печально

_________________
Желудь-теоретик знает, как вырасти в дуб (c) Кнышев


valeralap | Post:676370 - Date: 24.05.20(05:47)
Переползайте на эту ветку с Мельниченсковской, сюда перетащу шапку. Тема зазора в магнитопроводе вам сейчас не нужна, пока не найдете усиление в бифилярной катушке.

Для чего понадобилось мне заниматься термином энергия?
При любых размышлениях об энергии, мысль всегда упирается в утилизацию углеводородов или потребление других видов форм, но опять топлива.
Топливом всегда в таких размышлениях неизбежно выступает, какая - то масса вещества. Примеров полно, нет надобности, повторятся. Из-за различных форм топлива, термин энергия, приобрел полностью абстрактный смысл. Все что движется, вращается, горит, взрывается, все называется энергией. Вопрос, где главный механизм, который скрыт под данным термином? Первая сжатая трактовка,- энергия это некий процесс. Энергия полная абстракция, а вот термин процесс, уже указывает на некоторые физические параметры.
1.Процесс,- может, протекает только во времени.
2. Процесс протекает только с различными формами материи- деление, движение, ускорение, вращение, расширение, и т д.
3. Процесс некогда не может начаться без сил давления! Любое возникновение движения связано с приложением сил давления, не важно, на каком уровне это происходит, это могут быть любые механические взаимодействия, электрические, магнитные, гравитационные, но без начальных сил давления не одно перечисленное, процессом не станет.
Пример, если вы видите тело в абсолютном покое, все равно в нем протекают тепловые процессы, а это форма движения.
Вывод, для того что бы возник энергетический процесс нужно создать, потом затратить,- силу давления. Вот и притопал прямиком к топливу и закону сохранения энергии. Так как образование у меня профильное электронное то все механическое мне чуждо, привожу примеры с механикой только для внесения ясности. Силы давления в любом энергетическом процессе имеют очень короткую фазу, только в самом начале создания движения.
Раз по условию задачи без топлива вечняк не светит, будем искать топливо -халявное!... Что искать, для человека вся природа и есть халява только природа щедро делится с теми кто трудолюбив в стремлении.
Проявим трудолюбие, что бы сократить, почитаем, что там великие умы нам оставили. Перечитал в сотый раз, все, что имел о Никола Тесла. Первое впечатление- эфир, опять эфир, энергия из эфира? Кто только зубы не сломал, на это эфире. К черту эфир, Никола Тесла занимался всю жизнь электрическими явлениями! Это очевидный факт,- его слова, энергия вокруг нас, только ее нужно уметь взять! Что там вокруг Никола Тесла могло быть такого, чего нет у нас, должно быть, все тоже… Вокруг нас постоянно существуют не исчислимое количество зарядов. В металлах всегда полно свободных электронов. Да, и что? Знаем, в школу ходили, удивил… Так и я в школу ходил, и знал, а пока по кругу лет с десяток не побегал не приходило в голову, что окружающее нас заряды-электроны и есть халявное топливо!!! Вот уж истинно сказано! Хочешь спрятать, положи на самое видное место, никто не возьмет!... Из своих (философских) умозаключений следует, энергия –как процесс, требует создать движение… Так,- классическая физика тоже самое глаголет. Ток, это упорядоченное движение электронов под действием электромагнитного поля. Вот и получается заряды – электроны есть всегда и везде в свободном неограниченном доступе, исчерпать человечество не сможет этот вид топлива теоретически некогда! Что требуется? Всего-то толкнуть свободные электроны в любом проводнике, что бы упорядочить их движение, и вам обеспечена энергия. Разрядник, по сути, и создает силы давления, убирая из цепи против ЭДС. Что самое парадоксальное, на создание сил начального давления, то есть искры в разряднике, (в перспективе от него легко избавится) совершенно ненужно затрачивать гигантские мощности. Это разъяснение есть в лекции Никола Тесла. Разговор с адвокатом. Вижу, как тоскливо вытянулись лица, знали все, что я вам тут написал, можно смело начинать кидать какашками… Беда для вас в том, что остались слова Никола Тесла. Энергию, надо суметь взять!

Вся информация у вас на руках! Вы искали источник в виде халявного топлива. Он полностью перед вами и с вами всегда, это свободные электроны и заряды. БТГ напрямую преобразующая заряды это машина ТЕСТАТИКА. Свободные электроны которых полно в нашей земле матушке и во всех металлах БТГ такого типа это которые при образуют свободные электроны БТГ Капанадзе. БТГ Капанадзе имеют заземление. Примером приобразования свободных электронов без заземления, может служить БТГ Хаббарда, оно не нуждается в заземлении. Во всех этих устройствах не нарушен закон сохранения ЭНЕРГИИ. Электроны-заряды неисчерпаемый вид энергии!

Вся хитрость кроется в преобразовании, это открытие принадлежит, гению Никола Тесла.
Основа усилительных возможностей энергии базируется на двух патентах Никола Тесла разрядник и бифилярная катушка!!!
Чем быстрее вы изучите и поймете работу бифилярной катушки, тем быстрее приблизитесь к собственному созданию любого по мощности автономного источника энергии!







Размер: 75.88 KB


Размер: 70.66 KB


Размер: 158.92 KB

_________________
Чтобы слушать Иисуса Христа, нужно быть, хотя бы его апостолом!


Stels | Post:676373 - Date: 24.05.20(09:18)
Некоторы варианты бифов


Размер: 261.65 KB

_________________
Из ничего ничто произойти не может; ничто существующее не может быть уничтожено, и всякое изменение состоит лишь в соединении и разделении. Демокрит 460-370 гг. до н....


Stels | Post:676396 - Date: 24.05.20(20:47)
Ну и славно! Можно в тишине обсудить. А что, найдется.
И первое что хотелось бы, это принцип схемы, если конечно не против. Если я правильно понимаю, в ней заложен основнтй процент успеха.


Размер: 11.16 KB

_________________
Из ничего ничто произойти не может; ничто существующее не может быть уничтожено, и всякое изменение состоит лишь в соединении и разделении. Демокрит 460-370 гг. до н....


valeralap | Post:676410 - Date: 24.05.20(23:03)
Схемы?...Схемы так схемы...


Размер: 25.53 KB


Размер: 11.21 KB


Размер: 82.89 KB

_________________
Чтобы слушать Иисуса Христа, нужно быть, хотя бы его апостолом!


mebius | Post:676412 - Date: 24.05.20(23:14)
Stels Пост: 676396 От 24.May.2020 (20:47)
Ну и славно! Можно в тишине обсудить. А что, найдется.

Давненько это было - размышлял на данную тему по случаю. Даже картинка сохранилась. В бифилярке существует такое явление, как возникновение сил Лоренца в режиме стоячих волн. Поскольку в одной ветке пучность тока, а в другой пучность напряжения, то эти силы Лоренца как раз направлены в ту же сторону, куда течет ток в соответствующей ветке катушки, ускоряя движение зарядов.
На картинке обозначены вектора электрического и магнитного полей, и направление силы Лоренца.
Силы Лоренца в бифилярной катушке
Силы Лоренца в бифилярной катушке
Размер: 28.36 KB

_________________
Всегда нужно быть готовым к тому, что убеждения, которых придерживался в течении долгого времени, могут оказаться ошибочными\\\". П.А.М. Дирак


MSN | Post:676427 - Date: 25.05.20(01:14)
mebius Пост: 676412 От 24.May.2020 (23:14)
В бифилярке существует такое явление, как возникновение сил Лоренца в режиме стоячих волн. Поскольку в одной ветке пучность тока, а в другой пучность напряжения, то эти силы Лоренца как раз направлены в ту же сторону, куда течет ток в соответствующей ветке катушки, ускоряя движение зарядов.
На картинке обозначены вектора электрического и магнитного полей, и направление силы Лоренца.

извините, но что-то не догоняю...
что за бифиляр именно ? (Подозреваю что речь идет о бифиляре по Тесле)
У Вас ни на схеме, начало и конец не обозначены, ни на рисунке не понятно устройство этого "бифиляра"... в коричневых проводниках направление тока указано, в зеленых - нет. Если по Тесле, то направление токов ив коричневом и в зеленом одинаково ?
Не поясните более подробно ?

_________________
Говорите говорите, я всегда зеваю когда мне интересно. 99,9% всех СЕ устройств, - от неправильных измерений


valeralap | Post:676430 - Date: 25.05.20(02:18)
За эти слова, я бы тебя расцеловал по БРЕЖНЕВСКИ!!!😎 Все до обалдения просто... Не одному умнику в голову не пришло зачем у меня на видео довольно мощный транс стоит.
Эффект от катушки с Теслой нужно перенести на обычный трансформатор и всё у вас получится. ПС. Все формулы для расчёта находятся в учебниках типа "начинающему радиолюбителю". 😎

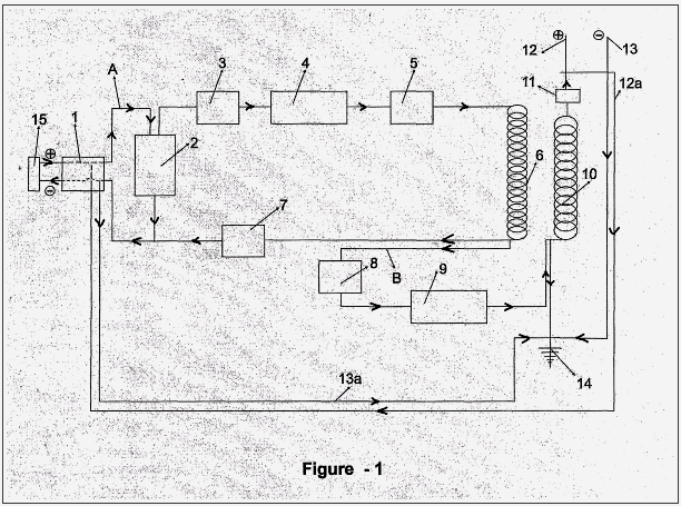
БАЗАРОВ единственный на сайте достойный уважения человек... Вот тебе от Капанадзе схема,
ТУТ и считать нечего не надо, сам БУДЕНЫЙ все посчитал, даже графики все рисованные приложил! 😎


Размер: 140.24 KB

_________________
Чтобы слушать Иисуса Христа, нужно быть, хотя бы его апостолом!


bazarov | Post:676432 - Date: 25.05.20(02:21)
Да не дойдёт им.... Пока ручками не проверят, головой не подумают, сто графиков по ВАХ не снимут - ничего не дойдёт....

ПС. Такая у них селяви 😕 ...

_________________
Не хватит никакого здоровья, чтобы приспособиться к этому глубоко больному обществу(Кришна Мурти)/Горшки не Боги обжигают (многовековая классика)


valeralap | Post:676433 - Date: 25.05.20(02:22)
А это вам схема от гения великого, ГЕНИЯ Никола Тесла!!! Свистунам скифовским в назидание.


Размер: 54.20 KB

_________________
Чтобы слушать Иисуса Христа, нужно быть, хотя бы его апостолом!


zimnyaya | Post:676439 - Date: 25.05.20(04:00)
valeralap Пост: 676433 От 25.May.2020 (02:22)
А это вам схема от гения великого, ГЕНИЯ Никола Тесла!!! Свистунам скифовским в назидание.

Схема с бифилляром такая же, только в симметричном виде.
Мне кажется, что никто всё равно не поймёт, как работает этот "электрический хлыст"

_________________
Желудь-теоретик знает, как вырасти в дуб (c) Кнышев


zimnyaya | Post:676440 - Date: 25.05.20(04:08)
mebius Пост: 676412 От 24.May.2020 (23:14)
Stels Пост: 676396 От 24.May.2020 (20:47)
Ну и славно! Можно в тишине обсудить. А что, найдется.

Давненько это было - размышлял на данную тему по случаю. Даже картинка сохранилась. В бифилярке существует такое явление, как возникновение сил Лоренца в режиме стоячих волн. Поскольку в одной ветке пучность тока, а в другой пучность напряжения, то эти силы Лоренца как раз направлены в ту же сторону, куда течет ток в соответствующей ветке катушки, ускоряя движение зарядов.
На картинке обозначены вектора электрического и магнитного полей, и направление силы Лоренца.

Вообще то пучность тока находится на перемычке между катушками, на вашем рисунке

_________________
Желудь-теоретик знает, как вырасти в дуб (c) Кнышев


missioner | Post:676441 - Date: 25.05.20(05:19)
valeralap Пост: 676430 От 25.May.2020 (02:18)
Не одному умнику в голову не пришло зачем у меня на видео довольно мощный транс стоит.
😎
Дык у меня тоже мой монстер-транс в феррорезонанс не хочет влетать если питающий источник маломощный. Вчера пытался от маломощного источника с 110 вольтами запитать через конденсатор и загнать его в феррорезонанс,ничего не получается,тока не хватает. А от мощного ИП запускается и при 30 вольтах...

_________________
Здесь хранится СЕ суперавтотрансгенератор https://www.skif.biz/index.php?name=Forums&file=viewtopic&p=875842#875842 https://disk.yandex.ru/d/T_H9tIHpXVb8dw Дополненная версия с видео: https://disk.yandex.ru/d/RUQMOtXIHzRo7Q


valeralap | Post:676442 - Date: 25.05.20(05:28)
zimnyaya Пост: 676439 От 25.May.2020 (04:00)
valeralap Пост: 676433 От 25.May.2020 (02:22)
А это вам схема от гения великого, ГЕНИЯ Никола Тесла!!! Свистунам скифовским в назидание.

Схема с бифилляром такая же, только в симметричном виде.
Мне кажется, что никто всё равно не поймёт, как работает этот "электрический хлыст"


Это как раз проблема грамотности,на которую так любит сваливать в качестве аргумента, дедваня. 😎

_________________
Чтобы слушать Иисуса Христа, нужно быть, хотя бы его апостолом!


<] [ 1 | ... 30 | 31 | 32 | 33 | 34 | 35 | 36 | 37 | 38 | 39 | 40 | 41 | 42 | 43 | 44 | 45 | 46 | 47 | 48 | 49 | 50 | ... | 483 ] [>
У Вас нет прав отвечать в этой теме.
Форум - Электростатические генераторы - Электростатика - Бифилярная катушка Никола Тесла (valeralap) - Стр 40
🏠 Главная | 📚 Содержание | 💬 Форум | 📁 Файлы | 📩 Контакт