[ВХОД]

ЛИЧНЫЕ СООБЩЕНИЯ 📝
МОЯ АНКЕТА 📋
ВЫЙТИ 🚪

🏠 Главная | 📚 Содержание | 💬 Форум | 📁 Файлы | 📩 Контакт

🖥️ | 🖨️

Форум - Резонансные генераторы - Электронные генераторы (схемотехника) - Простая схемка - Стр:1
Модератор: stasis2
stasis2 | Post: #426330 - Date: 21.09.13(02:44)
Допустим нам нужно зарядить авто акб , а трансформатор имеем только 7 вольт на выходе , поднимаем напряжение с помощью последовательно подключения бифилярного дросселя или другого транса с двумя вторичками по 7 вольт (транс 2 не запитывается, а используется как магнитный реактор😊 ) подключаются только вторички транса 2 последовательно с вторичкой транса 1 , при правильном подключении напруга на выходе под нагрузкой удваивается , но в пределах мощности второго трансформатора (объём сердечника ,индуктивность обмоток имеют значение)
Далее вешаем мост и заряжаем спокойно АКБ .

Допустим ток во вторичной цепи будет 10 ампер , выходное напряжение запитанного транса 7 вольт .
Значит мы тратим 70 ватт на зарядку акб , а должны потратить все 140 по обычной схеме .
Где я не прав ?

И какой КПД заряда кислотного АККА ? ( при идеальном ЗУ 98 проц)

[ответить][с цитатой]
Vladimir | Post: #426365 - Date: 21.09.13(13:57)
Не понятны стимулы для читающих этот бестолковый пост. Ну кому это интересно? Глупость какая-то!😕

[ответить][с цитатой]
stasis2 | Post: #426369 - Date: 21.09.13(14:49)
Непааняятна! , неепаанятна же😎

[ответить][с цитатой]
AlexKP | Post: #426371 - Date: 21.09.13(15:13)
Ты бы чтоль схемку наваял....
Ведь ничерта не ясно куды чево ты впиндюрил...😕

[ответить][с цитатой]
stasis2 | Post: #426373 - Date: 21.09.13(16:14)
океюшке , нате вам )


Размер: 43.06 KB

[ответить][с цитатой]
Vladimir | Post: #426378 - Date: 21.09.13(18:01)
stasis2 Пост: #426373 От 21.Sep.2013 (17:14)
океюшке , нате вам )

Так это ты сам проверял? Где результаты? Или с пьяну мысля пришла и нам проверить предлагаешь?😳

[ответить][с цитатой]
stasis2 | Post: #426381 - Date: 21.09.13(20:17)
Проверял , результаты тебе ничего не скажут (было на феррите и др частотах )
При работе на активную нагрузку кпд не более 100 проц .
Тебе конкретно вообще ничего не предлагаю , устану разжёвывать и доказывать


[ответить][с цитатой]
Vladimir | Post: #426713 - Date: 25.09.13(18:41)
stasis2 Пост: #426381 От 21.Sep.2013 (21:17)
... При работе на активную нагрузку кпд не более 100 проц .
Тебе конкретно вообще ничего не предлагаю , устану разжёвывать и доказывать

Ну так чего на форум лезть, народ дрочить? Вот уж молодёжь пошла, лиш-бы по клаве стучать!

[ответить][с цитатой]
turist1 | Post: #447845 - Date: 24.08.14(22:26)
Эх епт..Кирхгофф мля..😬

[ответить][с цитатой] - Правка 24.08.14(19:27) - turist1
valeralap | Post: #447854 - Date: 25.08.14(05:11)
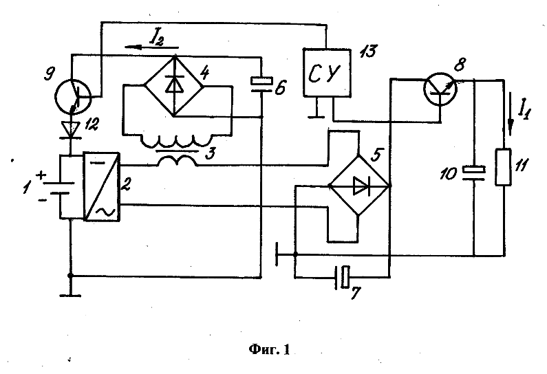
Если пробовать ради опытов, то лучше эту схему. Как не как, это официальный патент Степанова А А. В схеме есть изюминка. Естественно есть и защита от прямого повторения. Что перевешивает не знаю. Идея есть но пока руки не доходят проверить.


Размер: 19.72 KB

_________________
Чтобы слушать Иисуса Христа, нужно быть, хотя бы его апостолом!


[ответить][с цитатой] - Правка 25.08.14(02:14) - valeralap
stasis2 | Post: #447863 - Date: 25.08.14(17:41)
у меня тоже дохера таких схем с защитой от прямого и кривого повторения😬


[ответить][с цитатой]
turist1 | Post: #447882 - Date: 26.08.14(13:58)
оооshiva тебе надо четыре филтра последовательно для полной фильтрации 😬

[ответить][с цитатой] - Правка 26.08.14(11:00) - turist1
turist1 | Post: #447890 - Date: 26.08.14(19:33)
oooshiva Пост: #447888 От 26.Aug.2014 (17:50)
turist1 Пост: #447882 От 26.Aug.2014 (14:58)
оооshiva тебе надо четыре филтра последовательно для полной фильтрации 😬

это оскорбление или, пардон, комплимент?!

Это призыв к действию.Четыре фильтр пробки последовательно увеличат напряжение в 16 !! раз 😬

[ответить][с цитатой]
stasis2 | Post: #447891 - Date: 26.08.14(19:51)
😎 😎 😎 ну турист ты ЖЖОШЬ😬

[ответить][с цитатой]
Буратино | Post: #447894 - Date: 26.08.14(23:52)
Если ты прицепил два дроселя, то есть некую конструкцию. Так не луше былоб прицепить повышающи транс?

[ответить][с цитатой]
Pavel1 | Post: #447905 - Date: 27.08.14(11:49)
stasis2 Пост: #426330 От 21.Sep.2013 (03:44)
Допустим нам нужно зарядить авто акб , а трансформатор имеем только 7 вольт на выходе , поднимаем напряжение с помощью последовательно подключения бифилярного дросселя или другого транса с двумя вторичками по 7 вольт (транс 2 не запитывается, а используется как магнитный реактор😊 ) подключаются только вторички транса 2 последовательно с вторичкой транса 1 , при правильном подключении напруга на выходе под нагрузкой удваивается , но в пределах мощности второго трансформатора (объём сердечника ,индуктивность обмоток имеют значение)
Далее вешаем мост и заряжаем спокойно АКБ .

Допустим ток во вторичной цепи будет 10 ампер , выходное напряжение запитанного транса 7 вольт .
Значит мы тратим 70 ватт на зарядку акб , а должны потратить все 140 по обычной схеме .
Где я не прав ?

И какой КПД заряда кислотного АККА ? ( при идеальном ЗУ 98 проц)


Ну и нахрена огород городить?
Взял да домотал транс, а если витки не помещаются то сделай
умножитель напряжения. Делов-то два диода и два кондера электролиты.

[ответить][с цитатой]
stasis2 | Post: #447928 - Date: 28.08.14(07:33)
Ну и нахрена огород городить?

Альтернативная энергия ёптыть 😬
А если серьёзно то потребление транса из сети должно быть в два раза ниже чем обычно ) если конечно принять мощность поля вторички равной ампер виткам . Вот намотали мы допустим на 7 вольт 70витков , по ним течёт ток 10 ампер ) итого из сети 70 ватт в идеале , а для зарядки акб нужно 14 вольт и 10 ампер тоесть 140 ватт. Так вот с помощью бифлярного дросселя я легко тебе подниму напряжение любой вторички в 2 раза , и это повлияет лишь на ток который можно прогнать через нагрузку и вторичку соответственно , вторичка отдаёт свои 7 вольт при токе 10 ампер её поле противодействия мп первички составит 700 ампер витков в попугаях.
Если сделать вторичку просто на 14 вольт то её поле будет в два раза мощнее на тех 10а зарядки. Дроссель даёт вольтодобавку , и можно заряжать акб меньшей мощностью ) по идее так , а как на практике будет хз😬

[ответить][с цитатой]
Pavel1 | Post: #447930 - Date: 28.08.14(08:31)
stasis2 Пост: #447928 От 28.Aug.2014 (08:33)
Ну и нахрена огород городить?

Альтернативная энергия ёптыть 😬
А если серьёзно то потребление транса из сети должно быть в два раза ниже чем обычно ) если конечно принять мощность поля вторички равной ампер виткам . Вот намотали мы допустим на 7 вольт 70витков , по ним течёт ток 10 ампер ) итого из сети 70 ватт в идеале , а для зарядки акб нужно 14 вольт и 10 ампер тоесть 140 ватт. Так вот с помощью бифлярного дросселя я легко тебе подниму напряжение любой вторички в 2 раза , и это повлияет лишь на ток который можно прогнать через нагрузку и вторичку соответственно , вторичка отдаёт свои 7 вольт при токе 10 ампер её поле противодействия мп первички составит 700 ампер витков в попугаях.
Если сделать вторичку просто на 14 вольт то её поле будет в два раза мощнее на тех 10а зарядки. Дроссель даёт вольтодобавку , и можно заряжать акб меньшей мощностью ) по идее так , а как на практике будет хз😬


Поставь в цепь резистор 0,1 Ом и возьми все это дело на осциллограф.
При обычной схеме трансформатор-диодный мост ты увидишь прерывистый режим тока, иными словами ток будет появляться когда синус по напряжению с диодного моста будет превышать напряжение на аккумуляторе .
Иная картина происходит при включении в цепь индуктивности.
Ток будет непрерывный слегка пульсирующий в зависимости от индуктивности.

Если проинтегрировать первый и второй случай то площади тока
на осциллограмме будут одинаковы.

На счет СЕ велосипед не получился.


[ответить][с цитатой]
turist1 | Post: #447934 - Date: 28.08.14(09:36)
Pavel1 Пост: #447930 От 28.Aug.2014 (09:31)
stasis2 Пост: #447928 От 28.Aug.2014 (08:33)
Ну и нахрена огород городить?

Альтернативная энергия ёптыть 😬
А если серьёзно то потребление транса из сети должно быть в два раза ниже чем обычно ) если конечно принять мощность поля вторички равной ампер виткам . Вот намотали мы допустим на 7 вольт 70витков , по ним течёт ток 10 ампер ) итого из сети 70 ватт в идеале , а для зарядки акб нужно 14 вольт и 10 ампер тоесть 140 ватт. Так вот с помощью бифлярного дросселя я легко тебе подниму напряжение любой вторички в 2 раза , и это повлияет лишь на ток который можно прогнать через нагрузку и вторичку соответственно , вторичка отдаёт свои 7 вольт при токе 10 ампер её поле противодействия мп первички составит 700 ампер витков в попугаях.
Если сделать вторичку просто на 14 вольт то её поле будет в два раза мощнее на тех 10а зарядки. Дроссель даёт вольтодобавку , и можно заряжать акб меньшей мощностью ) по идее так , а как на практике будет хз😬


Поставь в цепь резистор 0,1 Ом и возьми все это дело на осциллограф.
При обычной схеме трансформатор-диодный мост ты увидишь прерывистый режим тока, иными словами ток будет появляться когда синус по напряжению с диодного моста будет превышать напряжение на аккумуляторе .
Иная картина происходит при включении в цепь индуктивности.
Ток будет непрерывный слегка пульсирующий в зависимости от индуктивности.

Если проинтегрировать первый и второй случай то площади тока
на осциллограмме будут одинаковы.

На счет СЕ велосипед не получился.

А не важны площади, фазы, реактивности..
Важно то что в отличии от трансформатора и даже автотрансформатора где цепь нагрузки и цепь источника раздельны для токов , здесь цепь нагрузки и источника ОДНА. Странно что ты это "не заметил")
Смотри схему и вспоминай законы Кирхгоффа. Они верны.
Даже если ток в нагрузке упадет в два раза, соостветственно он в эти два раза упадет и в источнике...
Берешь куркулятор и считаешь баланс мощности

[ответить][с цитатой] - Правка 28.08.14(07:03) - turist1
stasis2 | Post: #447937 - Date: 28.08.14(10:55)
На счет СЕ велосипед не получился.

херова конечно , но я переживу ) да и полторы тонны под жопой как то приятнее велика😎 а на экологию мне плевать )

[ответить][с цитатой]
stasis2 | Post: #447938 - Date: 28.08.14(11:04)
Если проинтегрировать первый и второй случай то площади тока
на осциллограмме будут одинаковы.
площади то одинаковы , да только ты забыл что обмотка у нас на 7 вольт , а заряжаем акб на 12 , и ещё простой дроссель не является аналогом дросселя с бифилярной намоткой или двух дросселей включённых встречно и находящихся на одном сердечнике . Такая схема не имеет индуктивного сопротивления в обычном смысле слова , там какое то взаимодействие МП странное ) Отсюда вольтодобавка , возьми да проверь ) есть дросселя от ДРЛ 400
с двумя обмотками и железо приличное.. Смотри тока чтоб шар не выпал 😬
Ну и трансик надо взять ватт на 200 и нагрузку соответсвующую ваттиков 50-100.
Пс напруга увеличивается обратно пропорционально нагрузке , на малой нагрузке предел удвоение выходного напряжения транса

Если совсем не доходит возьми транс на 10 вольт соедини с простым дросселем и мостом , зарядка будет ?

[ответить][с цитатой] - Правка 28.08.14(08:15) - stasis2
коян | Post: #447942 - Date: 28.08.14(13:36)
Пупиновские катушки
http://im2-tub-ru.yandex.net/i?id=7deb04c9a5f27e59d68b3dffeb55b070-125-144&n=21
[ссылка]

[ответить][с цитатой]
Pavel1 | Post: #447956 - Date: 28.08.14(16:54)
stasis2 Пост: #447938 От 28.Aug.2014 (12:04)


Если совсем не доходит возьми транс на 10 вольт соедини с простым дросселем и мостом , зарядка будет ?


Если быть дотошным то зарядка будет при 10V, просто по той причине что амплитудное значение переменки 10V = 14V-0,4V(на Шотки) выпрямленного. 😕


[ответить][с цитатой] - Правка 28.08.14(13:56) - Pavel1

Форма ответа

😊 😛 😕 😀 😬 😎 🤔 😘 😕 🥴 😏 😶 😡 🙄 😭 😈 🤢 🤮 😁 😨 🤬 😝
Добавить файл: ≤ 1.95 MB
Описание файла:
Можно загружать только - jpg, jpeg, png, gif, pdf, doc, docx, zip
Если картинка больше чем 600х600, то отобразится ссылкой.
Форум - Резонансные генераторы - Электронные генераторы (схемотехника) - Простая схемка - Стр 1

🏠 Главная | 📚 Содержание | 💬 Форум | 📁 Файлы | 📩 Контакт