[ВХОД]

30.03.26(09:10)

mob.skif.biz

Альтернативная энергия. Оставь надежду, всяк сюда входящий...

🏠 Главная | 📚 Содержание | 💬 Форум | 📁 Файлы | 📩 Контакт

🖥️ | 🖨️

Форум - Электростатические генераторы - Электростатика - Преобразователь Шоулдерса - Стр:3
<] [ 1 | 2 | 3 | 4 | 5 ] [>
Модератор: dimdimius
Первый пост темы: dimdimius Post: #281219 От:25.12.2010 (01:27)
Есть такая штука — преобразователь Шоулдерса называется. Патент США 5018180 от 1991 г.

image


Вот описание:


Устройство представляет собой разрядную трубку (рис. 3), в которой катод К в форме острия с диаметром 0,02 мм, а второй электрод — анод А, имеет плоский торец-мишень. На трубке разрядника — обмотка из проводника, с которой снимается электроэнергия (нагрузка П). Когда блок питания (БП) подает на излучатель мощность до 1 Вт и внутри разрядника протекает электрический ток в виде плазмоидов, на выходе (В) получают энергии в 30 раз больше. Соответственно, КПД составляет 30-50 единиц (т.е. 3000-5000%).

Такое мощное действие разрядника можно понять следующим образом. Если проходящий по проводнику ток образует "спокойное" электромагнитное поле, индуцирующее электрический ток в проводнике, введенном в это поле, то действие плазмоида на проводник происходит по каким-то другим, еще не изученным законам, индуцирующим в обмотке более мощную ЭДС. Плазмоиды, очевидно, достаточно энергично воздействуют на окружающую среду, заставляя ее отдавать свою энергию, ибо как установлено, окружающее пространство представляет собой не пустоту, а чрезвычайно плотную среду, обладающую мощной внутренней энергией.

Принцип действия:
При прохождении разряда в трубке образуются плазменные тороиды диаметром всего 20 мкм. Эти тороиды медленно продвигаются между электродами, при этом на выходной обмотке индуцируется электрическое напряжение.
Если обмотка отсутствует или разомкнута или сопротивление нагрузки слишком мало, тороиды не образуются.


Пробовал ли кто-нибудь повторить это и если да, то каковы результаты? Похоже, что устройство реально рабочее (плазменные тороиды очень лихо перекликаются с эфиродинамикой, всё так и должно быть).

Ссылка на патент: [ссылка]
dedivan | Post:341346 - Date: 18.12.11(20:30)
Да, такая, и причем с одной стороны с перегоревшей спиралью- чтоб иголочки были для запуска электронов.

_________________
я плохого не посоветую


dimdimius | Post:341352 - Date: 18.12.11(20:46)
dedivan Пост: 341267 От 18.Dec.2011 (05:35)
Вот эта катушка дает 2 ватта халявы, и совсем мало помех, поскольку они все в колечко замкнуты.
Но к сожалению больше двух ватт никак. Электроды выгорают.
То есть мощность есть, и большая , но не в том месте и не в том виде, в каком хочется.
Деда, то, что электроды выгорают, ты не печалься. Это дело поправимое. А по поводу того, что "не в том месте и не в том виде", так оно так и есть. Основная мощность выделяется на аноде, при столкновении с тороидом. Причём мощность эта состоит из двух частей: механической/тепловой и электрической. Тепловая выделяется в виде тепла, а вот электрическая... Здесь уже интереснее. Она приводит к огромному броску потенциала на аноде, намного большему, чем если бы это была просто искра.

_________________
Понимание ключевых принципов с лихвой окупает незнание великого множества теорий и фактов.


dimdimius | Post:341354 - Date: 18.12.11(20:58)
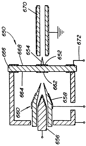
Вот картинка интересная с описанием.

Представленный на рисунке прибор, как и все экспериментальные установки Шоулдерса, это достаточно миниатюрное, тщательно сконструированное изделие, выполненное из качественных материалов (керамика, нержавеющая сталь, прецизионно легированный кремний).

Работа ведется в вакууме или в среде определенного газа при давлении в несколько миллиметров ртутного столба. За кадром остаются системы визуального наблюдения и специальные генераторы импульсов, выполненные также по «технологии Шоулдерса». На типовой катод 660 подается короткий отрицательный импульс, который вызывает автоэлектронную эмиссию и образование зарядовых кластеров. С помощью электрода 658 организован селектор, при подаче на который специально сгенерированного (по фазе и амплитуде) импульса удается пропускать к площадке анода 662 один единственный EV. Это необходимо для того, чтобы не повредить острие катода следующего каскада 654., не снабженного ртутным протектором, как первый катод. Анодом и одновременно катодом следующего каскада является кремниевая пластина 666. Она имеет вполне определенное объемное сопротивление и служит объемными резисторами на электрод анода 672 и площадку катода 652. Пропущенный селектором один зарядовый кластер, попадая на площадку анода 662, разрушается, «законсервированный» в нем заряд снова высвобождается и начинает объемно перераспределяться в теле пластины 666. При этом потенциал на катоде 652 становится настолько отрицательным (относительно корпуса), что на острие 654 возникает автоэлектронная эмиссия и генерируется вторичный зарядовый кластер. Прецизионные эксперименты Шоулдерса показали, что новый EV имеет такие же параметры, как и исходный зарядовый кластер, а энергия на феномен воспроизводства черпается из процессов, происходящих внутри самого зарядового кластера.

Таким образом, описанное устройство доказывает возможность каскадировать зарядовый кластер через ряд пассивных устройств, почему бы и не, например, микрозерен нанопорошка, а возможно и осуществлять расширенное «воспроизводство» EV.

Самое интересное на мой взгляд здесь - возможность каскадировать зарядовый кластер через ряд пассивных устройств.


Размер: 27.00 KB

_________________
Понимание ключевых принципов с лихвой окупает незнание великого множества теорий и фактов.


dimdimius | Post:341390 - Date: 19.12.11(02:49)
При движении кластера вдоль трубки, Шоулдерс всегда наблюдал сильные наводки электрического потенциала в смежных металлических конструкциях. Если эти детали через нагрузку замкнуть на землю, на резисторе выделяется мощность.

Получается, что воздействие на катушку со стороны кластера имеет преимущественно электростатический, а не магнитный характер.

_________________
Понимание ключевых принципов с лихвой окупает незнание великого множества теорий и фактов.


gluk | Post:341394 - Date: 19.12.11(05:51)
А меня, лично, поражает факт выделения мощности на резисторе!
Невероятно!
Остаётся загадкой наличие магнитного поля тока разрядника.

gluk | Post:341412 - Date: 19.12.11(14:17)
shkaf | Post: 341405

Честно говоря, я нигде не нашёл подтверждающего опыта наличия МП у разрядного тока или катодных лучей.

dimdimius | Post:341418 - Date: 19.12.11(17:44)
gluk Пост: 341412 От 19.Dec.2011 (14:17)
Честно говоря, я нигде не нашёл подтверждающего опыта наличия МП у разрядного тока или катодных лучей.
Помню, как добивался от гугла ответа на вопрос "магнитное поле катодных лучей", так он, собака такая, молчал, как партизан. После длительных пыток он мне выдал, что магнитное поле катодного луча начинает проявляться только на околосветовых скоростях электронов. Такая вот петрушка 😘

gluk Пост: 341394 От 19.Dec.2011 (05:51)
А меня, лично, поражает факт выделения мощности на резисторе!
Невероятно!
Остаётся загадкой наличие магнитного поля тока разрядника.
Зарядовые кластеры - это совершенно новое направление для исследований, поэтому применять к ним стандартные подходы и знания - означает зарубить всё накорню!

_________________
Понимание ключевых принципов с лихвой окупает незнание великого множества теорий и фактов.


shkaf | Post:341424 - Date: 19.12.11(18:01)
gluk Пост: 341412 От 19.Dec.2011 (14:17)
shkaf | Post: 341405

Честно говоря, я нигде не нашёл подтверждающего опыта наличия МП у разрядного тока или катодных лучей.

хм.. а как тогда катушка теслы на искровом разряднике работает?
Что в многовитковой вторичке эдс создает если не магнитное поле нескольких витков первички в которую искрит разрядник. Но там конечно не совмем то о чем надо бы поговорить, там все же достаточно длительное время разряжается заряженый конденсатор. Разница в длительности искры. Укороти ее и магнитного поля будет меньш. Но почему меньше то ?? должно же просто укорачиваться время импульса магнитного поля при сохранении его величины !! а нееет.. как раз все наоборот, уменьшается как его величина так и длительность. Вот уменьшение величины импульса магнитного поля это как раз проделки индуктивности и при совсем коротком импульсе искры а это как раз СЕ режим магнитного поля будет саамый мизер как величины так и длительности. Устраняем вредную индуктивность и появится величина импульса магнитного поля уже пропорционально тока.

На счет ТТ

И не надо голову ломать неодному поколению "ученых" над ТТ
Для пионеров в радиокружке простой вопросик.
ТТ все как обычно.. многовитковая вторичка резонирует на своей собственной частоте резонанса после каждого разряда разрядника А РАЗРЯЖАЕТСЯ ЧЕРЕЗ РАЗРЯДНИК ДОСТАТОЧНО БОЛЬШОЙ КОНДЕНСАТОР время хватает и на ток в первички и на магнитное поле!! В итоге получаются вспышки колебаний с частотой собственного резонанса вторички и повторением с частотой разрядника. пРИ этом первичка не отнимает енергию от вторички так как искра прекратилась потому что емкость уже разрядилась и будет доолго заряжаться до сл. пробоя разрядника.Вот и все чудеса ТТ.

_________________
На Бога уповаем. http://www.skif.biz/files/e5a7f3.jpg


dimdimius | Post:341430 - Date: 19.12.11(18:33)
shkaf Пост: 341424 От 19.Dec.2011 (18:01)
хм.. а как тогда катушка теслы на искровом разряднике работает?
Что в многовитковой вторичке эдс создает если не магнитное поле нескольких витков первички в которую искрит разрядник.
Над этим вопросом билось не одно поколение исследователей и учёных, а ты вот так прям хочешь, чтоб тебе взяли и ответили, да? Скажу так: классические представления тут не работают. Никаких резонансов в правильном ТТ нет и никогда не было - это всё полнейшая профанация. Да, Тесла баловался с резонансами и ВЧ до 1892 года, но потом понял, что всё это бесперспективно. Более того, он сам оценил ВЧ стадию своих исследований как неудачную и бесплодную. От ВЧ до радианта и СЕ - как от Португалии до Камчатки ползком на брюхе. Впрочем, я могу и ошибаться 😕

В любом случае, ТТ обсуждается в отдельной ветке. Здесь это ОФФТОП.

Ну и напоследок, пару слов по Тесле и разрядникам (для прояснения сути):
Несмотря на то, что Тесла открыл радиантный эффект в 1889 г., предварительный обзор эффекта был опубликован только после продолжительной серии экспериментов. «Рассеяние электричества», опубликованное перед Рождеством 1892 г., стало поворотной статьёй Тесла. Именно с этого момента он полностью забросил исследования переменных токов высокой частоты. Полностью отойдя от исследования поля, Тесла начал описывать ударные волны и другие эффекты ИМПУЛЬСОВ. Вдобавок к тем физическим сенсациям, которые он описывал с характерной для него сдержанностью, Тесла также обратил внимание на «газовые» аспекты феномена. Он обнаружил, что резко заряженные провода в его экспериментах производят странные газообразные потоки при погружении в масляную ванну. Сначала он полностью приписывал это явление газу, поглощённому проводником, но вскоре обнаружил, что этот эффект продолжается длительное время от одного и того же провода, и никакой объём обычного поглощённого газа не может это объяснить. Определённо, при этом в масле возникали потоки, настолько сильно срывавшиеся с концов заряженного провода, что они зрительно сжимали масло, образуя полости, иногда до пяти сантиметров глубиной! Тесла начал изучать истинную природу лёгкого «газа», вырывавшегося с концов провода, погружённого в масло.


В 1890 году Тесла сделал ещё более удивительное открытие, когда поместил около магнитного разрядника длинную однослойную цилиндрическую медную катушку. Катушка, имевшая около шестидесяти сантиметров в длину, вела себя не так, как прямые медные трубки или другие объекты. Катушка из тонкой медной проволоки обросла венцом белых искр. Завихрения короны были очень длинными и плыли серебряно-белыми потоками, мягкими разрядами, которые, казалось, были значительно более высокими по напряжению. Эти эффекты сильно увеличивались, когда однослойную цилиндрическую катушку разместили в витке провода, идущего от разрядника. Внутри этой «ударной зоны» цилиндрическая катушка была окружена взрывообразной вспышкой, которая обнимала её поверхность и вырывалась с открытого конца катушки. Казалось, как будто ударная волна отталкивалась от окружающего пространства, чтобы соединиться с катушкой в странном притягивающем предпочтении. Ударная волна втекала в катушку под прямым углом к обмотке, что было невероятно. Видимая длина разрядов, прыгающих из венца цилиндрической катушки, была неимоверной. Если в магнитном разряднике проскакивала искра в два с половиной сантиметра, то белые мерцающие разряды стекали с катушки более чем на шестьдесят сантиметров. Эти разряды были сравнимы с размером самой катушки! Это была неожиданная и неизвестная трансформация.


Трансформаторы Тесла не были электромагнитными устройствами; в них использовались радиантные ударные волны и производили чистое напряжение без тока. Каждый Трансформатор проводил только специфичную длительность импульса с особой силой. Отсюда следовало, что каждый из них должен был быть «настроен» регулировкой разрядника на определённую длительность импульса. Изменение длины дуги обеспечивало такую регулировку. Когда каждый трансформатор был настроен на свой собственный характеристический отклик (подобно резонансу {но не резонанс!!!}), импульсы могли спокойно течь через систему, подобно газу в трубе. Обнаружив газодинамические аналогии, которые согласовывались с имеющимися данными, и были удачной оценкой в этом отношении, Тесла начал изучать, является ли белое пламя разрядов, настолько отличное от того, что он прежде видел, газообразным проявлением электростатической силы. Имелось немалое количество опытов, в которых ясно проявлялась истинно газообразная их природа, настолько непохожая на что-либо электрическое. Способ, которым радиантные ударные волны протекали по проводящим обмоткам белыми мерцающими ламинарными струями, принесли новую революцию в мысли Тесла. Импульсы напряжения пересекали поверхность вторичной катушки подобно газовым импульсам под увеличивающимся давлением. Пока газообразные импульсы не достигали свободного конца катушки, они текли по её медной поверхности, не проникая внутрь. Тесла назвал это специфичное явление «скин-эффектом». В этом отношении разряд вёл себя очень похоже на газ, движущийся над поверхностью трубы.

_________________
Понимание ключевых принципов с лихвой окупает незнание великого множества теорий и фактов.


Dzen | Post:425738 - Date: 12.09.13(16:13)
Пробовал я несколько лет назад подобное. Хотел получить ток от искрового разряда. Взял пластиковую трубку, намотал.что то около 20 витков, подключил к осциллографу. Во внутрь трубки поместил разрядник. Подал,точно уже не помню,но тыщь 20 подал. На осциллографе наблюдал наводки. Т.е. напряжение реально снимать можно.Но какое? Пока некогда дальше изучать. Искра имеет множество гармоник. Катушку, как контур нужно настраивать.Короче, нужны эксперименты.

_________________
Dzen


Виталя | Post:425745 - Date: 12.09.13(18:30)
dimdimius Пост: 281219 От 25.Dec.2010 (01:27)
Есть такая штука ... .
Пробовал ли кто-нибудь повторить это и если да, то каковы результаты?

Кто-нибудь😊, ПРОБОВАЛ 😎 🤬.
YouTube: Смотреть видео

Если уж и "мотать" катушку, то только ТОРОИДАЛЬНО, желательно с СЕРДЦЕМ ( сердечником, на ферритовом колечке). ТАДЫ - ОЙ😊. Коаксиальный трансформатор, повышающий😊.

_________________
С ув. Виталий.


Dzen | Post:425798 - Date: 13.09.13(15:35)
Ну я такое и делал, как описал ранее. Только проверял осциллографом. Напряжение было. Как и писал, нужны эксперименты. Искровик несет в себе многое.

_________________
Dzen


Vladimir | Post:425809 - Date: 13.09.13(18:07)
Dzen Пост: 425738 От 12.Sep.2013 (17:13)
.. Во внутрь трубки поместил разрядник. Подал,точно уже не помню,но тыщь 20 подал. На осциллографе наблюдал наводки. Т.е. напряжение реально снимать можно...

Чуть чуть не добежал! 🤢 На обмотку надо было нагрузку дать, тогда ток протекающий в обмотке создал бы магнитное поле которое плазмоиды сжало-бы в бублик, скорость пролёта увеличилась-бы, количество в единицу времени то-же. Потёк-бы больший плазменный ток который в свою очередь в обмотке навёл-бы больший, ток большее сжатие бубликов! и тд.Образовалась-бы энергетическая система с положительной обратной связью!😬 А вообще-то на трубку Грея очень похоже.

stasis2 | Post:425857 - Date: 14.09.13(14:12)
Если уж и "мотать" катушку, то только ТОРОИДАЛЬНО, желательно с СЕРДЦЕМ ( сердечником, на ферритовом колечке). ТАДЫ - ОЙ. Коаксиальный трансформатор, повышающий

В плазме нет магнитного поля , я тож одевал катушку только на тонкую ЛДС , один чорт плазма ) Магнитное поле имеет лишь проводник с электронной проводимостью , ток в жидкости и газе это ионная проводимость.
Я даже мотал обмотку для транса диодами😎 кпд =0

Forex | Post:425859 - Date: 14.09.13(14:29)


И не будет гореть ...

Виталя | Post:425869 - Date: 14.09.13(17:29)
stasis2 Пост: 425857 От 14.Sep.2013 (15:12) В плазме нет магнитного поля

Ты "гонишь"😊. А ЧЕМ тогда удерживается ПЛАЗМА??? В "экскрементах" вЧЁНЫХ???😎

_________________
С ув. Виталий.


stasis2 | Post:425871 - Date: 14.09.13(17:37)
Виталя ёптыть , если вазу можно держать руками это не значит что у вазы тоже есть руки...
МП действует на движущийся заряд , это не значит что ионы в плазме создают мп

stasis2 | Post:425873 - Date: 14.09.13(17:43)
Сделай простенький магнитометр на датчике холла и Опусе и посмотри , заодно сможешь изучить динамику Мп внутри магнитопровода трансформатора под нагрузкой и без неё

Forex | Post:425905 - Date: 15.09.13(10:23)
А .. Ссылку там перепутал подправил.
YouTube: Смотреть видео


Короче Виталя сделал абсолютно всё, чтобы лампочка НЕ горела.
Ни одного пункта не пропустил ... 🤢 🤢

dedivan | Post:425907 - Date: 15.09.13(10:36)
stasis2 Пост: 425857 От 14.Sep.2013 (15:12)
я тож одевал катушку только на тонкую ЛДС ,

Нука нарисуй как одевал- сто пудов неправильно, зуб последний даю.

_________________
я плохого не посоветую


stasis2 | Post:425910 - Date: 15.09.13(13:17)
дед , ху ле там рисовать ?
так же как Витас на свой мего разрядник аксиально значЕТ

shkaf | Post:425932 - Date: 15.09.13(23:57)
stasis2 Пост: 425857 От 14.Sep.2013 (15:12)
В плазме нет магнитного поля , я тож одевал катушку только на тонкую ЛДС , один чорт плазма ) Магнитное поле имеет лишь проводник с электронной проводимостью , ток в жидкости и газе это ионная проводимость.
Я даже мотал обмотку для транса диодами кпд =0

Горе от ума это называется !!!
А в тонкую пластиковую трубочку не догадался жидкость налить и пару витков намомать такой трубочкой во круг магнитопровода.??
Попробуй и увидишь что трансик с такой катушкой из жижкости прекрасно работает значит есть и магнитное поле даже у проводника жидкости.
А Магнитное поле есть и у радиоволны В ВАКУМЕ у которой даже нет ни электронов ни ионов, а есть только поле магнитное и электрическое.

А на трубку ЛДС нужно не провод витками крутить, а трубку надевать как ХТ !!! Можно и ферито поверх трубки надеть.

_________________
На Бога уповаем. http://www.skif.biz/files/e5a7f3.jpg


alexol | Post:425954 - Date: 16.09.13(07:54)
shkaf Пост: 425932 От 16.Sep.2013 (00:57)
... А на трубку ЛДС нужно не провод витками крутить, а трубку надевать как ХТ !!! Можно и ферито поверх трубки надеть.

Как на индукционных лампах?
Дед на ЛДС_ку, все же, проводом витки крутил... Правда, не на прямую, а на ту, которая бубликом.

Виталя | Post:425988 - Date: 16.09.13(13:49)
Forex Пост: 425905 От 15.Sep.2013 (11:23) Короче Виталя сделал абсолютно всё, чтобы лампочка НЕ горела.
Ни одного пункта не пропустил ... 🤢 🤢

"Покажь", "пальцем"😊. ГДЕ, ЧЕГО не так сделал? Как у Шоулдерса? Ещё луччее, своё видео покажь. ПРАВИЛЬНОЕ.😊


Размер: 4.91 KB

_________________
С ув. Виталий.


Forex | Post:425998 - Date: 16.09.13(23:28)
ГДЕ, ЧЕГО не так сделал? Как у Шоулдерса?


Да дурак твой Шоулдерс. А не так, один пункт вроде там с тором уже показан. С какого перепугу будет трансформация если контур тока параллелен оси катушки ? только на образующем витке и то с гулькин ..й.
Ещё луччее, своё видео покажь. ПРАВИЛЬНОЕ.smile

А вот не покАжу! 🤢 Секретное оно. 🤢
Но две лампы по пятьсот Ватт горят на полную катушку...
Пока две ... 😭

<] [ 1 | 2 | 3 | 4 | 5 ] [>
У Вас нет прав отвечать в этой теме.
Форум - Электростатические генераторы - Электростатика - Преобразователь Шоулдерса - Стр 3
🏠 Главная | 📚 Содержание | 💬 Форум | 📁 Файлы | 📩 Контакт