[ВХОД]

Главная | Содержание | Форум | Файлы | Контакт
NAVIG
Резонансные генераторы
Магнитные генераторы
Механические центробежные (вихревые) генераторы
Электростатические генераторы
Водородные генераторы
Ветро- и гидро- и солнечные генераторы
Прочие идеи (разные)
О форуме
Транспорт
Оружие
Научные идеи, теории, предположения...
Экономия топлива
Коммерческие вопросы
Струйные технологии
Торсионные генераторы
Новые технологии
Барахолка
Патентный отдел
Конструкторское бюро
Нейтронная физика
Торнадо и смерчи
Гравитация и антигравитация
Сделай сам. Советы.
Медицина и здравоохранение
немобильная версия
Печатать страницу
Форум - Транспорт - Летательные аппараты (UFO) - Делаем правильный инерциоид. - Стр.14
<][1 | 2 | 3 | 4 | 5 | 6 | 7 | 8 | 9 | 10 | 11 | 12 | 13 | 14 ]
Post:#288276 Date:07.02.2011 (06:36) ...
Все вроде уже знают, что магнитное поле не принадлежит самому магниту.
МП- это свойство пространства - эфира.
А почему бы тогда не попробовать оттолкнуться от пространства с помощью МП?
Что мы знаем- если запустить магнит внутри замкнутой катушки - он будет тормозиться.
Если катушку разомкнуть- тормоз пропадет.
Если катушку замкнуть через диод- то она будет тормозить магнит только в одну сторону,
Вот она и опора на МП.
С точки зрения оффизики здесь тоже нет нарушений.
В одну сторону импульс движение магнита передается на тележку а обратный импульс
превращается в тепло в катушке.
Конкурс- кто сделает "безопорное" движение наиболее простым и наглядным способом?
dedivan | Post: 376706 - Date: 18.06.12(13:33)
А разве есть закон, по которому ускорение тела от приложенной силы
хоть как то зависит от скорости тела?

_________________
я плохого не посоветую
СовсемДикий | Post: 376732 - Date: 18.06.12(14:48)
dedivan Пост: 376706 От 18.Jun.2012 (14:33)
А разве есть закон, по которому ускорение тела от приложенной силы
хоть как то зависит от скорости тела?
Есть такой закон.

dedivan | Post: 376736 - Date: 18.06.12(14:55)
Это ты про альбертика?
тоже не прав.
Там не ускорение меняется а сила отстает от тела,
не успевает приложиться.
Даже название этому есть- запаздывание потенциала.

_________________
я плохого не посоветую
toptamburg | Post: 376764 - Date: 18.06.12(18:08)
Гм...
У меня, вообще-то задумка другая была. Простая, рабоче-крестьянская:отталкиваться от вращающегося волчка, а подтягиваться к неподвижному.А про запаздывание потенциала я, к стыду своему, не слышал.
Значит - не поедет?

_________________
"Монстры в технике - от скудности ума."
shkaf | Post: 376789 - Date: 18.06.12(19:39)
..если что то врягивать то предварительно выдвигать нужно как предлогал Дедиван.. прогресивно по эвольвенте. Пока это оптимальней.

У Вас нет прав скачивать этот файл. Зарегистрируйтесь .
_________________
На Бога уповаем. http://www.skif.biz/files/e5a7f3.jpg
- Правка 18.06.12(19:40) - shkaf
dedivan | Post: 376795 - Date: 18.06.12(19:46)
Да, масса катушки становится меньше, когда грузик убегает.
Вот в это время и надо толкать ее вперед.
То есть у тебя только элемент с изменяющейся массой нарисован,
а самого инерциоида нет.

_________________
я плохого не посоветую
- Правка 18.06.12(20:20) - dedivan
shkaf | Post: 376800 - Date: 18.06.12(20:04)
Я не стал пока рисовать все устройство.
Дедиван, если потом по эвольвенте-наоборот втягивать грузик, то получится что масса катушки начнет увеличиваться..в это время и подьягивать тележку к катушке, а когда грузик по эвольвенте выдвигается отодвигать катушку от тележки.

_________________
На Бога уповаем. http://www.skif.biz/files/e5a7f3.jpg
- Правка 18.06.12(20:05) - shkaf
MVEN-MAS | Post: 376805 - Date: 18.06.12(20:17)
toptamburg Пост: 376764 От 18.Jun.2012 (19:08)
отталкиваться от вращающегося волчка, а подтягиваться к неподвижному..
Значит - не поедет?

Поедет, ещё как поедет. Только вот как отталкиваться то придумали? И зачем его останавливать, достаточно не менять угла оси вращения, тогда масса будет одинакова с покоящимся волчком.

dedivan | Post: 376807 - Date: 18.06.12(20:23)
shkaf Пост: 376800 От 18.Jun.2012 (21:04)
а когда грузик по эвольвенте выдвигается отодвигать катушку от тележки.


Не- там дальше уже стандартный инерциодид- как его все начинающие рисуют.
Тяжелую катушку с помощью поворота переместить назад и от нее отталкиваться.

_________________
я плохого не посоветую
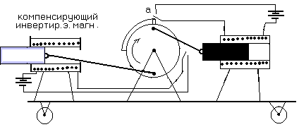
shkaf | Post: 376898 - Date: 19.06.12(07:37)
Пока груз-сердечник перемещается относительно тележки, инерция его массы не связана с тележкой.

Правый соленоид подтягивает платформу к массивному сердечнику. После откл. его уже массивный сердечник должен был подтягивать платворму обратно с себе,т.е в противоположную сторону, но в это время включается левый соленоид и снова тянет тележку в ту же сторону что и правый соленоид, но тянет уже за проинвертированное кривошипным механизмом направление.

У Вас нет прав скачивать этот файл. Зарегистрируйтесь .
_________________
На Бога уповаем. http://www.skif.biz/files/e5a7f3.jpg
- Правка 19.06.12(08:47) - shkaf
shkaf | Post: 376926 - Date: 19.06.12(10:24)
Вот это мы уже проходили, а почему оно не едет внятно никто не сказал.
ы??
Если в этой конструкции разомкнуть цепь катушки, то постоянный магнит не будет оказывать никакого влияния на тележку и тележка стоит на месте, а если замкнуть через диод то ток эдс своим полем упрется в поле п. магнита движущегося навстречу и потянет тележку

У Вас нет прав скачивать этот файл. Зарегистрируйтесь .
_________________
На Бога уповаем. http://www.skif.biz/files/e5a7f3.jpg
- Правка 19.06.12(12:05) - shkaf
СНК | Post: 376935 - Date: 19.06.12(11:14)
Во как..

У Вас нет прав скачивать этот файл. Зарегистрируйтесь .
_________________
Автор благодарит алфавит за любезно предоставленные буквы.(с)
Самоделкин | Post: 390797 - Date: 09.09.12(20:05)
Тоже в каком-то смысле инерцоид:
www.youtube.com/watch?NR=1&feature=endscreen&v=0YLhCuyE1rA

_________________
Всё гениальное, - просто, но не всё простое, - гениально.
edvid | Post: 390828 - Date: 10.09.12(03:15)
shkaf Пост: 376789 От 18.Jun.2012 (20:39)
..если что то врягивать то предварительно выдвигать нужно как предлогал Дедиван.. прогресивно по эвольвенте. Пока это оптимальней.

/////////////////////////////////////
Работать (передвигаться) будет - влево по рисунку. Только нужна вторая такая же система, работающая синхронно - симметрично. Силы тяги здесь нет. Перемещение центра масс происходит кинематически (безреактивно): поворот на 180 градусов с большим моментом инерции, возврат в исходное положение - с меньшим моментом инерции. Сначала попробовать изменять момент инерции с остановками в крайних точках, потом - непрерывно...

<][1 | 2 | 3 | 4 | 5 | 6 | 7 | 8 | 9 | 10 | 11 | 12 | 13 | 14 ]
У Вас нет прав отвечать в этой теме.
Форум - Транспорт - Летательные аппараты (UFO) - Делаем правильный инерциоид. - Стр 14

Главная | Содержание | Форум | Файлы | Контакт