[ВХОД]
19.05.26(18:59)

mob.skif.biz

Альтернативная энергия. Оставь надежду, всяк сюда входящий...

🏠 Главная | 📚 Содержание | 💬 Форум | 📁 Файлы | 📩 Контакт
 
Резонансные генераторы
Магнитные генераторы
Механические центробежные (вихревые) генераторы
Электростатические генераторы
Водородные генераторы
Ветро- и гидро- и солнечные генераторы
Прочие идеи (разные)
О форуме
Транспорт
Оружие
Научные идеи, теории, предположения...
Экономия топлива
Коммерческие вопросы
Струйные технологии
Торсионные генераторы
Новые технологии
Барахолка
Патентный отдел
Конструкторское бюро
Нейтронная физика
Торнадо и смерчи
Гравитация и антигравитация
Сделай сам. Советы.
Медицина и здравоохранение

🖥️ | 🖨️

Форум - Резонансные генераторы - Электронные генераторы (схемотехника) - Антенна Крюка - возможно, сверхединичник? - Стр:5
<] [ 1 | 2 | 3 | 4 | 5 | 6 | 7 ] [>
Модератор: sanvalerich
Первый пост темы: sanvalerich Post: #324651 От:07.09.2011 (09:24)
Вот, патент: . Давайте попробуем разобраться. Хорошо бы перевести этот патент на Русский язык...
street | Post:325500 - Date: 11.09.11(15:34)
Симулятор. Из сведений в ветке "Сверхединица за минуту" сильно не нагревается.

_________________
Главное в мелочах


олег-джан | Post:325501 - Date: 11.09.11(15:45)
Стрит...
помнишь,проскакивал тут как-то патент на конверсионную
антенку,которую потом на дампс телефоны делали внешнюю?
форма ее в разрезе похожа на тюльпан....
по середке-штырь....
больше-ни хрена....
штырь короче апертуры тюльпана...
точнее-там были два тюльпана-жопа друг-другу...
як вибратор обычный с вертикальной поляризацией...
оооочень похоже на Иеронимовскую игрушку...

_________________
Обьективная реальность-бред,вызванный недостатком алкоголя в крови...


turist1 | Post:325502 - Date: 11.09.11(15:59)
street Пост: 325500 От 11.Sep.2011 (16:34)
Симулятор. Из сведений в ветке "Сверхединица за минуту" сильно не нагревается. ..


Как бы его чтобы грелось посильней..утопить эту байду в масло. а масло через теплообменник с батареями:)-первое применение какое в голову приходит:)

Напряжение источника подымать?:)

street | Post:325587 - Date: 12.09.11(15:02)
олег-джан Пост: 325501 От 11.Sep.2011 (16:45)
Стрит...
помнишь,проскакивал тут как-то патент на конверсионную
антенку,которую потом на дампс телефоны делали внешнюю?
Патент?... Запамятовал , чтот..., а может и не знал никогда...

форма ее в разрезе похожа на тюльпан....
по середке-штырь....



Оно?
image


больше-ни хрена....
штырь короче апертуры тюльпана...

Нда-аа, чего только не узнаешь от Гугеля на такой запрос....
image


точнее-там были два тюльпана-жопа друг-другу...
як вибратор обычный с вертикальной поляризацией...

image

Вот если витки разные , то звенит много дольше. Почему? Молчит наука...😊

_________________
Главное в мелочах


олег-джан | Post:325590 - Date: 12.09.11(15:13)
злодей...
827719.tif
Размер: 3.08 KB

_________________
Обьективная реальность-бред,вызванный недостатком алкоголя в крови...


va123 | Post:325591 - Date: 12.09.11(15:18)
олег-джан Пост: 325501 От 11.Sep.2011 (16:45)
Стрит...
помнишь,проскакивал тут как-то патент на конверсионную
антенку,которую потом на дампс телефоны делали внешнюю?
форма ее в разрезе похожа на тюльпан....
по середке-штырь....
больше-ни хрена....
штырь короче апертуры тюльпана...
точнее-там были два тюльпана-жопа друг-другу...
як вибратор обычный с вертикальной поляризацией...
оооочень похоже на Иеронимовскую игрушку...

image


image


image


Буратино | Post:325596 - Date: 12.09.11(15:29)
А и правда, в будущем, когда всякий малец из консервной банки, куска магнита и еще чегото запросто сможет слепить синхрофазотрон, все наперегонки будут делать устройства с СЕ в авторучке, в каком-то жезле или в наперстке...

street | Post:325612 - Date: 12.09.11(19:02)
va123 Пост: 325591 От 12.Sep.2011 (16:18)

Весёлые картинки.
Примерно пару месяцев назад , кто-то выкладывал картинку фрески из какого-то храма древней америки.
Был пост и в нём картинка некоего существа. Цветная или раскрашеная.

Не могу найти..., а хотелось бы.

_________________
Главное в мелочах


AlexSoroka | Post:325613 - Date: 12.09.11(19:11)
Кушелев на своем форуме [ссылка]
выкладывал расчеты "частотных картин" для всех таких предметов...
весьма занятно выглядят...

vodoprovodchik | Post:325614 - Date: 12.09.11(19:13)
в противовес древним
///Найдено картинок: 17 663///
[ссылка]
;-)


street | Post:326125 - Date: 15.09.11(18:07)
Вот лишь бы сломать чё-нить....

Древние похоже, творили этой штуковиной что-то...

_________________
Главное в мелочах


street | Post:326130 - Date: 15.09.11(18:20)
олег-джан Пост: 325590 От 12.Sep.2011 (16:13)
злодей...

Сегодня подумал , что не прав ты....

оооочень похоже на Иеронимовскую игрушку..

Мне на йЭроНимфа игрушку посмотреть не доводилось.
Но вот , что подумал он когда снял питание?
Откуда берётся ЭДС для каждого периода затухающих колебаний? Ведь катухи замкнуты, токи противофазны, а поля скомпенсированы. А в момент перехода обоих токов через ноль полей магнитных нет совсем. Что заставляет ток снова нарастать с нуля? Там хде хранится ЭДС, катухи замкнуты , полей магнитных нет, а ЭДС есть.😳😀

_________________
Главное в мелочах


MVEN-MAS | Post:326151 - Date: 15.09.11(19:58)
va123 Пост: 325591 От 12.Sep.2011 (16:18)

А где почитать, что это за оружие древних на картинках?

street | Post:326154 - Date: 15.09.11(20:08)
А с чего ты взял , что оно оружие?
Мож то спрынцовка, а то мож дезодорант...

_________________
Главное в мелочах


MVEN-MAS | Post:326158 - Date: 15.09.11(19:59)
street Пост: 326154 От 15.Sep.2011 (21:08)
А с чего ты взял , что оно оружие?
Мож то спрынцовка, а то мож дезодорант...

Так там на картинках, один дядя какому-то змею, этой спрынцовкой-дезодорантом угрожает пасть порвать 😬 Или мне показалось? Это явно техногенная штука или как иногда бывает подражание, символ власти, держава...

va123 | Post:326159 - Date: 15.09.11(20:10)
MVEN-MAS Пост: 326151 От 15.Sep.2011 (20:58)
va123 Пост: 325591 От 12.Sep.2011 (16:18)

А где почитать, что это за оружие древних на картинках?


[ссылка]

shkaf | Post:326218 - Date: 16.09.11(06:21)
а чем собственно отличается антена крюка от плоской катушки теслы ??

плоская теслы даже лучше.. размежай лампы сразу с двух сторон плоскостей катушки !

А если двойная плоская(бифиляр) то еще круче в ней разность напряженности между витками просто огромна в отличии от однопроводной плоской..
Нужно всего то на грузить плоскую бифилярку с последнего витка небольшой емкостью. Т е получится бифилярная антена крюка только плоская ну и излучать конечно будет в две стороныю.. зато энерги вней крутиться будет значительно больше чем в однопроводной крюковской !

тт
Размер: 18.68 KB

_________________
На Бога уповаем. http://www.skif.biz/files/e5a7f3.jpg


shkaf | Post:326220 - Date: 16.09.11(06:35)
что это за искрилка.. что автор хотел эти сказать ???

по
Размер: 7.69 KB

_________________
На Бога уповаем. http://www.skif.biz/files/e5a7f3.jpg


vodoprovodchik | Post:326231 - Date: 16.09.11(08:37)
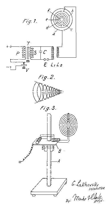
ето лечение по Лаховскому...гдето 1927год...куча диполей даёт радиошум в широком спектре....рак лечит

shkaf | Post:326251 - Date: 16.09.11(10:49)
vodoprovodchik спсибо я понял,
по телику видел пару лет назад примерно аналогичное устройство.. что то похожее на электрозажигалку для газовой плиты только в ней штук 8 боковых электродов и все бъет в один центральный, это все спрятано в пластиковую трубку.. тем концом где разрядники подносят в больную облость.. на мыщах проверяли.. во многих случаях это излечивает опухоли.

_________________
На Бога уповаем. http://www.skif.biz/files/e5a7f3.jpg


AlexSoroka | Post:326256 - Date: 16.09.11(11:19)
vodoprovodchik Пост: 326231 От 16.Sep.2011 (09:37)
ето лечение по Лаховскому...гдето 1927год...куча диполей даёт радиошум в широком спектре....рак лечит


подробнее про Лаховского:

[ссылка]

Лечение рака - частоты и эксперименты
[ссылка]



vodoprovodchik | Post:326261 - Date: 16.09.11(11:35)
;-)


Размер: 327.84 KB

sanvalerich | Post:423858 - Date: 11.08.13(19:50)
Начнём сначала... Вот, здесь: [ссылка] на фиг. 1, 2, 3 изабражён какой-то конструктив антенн, или чего там, не знаю... Может кто-нибудь на словах описать это?

Eduard | Post:423859 - Date: 11.08.13(20:49)
На фиг.1 изображены два ферритовых стержня. На левой половинке верхнего стержня намотана катушка резонансного контура ДВ. На правой половинке - несколько витков связи (обозначена 1). На нижнем ферритовом стержне намотано только несколько витков связи, но в другую сторону. Эти катушки связи включены последовательно, то есть, сигнал от фонового магнитного поля этих антенн взаимно вычитается. Нижний стержень обозначен КВ.

На фиг.2 изображены два ферритовых стержня параллельно, на них намотаны одинаковые катушки, но с разным направлением намотки. Катушки соединены между собой крест-накрест. Стрелками показаны силы притяжения торцов стержней друг к другу.

Фиг.3 состоит из двух рисунков - а и б. На них изображено по одному ферритовому стержню, на каждый из которых навито по катушке, причем до середины с одним направлением навивки, а после середины направление меняется на противоположное. Крайние концы катушки закорочены между собой. Обозначены точки подключения к схеме, одна точка - это соединенные крайние концы, а вторая точка - это середина катушки, где витки меняют направление. Рисунок б отличается от рисунка а только начальным направлением намотки, а в остальном всё то же самое.

На фиг.4 нарисованы две как бы конические катушки, навитые встречно и соединенные последовательно. Фиг.5 геометрически нарисованы просто два усеченных конуса, соединенных своими широкими донышками.

На фиг.6 нарисована схема, на ней последовательно соединяются: антенна, генератор сигнала, половинка обмотки на кольце, вторая половинка обмотки на кольце (согласованно), и заземление.

_________________
И мню аз яко то имать быть, что сам себе всяк может учить.


sanvalerich | Post:423874 - Date: 12.08.13(04:03)
Спасибо, Eduard! Хоть что-то проясняется
На страничке: [ссылка] говорится об улучшении приёма по зеркальному каналу... Что это такое?

<] [ 1 | 2 | 3 | 4 | 5 | 6 | 7 ] [>
У Вас нет прав отвечать в этой теме.
Форум - Резонансные генераторы - Электронные генераторы (схемотехника) - Антенна Крюка - возможно, сверхединичник? - Стр 5
🏠 Главная | 📚 Содержание | 💬 Форум | 📁 Файлы | 📩 Контакт