[ВХОД]
25.05.26(13:21)

mob.skif.biz

Альтернативная энергия. Оставь надежду, всяк сюда входящий...

🏠 Главная | 📚 Содержание | 💬 Форум | 📁 Файлы | 📩 Контакт
 
Резонансные генераторы
Магнитные генераторы
Механические центробежные (вихревые) генераторы
Электростатические генераторы
Водородные генераторы
Ветро- и гидро- и солнечные генераторы
Прочие идеи (разные)
О форуме
Транспорт
Оружие
Научные идеи, теории, предположения...
Экономия топлива
Коммерческие вопросы
Струйные технологии
Торсионные генераторы
Новые технологии
Барахолка
Патентный отдел
Конструкторское бюро
Нейтронная физика
Торнадо и смерчи
Гравитация и антигравитация
Сделай сам. Советы.
Медицина и здравоохранение

🖥️ | 🖨️

Форум - Резонансные генераторы - Электронные генераторы (схемотехника) - Антенна Крюка - возможно, сверхединичник? - Стр:1
[ 1 | 2 | 3 | 4 | 5 | 6 | 7 ] [>
Модератор: sanvalerich
sanvalerich | Post:324651 - Date: 07.09.11(09:24)
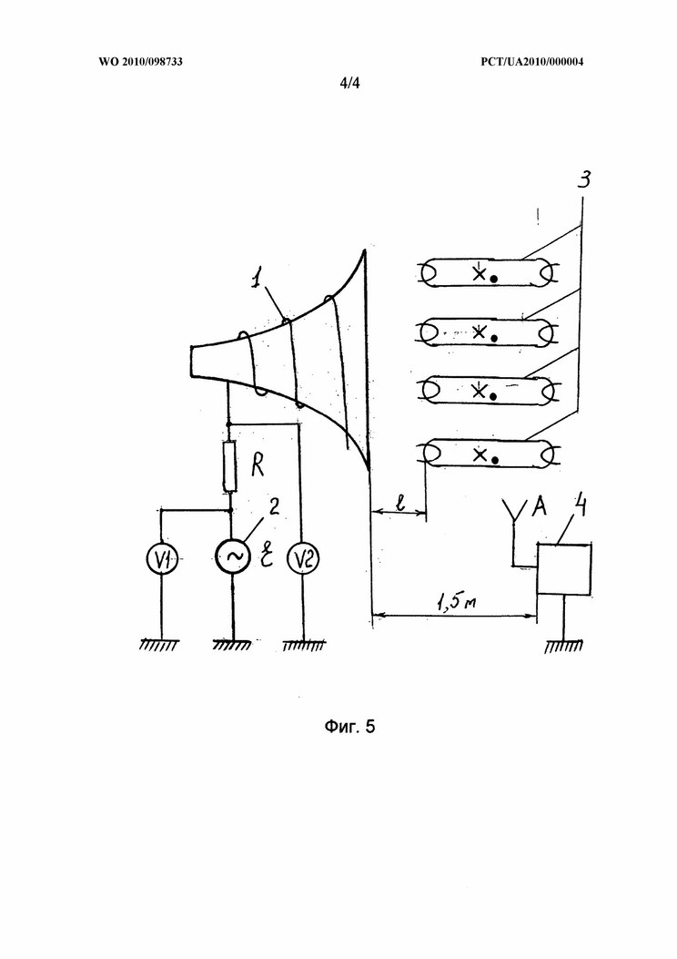
Вот, патент: . Давайте попробуем разобраться. Хорошо бы перевести этот патент на Русский язык...

dedivan | Post:324655 - Date: 07.09.11(09:34)
Все переведено давно. На сайте лежит.



Размер: 260.65 KB


Размер: 184.81 KB


Размер: 55.68 KB

_________________
я плохого не посоветую


sanvalerich | Post:324659 - Date: 07.09.11(09:41)
А в формате .doc, или .pdf нету?

sanvalerich | Post:324664 - Date: 07.09.11(09:57)
В связи с антенной Крюка был упомянут и господин Аркадьев... В какой области науки он занимался исследованиями?

Владимир_64 | Post:324666 - Date: 07.09.11(10:01)
Коэффициент конечно бешенный, 4 лампочки по 20Вт от генератора в 1Вт. Откуда столько?

dedivan | Post:324668 - Date: 07.09.11(10:03)
sanvalerich Пост: 324659 От 07.Sep.2011 (10:41)
А в формате .doc?

😬😬😬
В курсовик скопипастить решил? "Посодють. А ты не воруй."

_________________
я плохого не посоветую


Буратино | Post:324669 - Date: 07.09.11(10:09)
Так там все устроено на резонансе! Отсюда и СЕ

noirt | Post:324676 - Date: 07.09.11(10:53)
sanvalerich Пост: 324659 От 07.Sep.2011 (10:41)
А в формате .doc, или .pdf нету?

edb647.rar
Размер: 616.61 KB
cd48b6.rar
Размер: 432.57 KB

sanvalerich | Post:324681 - Date: 07.09.11(11:00)
Вот, что нарыл по Аркадьеву:
---
Работая в начале ХХ века с сантиметровыми и дециметровыми волнами, В. К. Аркадьев открыл явление резкого снижения магнитной проницаемости ферромагнитных материалов с повышением частоты. Ему же принадлежит ряд остроумных изобретений, в частности, так называемый вихремер Аркадьева -
калориметрический измеритель поля, состоящий из кольцевой трубки, заполненной электролитом. К этой трубке прикреплен капилляр, высота столбика электролита в котором увеличивается при нагревании СВЧ-полем кольца жидкости в трубке. Он также изобрел электрохимический способ
визуализации электромагнитного поля СВЧ с использованием множества миниатюрных когереров
(метод стиктограмм Аркадьева).
---

sanvalerich | Post:324683 - Date: 07.09.11(11:08)
Спасибо, noirt, за ссылки... Но всё же, это не то немного... В этих файлах использован графический формат, хотелось бы в текстовом виде... Но, вероятно, в текстовом виде таких документов нет... Жаль, конечно, буду искать выход из положения... 😀

sanvalerich | Post:324684 - Date: 07.09.11(11:10)
Да нет, деду, курсовики мне уже поздно писать... 😀 Просто, прочитать бы...

dedivan | Post:324685 - Date: 07.09.11(11:13)
Мелко что ли?
Так смотри прямо в браузере- кнопку масштаб нажми какой надо.

_________________
я плохого не посоветую


street | Post:324695 - Date: 07.09.11(11:53)
dedivan Пост: 324685 От 07.Sep.2011 (12:13)
Мелко что ли?
Так смотри прямо в браузере- кнопку масштаб нажми какой надо.

Деда , он вроде не зрячь.
Ему надо текст , чтоб можно было его потрогать.

_________________
Главное в мелочах


FEME | Post:324697 - Date: 07.09.11(12:02)
Что вы человека подкалываете? Ну мелко, ну разрешение в картинках неважное, читать и правда сложновато... Вопрос в другом, зачем нужен этот параболоид инженера Крюкова? 😊 Только лампочки для иллюминации дистанционно зажигать?

_________________
\\\"Если ты не умеешь владеть собой, тобой завладеют другие\\\" (Кроното—Сумус)


dedivan | Post:324704 - Date: 07.09.11(12:28)
А трансформаторы Теслы- искорки попускать под музычку.

_________________
я плохого не посоветую


dedivan | Post:324705 - Date: 07.09.11(12:33)
FEME Пост: 324697 От 07.Sep.2011 (13:02)
Ну мелко, ну разрешение в картинках неважное, читать и правда сложновато...

Ну не знаю...
image



Размер: 176.73 KB

_________________
я плохого не посоветую


олег-джан | Post:324706 - Date: 07.09.11(12:34)
dedivan | Post: 324704 - Date: Wed Sep 07, 2011 8:14
А трансформаторы Теслы- искорки попускать под музычку.

шалишь,Деда...
ни в коем случае такими игрушками не баловаться....
там продолька от искры(дуги) так модулирует пространство,
что у тебе все ионообменные процессы в организме раком-боком встанут...
поэтому такие излучатели и не получили широкого распространения...
хотя-кпд-приличный....

_________________
Обьективная реальность-бред,вызванный недостатком алкоголя в крови...


dedivan | Post:324707 - Date: 07.09.11(12:35)
Так пиндосы- пусть балуются. Это у них модно.

_________________
я плохого не посоветую


олег-джан | Post:324708 - Date: 07.09.11(12:41)
dedivan | Post: 324707 - Date: Wed Sep 07, 2011 8:22
Так пиндосы- пусть балуются. Это у них модно.

не дураки они...
включают,только чтобы фото сделать...
успели волосы на лобке наэлектризоваться-сфоткали...
сразу выключили.....
это наших российских увальней провоцируют часами искрить
и наблюдать.....
а потом-отчёт в инет.....
зашибись.....

_________________
Обьективная реальность-бред,вызванный недостатком алкоголя в крови...


dedivan | Post:324709 - Date: 07.09.11(12:49)
олег-джан Пост: 324708 От 07.Sep.2011 (13:41)
не дураки они...
включают,только чтобы фото сделать...

Ты значит ихние дискотеки не видел....
Ну тупыыеее...

_________________
я плохого не посоветую


олег-джан | Post:324711 - Date: 07.09.11(12:52)
Ты значит ихние дискотеки не видел....

не видел.....не спорю...дефолт помешал...может и к лучшему...
значит-гноят своих-же?
п.с.А ты спроси "Издалека",почему он из штатов свалил?
много интересного.....

_________________
Обьективная реальность-бред,вызванный недостатком алкоголя в крови...


Издалека | Post:324721 - Date: 07.09.11(13:29)
Я оттуда не сваливал. Лето провёл с дочкой. Посмотрел на них.
Решил, что ноги моей там не будет. Выполняю решение уже много лет.
Большего дебилизма не встречл ни в одной стране (по работе объехал больше 30ти).

MSN | Post:324725 - Date: 07.09.11(13:51)
Издалека, а конкретизировать можешь ?
Просто интересно свежее мнение нашего человека оттуда.
То, что USA это полицейское государство, и демократия там только в конституции, это факт известный...

_________________
Говорите говорите, я всегда зеваю когда мне интересно. 99,9% всех СЕ устройств, - от неправильных измерений


Издалека | Post:324732 - Date: 07.09.11(14:15)
Это не свежее. Это 1993 год.
То, что полицейское и не шагу влево/вправо . . .

Конкретный пример (что меня прото убило!)
Сидим в 3 ночи в его доме в лесу. В хлам оба.
Он любил компъютерные игрушки, а у меня с собой была на дискете "Косынка" (ежели кто не помнит, то пасьянс. Написано русскими ребятами прямо машинным кодом, потому с графикой вместе всего 80кб!!!)
Я ему предложил показать. Не переписать, а просто показать с дискеты.
На это последовал ответ примерно так: не могу и не имею права, потому как ты не автор и не дистрибъютор этой программы!

Вот такие они.
Ну и много ещё чего. Я там жил 3 месяца просто в их нормальной среде не как турист.

AlexSoroka | Post:324733 - Date: 07.09.11(14:27)
MSN Пост: 324725 От 07.Sep.2011 (14:51)
Издалека, а конкретизировать можешь ?
Просто интересно свежее мнение нашего человека оттуда.
То, что USA это полицейское государство, и демократия там только в конституции, это факт известный...


Да зачем далеко ходить?

скачивай сериал "Во все тяжкие"(Breaking Bad) и смоти сам
:)
там как раз современные США - все события и поведение героев - строго по "менталитету". Я посмотрел часть серий - мне реально поплохело - я не понимаю КАК ТАК МОЖНО ЖИТЬ??????????????


[ 1 | 2 | 3 | 4 | 5 | 6 | 7 ] [>
У Вас нет прав отвечать в этой теме.
Форум - Резонансные генераторы - Электронные генераторы (схемотехника) - Антенна Крюка - возможно, сверхединичник? - Стр 1
🏠 Главная | 📚 Содержание | 💬 Форум | 📁 Файлы | 📩 Контакт