[ВХОД]

05.04.26(05:30)

mob.skif.biz

Альтернативная энергия. Оставь надежду, всяк сюда входящий...

🏠 Главная | 📚 Содержание | 💬 Форум | 📁 Файлы | 📩 Контакт

🖥️ | 🖨️

Форум - Научные идеи, теории, предположения... - идеи и теории, научные и бредовые... - Алгоритм конструктора ВД, "гравитационные консервы" - Стр:6
<] [ 1 | 2 | 3 | 4 | 5 | 6 | 7 | 8 | 9 | 10 | 11 | 12 | 13 ] [>
Модератор: bslav
Первый пост темы: bslav Post: #196820 От:22.08.2009 (14:31)
Обсуждается постулат: есть физические законы сохранения и есть "запретительные подзаконные акты мэтров" в виде теорем, типа, "сумма работ погружаемых
и всплывающих поплавков под действием архимедовых сил не может быть больше нуля", что по мнению мэтров в принципе запрещает утилизацию свободной энергии из неисчерпаемого источника природных полей потенциальной энергии, теоретически запрещает конструирование «вечных двигателей второго рода».
Но нет! Оказывается можно нарушить запрет мэтров, если погружение поплавков осуществлять малозатратно . «Потенциальное поле энергии не может работать против себя самого, как Мюнхгаузен», утверждают они. Может, если конструктором применён Универсальный Метод (УМ) Утилизации Энергии потенциальных полей консервативных сил.

Для изобретателей вечных двигателей "УМ" формулируется так:
Если в устройстве циклично одна форма потенциальной энергии превращается в другую форму энергии, работа сил которой имеет противоположное направление действия векторов консервативных сил, то
МАЛОЗАТРАТНО, периодически отключая (ослабляя) действие поля сил одной формы энергии и включая (усиливая) действие поля сил другой формы энергии,
Можно(!) во времени и в пространстве сформировать положительную разность мощностей действия этих сил и снять эту разность мощностей, т.е. получить полезную мощность для потребителя свободной энергии. Это достигается изобретателем путём подбора известных физических эффектов.

все схемки Богомолова [ссылка]

- М-Парадигма физической Картины Мира
[ссылка]

Следствия из М-Парадигмы и решающие эксперименты:

- «От какого наследства мы не отказываемся»
[ссылка]
- Испытания Центробежно-гравитационного двигателя «ГМБ-2009»
[ссылка]
- "Центробежный генератор Богомолова" как игрушка.
[ссылка]
- Катается шарик в магнитном поле
[ссылка]
- Вихревой струйный насос = "тепловой насос"
[ссылка]
- Вихревой генератор энергии "БАК"
[ссылка]
bslav | Post:226355 - Date: 22.01.10(16:02)
bear Пост: 226105 От 21.Jan.2010 (14:36)

Так и недалеко до гидотарана в колодце 😏 )))


К сожалению, поток в трубе гидротарана - источник его энергии (на выходе) будет питаться энергией, нашими ЗАТРАТАМИ созданной, амплитуды колебаний в У-образном сосуде, в отличие от, возникающей в градиенте давлений гидростатического столба жидкости, ХАЛЯВНОЙ энергии работы архимедовых сил на поплавке.

bslav | Post:226454 - Date: 23.01.10(12:34)
bslav Пост: 226057 От 21.Jan.2010 (09:15)
frz Пост: 226032 От 20.Jan.2010 (23:35)
bslav Пост: 225645 От 19.Jan.2010 (08:35)
Объясните мне, почему, например, в схеме МДА такт "потопление" Вы не считаете малозатратным, относительно приращения энергии при его всплытии?

Ну во первых в обоих этих устройствах Вы поплавок не топите, а заливаете водой.А во вторых, неужели Вы даже чисто из жизненного опыта не понимаете, что работа обоих этих устройств после первого всплытия поплавка прекратится, вода успокоится и второго такта уже не будет. И еще, о какой к черту высокодобротной системе Вы ведете речь? Если рядом с Вами стоит чашка с кофе, качните ее и посмотрите, через сколько тактов колебания прекратяться. Максимум 10 до полного прекращения колебаний. И это без всяких поплавков и U-образных колен. Вы пишите чушь, а потом обижаетесь, что с Вами никто не хочет общаться.

Купите две метровых пластиковых трубы, что применяется в сантехнике, соедините их внизу коленами-патрубком (потянет на 300р). Это очень соответствует двум веткам У-образной конструкции МДА. Так или нет? Поместите сверху в одну трубу пустую бутылку из под пепси. Это будет соответствовать поплавку подкачки МДА. Зафиксируйте бутылку защёлкой, можно клинышком на дне,а клинышек - к верёвочке. Заполните водой сообщающиеся сосуды. Теперь дёрните за верёвочку. Не делайте это в комнате, лучше в ванне. Вода была спокойной, а когда вы разстопорите фиксатор, то приличный фонтан выплеснется наружу. Хороша подкачка! Ещё и халява остаётся.


Если Вы, frz , всё же решитесь потратиться на 300р, проведёте опыт и результат Вам понравится, то доделать его до действующей модели легко: в соединительный патрубок вставьте клапанную коробку, а к пепси-поплавку прикрепите тормозной парашют, как на рисунке


Размер: 4.92 KB

bslav | Post:226665 - Date: 24.01.10(12:08)
Меня попросили показать в кучке все мои посты про МДА
Пост: 204367 От 15.Oct.2009; Post: 196820 - Date: 22.08; Post: 204415 - Date: 15.10; Post: 216101 - Date: 12.12; Post: 223247 - Date: 10.01; Post: 226057 - Date: 21.01; Post: 226454 - Date: 23.01
Полностью скачать статью №5 [ссылка]


bslav | Post:227998 - Date: 30.01.10(09:59)

«Консервы инерционной энергии»
(по аналогии с "гравиконсервами")

Два центробежных вибратора, работая синхронно и в противофазе силами инерции совершают сверх единичную работу, так как затраты мотором привода на поддержание константы моментов импульсов вращающихся грузов (дебалансов) сводятся только к преодолению сил трения в подшипниках.

На рисунке жёлтым цветом показаны приготовленные в такте сжатия
«инерционные консервы» аккумулированной свободной энергии.


Размер: 1.44 KB

bslav | Post:228772 - Date: 02.02.10(18:55)
На рисунке показана

схема теплогенератора-БТГ, использующего свободную энергию сил инерции механизма (двигателя) «центробежный вибратор».



В ёмкость с жидкостью помещены помпа (насос) с валом помпы (коричневый цвет). На валу помпы крепятся две оси (красный цвет) с турбинами (жёлтый цвет). Турбины соединены с синхронизированными шестернями (красный цвет). На шестернях имеются грузы-дебалансы (красный цвет). Сливные патрубки соединены с помпой.

Принцип действия.

1. Движущаяся жидкость нагревается.

2. Жидкость в движение приводится помпой (коричневый цвет). Отсос жидкости помпой (впуск) происходит через нижний патрубок помпы, а выпуск жидкости в ёмкость – через верхний патрубок помпы. В нижний патрубок помпы жидкость поступает через два патрубка слива в днище ёмкости.

3. Слив жидкости через эти два патрубка образует две «вихревых сливных воронки жидкости» в ёмкости, благодаря силам Кориолиса.

4. Вихревые потоки жидкости вращают турбины (жёлтый цвет).

5. Турбины приводят во вращение синхронизированные шестерни центробежного вибратора (красные полосы).

6. На вращающихся шестернях закреплены дебалансы (красный цвет). Работа не скомпенсированных центробежных сил вызывает вибрацию (колебания).

7. Без затратная работа колебаний дебалансов передаётся через оси турбин на вал помпы и служит источником энергии для работы помпы.


Размер: 3.17 KB

bslav | Post:230285 - Date: 08.02.10(13:00)
Ещё один способ использования "консервов" (гравитационных и инерционных)

Аккумулированное "консервами" давление в ёмкости с водой (в т.ч. )на дне водоёма, нагнетает воду в устройство "http://www.ntpo.com/patents_gas/gas_1/gas_64.shtml",
полученнй водород(или гремучий газ) отдаём генератору-получаем, что
хотели. 😀

Газ "всплывает", освобождает объём в рабочей камере "консервов", вода под давлением вновь заполняет рабочую камеру и процесс повторяется (см. также [ссылка] )



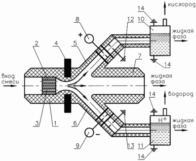
bslav | Post:230411 - Date: 09.02.10(15:44)
Схема Колдомасова для получения водорода методом кавитации при помощи "свистка УЗВ". Источником давления (энергии) послужит "гравиконсервы".

Вместо добавки "тяжёлой воды" применяют, например, алюмосиликаты...


Размер: 13.58 KB

олег-джан | Post:230417 - Date: 09.02.10(16:21)
Вместо добавки "тяжёлой воды" применяют, например, алюмосиликаты...


Откуда дровишки?😳

_________________
Обьективная реальность-бред,вызванный недостатком алкоголя в крови...


bslav | Post:230423 - Date: 09.02.10(16:38)
олег-джан Пост: 230417 От 09.Feb.2010 (16:21)
Вместо добавки "тяжёлой воды" применяют, например, алюмосиликаты...


Откуда дровишки?😳


Про алюмосиликаты прочитал описание результативных экспериментов с этой добавкой при кавитации=теплогенераторе(забыл автора) у Андреева Е.И. в монографии «Естественная энергетика», СПб: Нестор, 2000 (есть на сайте Inventor's club of Russia. [ссылка] ), там в какой-то главе, где он собрал всякие способы (приёмы) ослабления молекулярных связей для ФПВР ("горение"(аутотермия) воды или воздуха в ДВС, котельных, турбинах):
- магнитное поле,
- искровой разряд,
- дуга,
- лазерный,
- катализ,
- УЗВ обработка (кавитация),
- центробежные силы,
- присадки-добавки, растворы...

Правда у Базиева Д.Х. в "Гиперчастотная теория кавитации и распространения звука" ЗАО ЭНЕЛЭКО, М-1998 сказано, что добавки-растворы не влияют на увеличение кавитации...

Там же описан патент Андреева на двигатель, работающий на воде при ФПВР


олег-джан | Post:230426 - Date: 09.02.10(16:57)
Правда у Базиева в "Гиперчастотная теория кавитации и распространения звука" ЗАО ЭНЕЛЭКО, М-1998 сказано, что добавки-растворы не влияютна увеличение кавитации...


Вот-вот....все мутно и неоднозначно...
может и портвейн сработает?....
Ладненько,и на этом спасибо...

_________________
Обьективная реальность-бред,вызванный недостатком алкоголя в крови...


bslav | Post:230558 - Date: 10.02.10(15:05)
Великолепный вариант "гравиконсервы"

abah Пост: 229742 От 06.Feb.2010 (00:13)
Еще один вариант - фреон или пропан, сжиженные на глубине, подаются на поверхность в солнечные коллекторы, а затем - на турбины. И перед коллекторами они могут частично нагреваться в теплообменниках влажным воздухом, для получения пресной воды.


Спасибо!
А необходимое РАБОТАЮЩЕЕ на нас давление "на глубине" может создать и любая (если врезаться) дюймовая труба-стояк в пятиэтажном доме (или шланг в горах) БЕСПЛАТНО! Соответственно, солнечный коллектор на крыше или в тёплом подвале...

bslav Пост: 224639 От 15.Jan.2010
Любопытно было бы подобрать давление на глубине так, чтобы в резиновой камере накачанный фреон при максимальном давлении ожижался (фазовый переход), а при минимальном – испарялся. Тогда, если одна часть колонны связана с атмосферой на улице, а другая часть с домашней атмосферой, то такая установка «гравиконсервы» могла бы работать зимой как отопитель, а летом как охладитель ( тепловой насос).


bslav | Post:231427 - Date: 15.02.10(18:24)
Мне приснилось:
1. Вейник доказал, что есть закон «Взаимно увлекаемых потоков материальной субстанции разных масштабных уровней Квантовой Лестницы».
Это - радость Человечества, это способность иметь рычаг (инструмент) управления потоками Тонкой материи. (Он нашёл и аналоги проводникам, конденсаторам, зеркалам, линзам и т.п.
2. Сохранёное древнее знание «Свастика». По Вейнику=концентратор.
3. Я проверял, потоки Тонкой материи, закрученные в вихрь «Свастикой», магнитным полем такой формы сильно воздействуют на самочувствие.
4. Если вихревой поток магнитного поля в «свастике» от периферии к центру на радиусе кривизны радиуса инерции, божественно, увеличивая скорость логарифмики ускорения траектории потока, приближаясь к полюсу, встретит «Наковальню» дисперсного вещества=катализатора, например, напылёной платины на микросферы, ТО тогда ПРОИЗОЙДЁТ малозатратное (со стороны наблюдателя=пользователя) ПРЕОБРАЗОВАНИЕ, ионизациЯ (холодная плазмохимия), разрушение электрических связей молекул, даже атомов, ... начало ФПВР, например, аутотермия по Андрееву (по моему, плюс ещё необходимо дополнительное разряжение… аж до 60Па=залог ЭКОЛОГИЧЕСКОЙ совести).
5. Тогда вспомните, про необходимость схемы действия В.Шаурбергера «Имплозия» и схему Власова «Столб 100 кирпичей», мою схему «вихревой насос» [ссылка]

Вывод: в свете М-П, читайте Базиева-Андреева, экспериментируйте со «Свастикой» магнитного или электростатического поля (лучше комплексного из двух). Мне приснилось: по оси вращения такого вихря УПРАВЛЯЕМО(!) «гореть» будет всё! Воздух. Вода. Мусор. Последствия Чернобыля. ЭТО очистительная Энергия от ХРИСТА для бедных одиноких и для «КОММУН счастливых», Персональный БТГ.

Вот МОИ эскизы вариантов божественных схем «Псевдосфера», УВЛЕКАЮЩЕГО магнитного и УВЛЕКАЮЩЕГО электростатического вихря «Свастика»:


bslav | Post:231731 - Date: 16.02.10(21:28)
bslav Пост: 231427 От 15.Feb.2010 (18:24)
Мне приснилось:
1. Вейник доказал, что есть закон «Взаимно увлекаемых потоков материальной субстанции разных масштабных уровней Квантовой Лестницы».
Это - радость Человечества, это способность иметь рычаг (инструмент) управления потоками Тонкой материи. (Он нашёл и аналоги проводникам, конденсаторам, зеркалам, линзам и т.п.
2. Сохранёное древнее знание «Свастика». По Вейнику=концентратор.
3. Я проверял, потоки Тонкой материи, закрученные в вихрь «Свастикой», магнитным полем такой формы сильно воздействуют на самочувствие.
4. Если вихревой поток магнитного поля в «свастике» от периферии к центру на радиусе кривизны радиуса инерции, божественно, увеличивая скорость логарифмики ускорения траектории потока, приближаясь к полюсу, встретит «Наковальню» дисперсного вещества=катализатора, например, напылёной платины на микросферы, ТО тогда ПРОИЗОЙДЁТ малозатратное (со стороны наблюдателя=пользователя) ПРЕОБРАЗОВАНИЕ, ионизациЯ (холодная плазмохимия), разрушение электрических связей молекул, даже атомов, ... начало ФПВР, например, аутотермия по Андрееву (по моему, плюс ещё необходимо дополнительное разряжение… аж до 60Па=залог ЭКОЛОГИЧЕСКОЙ совести).
5. Тогда вспомните, про необходимость схемы действия В.Шаурбергера «Имплозия» и схему Власова «Столб 100 кирпичей», мою схему «вихревой насос» [ссылка]

Вывод: в свете М-П, читайте Базиева-Андреева, экспериментируйте со «Свастикой» магнитного или электростатического поля (лучше комплексного из двух). Мне приснилось: по оси вращения такого вихря УПРАВЛЯЕМО(!) «гореть» будет всё! Воздух. Вода. Мусор. Последствия Чернобыля. ЭТО очистительная Энергия от ХРИСТА для бедных одиноких и для «КОММУН счастливых», Персональный БТГ.


bslav Пост: 210298 От 14.Nov.2009 (00:38)
ЗАКОН "ПОЛНАЯ СИСТЕМА МЕХАНИЧЕСКОГО ДЕЙСТВИЯ РАБОТЫ КОНСЕРВАТИВНЫХ СИЛ (ПСМД)" Богомолова (Математическая модель среды и динамика преобразования элементов ее системы):

Эволюция безразмерного параметра Горячко "Y", в процессе динамики фазовых переходов состояния среды (ТДВ, ДС, СА), через “внутреннюю форму траектории колебаний” элементов в глобулах, связана со средней плотностью энергии элементов среды и, тем самым, отражает всеобщую и универсальную схему ВКМРП в моделях ДСП и
ПСМД, наиболее общую схему модели самодвижения в природе, саморазвития через САМОСТРУКТУРИРОВАНИЕ природных сред.

В нелинейной среде с топологической сетью ячеек в фазовом переходе к новой структуре топологической сети элементы-ячейки преобразуются на один шаг логарифмической шкалы КЛ. Элемент-ячейка в виде торообразного вихря превращается в поток-орбиту слоя, энергетического уровня КВ-МС нового вихря новой топосети новой фазы среды. Математическая модель эволюции торообразного вихря есть превращение тора в псевдосферу.
По схеме этой же модели происходит передача энергии от ячейки к ячейке топосети среды в ее равновесном состоянии, в фазе диссипативных структур (т.е. всегда оно есть на низшей ступени КЛ) во время передачи энергии в волновой форме в двух формах:
• По фронтальной для тора цепочке: от ячейки к ячейке выстраивается “катушкообразная трубка” из псевдосфер (аналогия с трубкой Кундта со стоячей УЗВ волной во взвеси частиц).
Математическая модель эволюции торообразного вихря – апроксимация тора орбитой в форме кривой линии окружности, а затем, итерация функций кривых сечений математического конуса. Такой последовательностью действий мы опишем процесс эволюции, впишем, после тангенциального разрыва скорости на окружности, образовавшуюся логарифмику в поверхность псевдосферы. Упрощённую модель этого процесса мы наблюдаем в ванне, как формирование воронки слива воды.
Псевдосфера и логарифмика созданы друг для друга как влюбленные. Псевдосфера образована фигурой вращения трактрисы вокруг ее асимптоты. Ветвь трактрисы стремится до бесконечности к асимптоте так же, как ветвь логарифмической спирали стремится до бесконечности к своему полюсу, точке, которую мы представим “торцом” асимптоты, если асимптоту будем считать аксиальным вектором вращения тора.
Математическую модель преобразования вихревого тора в усеченный конус мы находим в работе Л.А.Юткина ("Электрогидравлический эффект и его применение", Л.:Машиностроение, 1986). Ему потребовалась не одна страница, чтобы показать, через векторные диаграммы всех сил, действующих на точки поверхности ВИХРЕВОГО тора, как он, постепенно превращаясь, принимает форму конуса, псевдосферы Лобачевского.
• По цепочкам связей в плоскости тора: от ячейки к ячейке при тангенциальном разрыве (“картинка спиральной галактики”).

В масштабе элементов ДСП передача энергии между соседними ячейками топосети осциллятора (близкодействие) происходит в форме массопереноса. В масштабе системы ДСП осциллятора энергоперенос происходит путем распространения волн и излучения по осциллятору среды волновым фронтом.
Цепная линия – эволюта трактрисы, а она – эвольвента цепной линии. Цепная линия почти есть гипербола, кривая сечения математического конуса. Отличия появляются при апроксимации псевдосферы конусом. Поэтому тригонометрические функции и гиперболические функции как сестры. Числовые ряды Фурье гиперболических функций описывают золотое сечение, средне пропорциональные числового ряда, музыкального ряда Архимеда гармоник частот и т.д., в конечном итоге, описывают квантово-механические уровни систем ячеек (круги логарифмической спирали) топологической сети осциллятора среды ФВ.

Ячейки Бенара моделирует четырехмерная суперсфера, ее проекция на трехмерное пространство есть сфера с вписанным в нее тором. Математическое поле числовых рядов Фурье моделирует структуру топологической сети диссипативных структур ФВ одного уровня квантовой лестницы (КЛ). Фракталы...- субординация в иерархии систем осцилляторов КЛ среды ФВ.


Вот МОИ эскизы вариантов божественных схем «Псевдосфера», УВЛЕКАЮЩЕГО магнитного и УВЛЕКАЮЩЕГО электростатического вихря «Свастика»:
Слева модуль свастики "стакан" асимметричного электростатического поля
Слева модуль свастики "стакан"  асимметричного электростатического поля
Размер: 2.79 KB
модули свастики в псевдосфере ПСМД
модули свастики в псевдосфере ПСМД
Размер: 4.74 KB

bslav | Post:231919 - Date: 17.02.10(18:40)
Прожект.
Надо поженить эти схемы. Одному мне не по силам, а вместе можно и батьку побить.


Размер: 6.22 KB

bazarov | Post:232008 - Date: 18.02.10(02:27)
Дед не сдавайся!

_________________
Не хватит никакого здоровья, чтобы приспособиться к этому глубоко больному обществу(Кришна Мурти)/Горшки не Боги обжигают (многовековая классика)


bslav | Post:232043 - Date: 18.02.10(11:21)
Вихрь тонкой материи в форме псевдосферы играет роль ДВИЖИТЕЛЯ:
18.02 (09:05) | adykiy - Гравицапа в действии-http://www.versii.com/news/199719/

«Первоначально движитель хотели испытывать на МКС, однако затем было принято решение установить его на спутник, где эксперимент, по мнению конструкторов, получается более чистым. Перемещение происходит за счет движения внутри аппарата жидкого или твердого рабочего тела по определенной траектории, напоминающей по форме ТОРНАДО (я: ПСЕВДОСФЕРА, ПСМД=превращение радиационного давления в поток).
bslav Пост: 210298

При этом в получаемом эффекте движения ученые, возможно, наблюдают неизвестное явление взаимодействия рабочего тела с полями, природа которых мало изучена, как, например, природа гравитационного поля.»



bslav | Post:236450 - Date: 17.03.10(19:26)
Можно ли на «сегнерове колесе» получить самоускорение вращения за счёт реактивных сил, если поток струи создать с учётом «эффекта Котоусова»?
В третьем рисунке я показываю свой вариант схемы такого устройства, который предлагаю считать положительным ответом на поставленный вопрос.

Про сегнерово колесо [ссылка] Автор статьи справедливо выносит вердикт о работоспособности центробежного двигателя по сегнеровой схеме: «Увы, результаты (анализа) неутешительны — повышение скорости вращения и диаметра … лишь приближает скорость истечения струи из сопла к его линейной скорости, но не может достичь её. Попытка же уменьшить диаметр сопла увеличивает скорость струи из него по отношению к потоку в трубке, но сам поток при этом замедляется так, что выигрыша в соотношении скоростей сопла и выбрасываемой струи опять не получается! … ранее мы уже убедились, что если даже сопло будет вообще снято, реактивной тяги мы не получим! Означает ли это, что получить энергию таким образом нельзя? Без изменения фазового состояния тела — да, означает».

Эффект Котоусова. [ссылка]
«Обнаружен коэффициент усиления мощности струи до 4 ... 4.5 единиц по отношению к входной мощности потока воды, задаваемой ее входным избыточным давлением и объемным расходом. Рассмотрены причины этого эффекта и источник дополнительной энергии». Автор статьи пишет: «Здесь я хочу популярно изложить наиболее важные моменты и обсудить их с точки зрения возможности практического получения «энергии из воздуха».

Не обсуждая источники энергии дарового приращения энергии и мощности струи, а только доверяя автору-экспериментатору, предложим полученную мощность струи использовать для нагнетания давления в ресивере (типа воздушный колокол, см. нижний рисунок). Модифицированное сегнерово колесо расположено горизонтально. Предполагается, что после стартового разгона внешним двигателем до необходимых оборотов устройства, струя, захватывая атмосферный воздух, плюс захват воздуха встречным потоком при вращении устройства, создаст оптимальные, согласно результатам экспериментов Котоусова, характеристики давления в системе. В результате, ожидается вторичный эффект: возникнет на оси устройства ускоряющий момент сил, в результате работы инерционных реактивных сил потоков в периферийных участках трубопроводов.

Систему клапанов (например, это может быть гидравлический запор, или как в устройстве гидротарана) и автомат их включения-выключения додумайте сами. Автор считает, что устройство должно работать в импульсном режиме. К несущественному для принципиальной схемы прожекта, отношу и организацию восполнения расхода воды, при возможном частичном её разбрызгивании.
Вид сверху. Показаны две идентичные ветви для обеспечения балансировки колеса. Rc — расстояние от оси вращения до центра сопла; Rз — радиус от оси вращения до центра заборника.
Вид сверху. Показаны две идентичные ветви для обеспечения балансировки колеса. Rc — расстояние от оси вращения до центра сопла; Rз — радиус от оси вращения до центра заборника.
Размер: 2.31 KB
На рисунке показаны результаты измерений коэффициента энергетической эффективности сопла q для различных продольных профилей круглых сопел.
На рисунке показаны результаты измерений коэффициента энергетической эффективности сопла  q для различных продольных профилей круглых сопел.
Размер: 12.85 KB
На рисунке: 1 – ресивер на полуосях вращения устройства; 2 – патрубок с форсункой Котоусова; 3 – возвратный патрубок с приёмником струи; синим цветом обозначены струи из форсунок; маленькие стрелки показывают направления потоков в трубопроводах; большая
На рисунке: 1 – ресивер на полуосях вращения устройства; 2 – патрубок с форсункой Котоусова; 3 – возвратный патрубок с приёмником струи; синим цветом обозначены струи из форсунок; маленькие стрелки показывают направления  потоков в трубопроводах; большая
Размер: 2.62 KB

adykiy | Post:236455 - Date: 17.03.10(20:13)
bslav Пост: 231919 От 17.Feb.2010 (18:40)


Тепловой струйный насос, можно ли присобачить к топливному котлу для интенсификации пиролиза дровяных отходов.Есть ли действующая модель, может фотки.Какие минимальные размеры.

bslav | Post:236615 - Date: 19.03.10(09:34)
adykiy Пост: 236455 От 17.Mar.2010 (20:13)
bslav Пост: 231919 От 17.Feb.2010 (18:40)

Тепловой струйный насос, можно ли присобачить к топливному котлу для интенсификации пиролиза дровяных отходов.Есть ли действующая модель, может фотки.Какие минимальные размеры.


Ни чего нет, кроме прожекта в голове и этой картинки.
Идея родилась по мотивам "репульсин" Шаубергера, а провести опыты с таким устройством я мечтаю на собственной деревенской печи, чтобы в перспективе топить её опилками. Отсюда размеры: чтобы свободно железяка входила в топку, чтобы помещать её бы можно было туда как приставку по потребности.
Сделать прикидочные расчёты не могу, надеюсь варить из листа и ломать по методу "тык", термометра, манометра и интуиции.
[ссылка]

bslav | Post:238384 - Date: 30.03.10(19:30)
Вот прожект-принципиальная схемка БТГ, иллюстрирующая как "энергия схлопывания" может быть утилизована устройством. Она относится к семейству схем "Гравиконсервы", может рассматриваться как один модуль, если их разместить на бесконечной цепи вертикального транспортёра. "Прототипом" принципа работы устройства послужил пузырёк при кавитации жидкости, а также АДИАБАТНЫЙ процесс сжатия и нарревания воздуха в цилиндре "воздушное огниво".

Устройство "Зонд Мариинской впадины" представляет собой герметичный цилиндр закрытый с одной или с двух сторон поршнями, зафиксированный(ых) защёлкой. Между дном цилиндра и поршнем воздух и вода (третья часть объёма, например)находятся при атмосферном давлении, заряженные так на поверхности океана (без затрат энергии) . Зонд, как глубинная бомба сбрасывается с корабля, тонет (отрицательная плавучесть), достигает дна Мариинской впадины, фиксатор автоматически разстопоривает поршень. Под действием сил давления поршень приобретает ДАРОВУЮ кинетическую энергию и ударом сжимает воздух, от нагревания жидкость превращается в перегретый пар и отодвигает поршень обратным ходом, вытесняя забортную жидкость, поршень вновь фиксируется автоматически защёлкой. При этом внутренняя энергия перегретого пара (запасённая внутренняя энергия сил структурной целостности жидкости) отодвигает поршень на ход поршня больший, чем он был зафиксирован при погружении. Зонд приобретает положительную плавучесть и возвращается на поверхность. Зонд почти нейтральной плавучести, тонет десятки минут, а выстреливает поршень мгновенно и при сумашедшем давлении, "воздушное огниво" срабатывает, балласт "подлодки" продувается...

В другом варианте "Зонда" изначально в камере цилиндра воды нет, а в отверстие(я) (с клапаном) врывается под давлением струя и превращается в пар, что отодвигает поршень, увеличивая плавучесть снаряда.

bslav | Post:238608 - Date: 01.04.10(03:47)

На хуторе «БТГ-ОТОПИТЕЛЬ» питающийся ХОЛОДОМ


(задачка №13 продолжение задачки №5) [ссылка]

Адиабатный КПД существенно повышается, если интенсивно охлаждаются стенки камеры, когда в ней над воздухом совершается механическая работа сжатия, - это и есть «изюминка», тот физический эффект в нашем БТГ- отопителе помещений хутора, его основной технический приём, который применяется для достижения поставленной цели: утилизации низкопотенциальной энергии окружающей среды.

На рисунке показано, что под навесом или в сарае (12) размещён БТГ-отопитель. Он состоит из агрегатов:

Агрегата (компрессор) сжимающего атмосферный воздух изохорно-изобарно:
(1 – воздухозаборники, 2 - крепление воздухозаборников на вертикальном валу,
3 - клапанная коробка для сжатия воздуха на принципе гидроудара, 4 – ресивер,
5 - теплообменник ресивера, 9 - патрубок с эжектором);

Агрегата двигателя «эрлифт», привода компрессора:
(7 – закольцованный водопровод, 8 – спиральная колонна, 5 – теплообменник ресивера,
9 - патрубок с эжектором, 6 – двигатель Котоусова);

Агрегата кавитационного теплогенератора (вихревого, либо дискового, либо дроссельного):
(10- шкив от двигателя Котоусова, привод к теплогенератору, 11 – корпус собственно теплогенератора с подводом к бойлеру в водяным отоплением).

Поведём итог. Предлагается возможность кустарного изготовления. Этот прожект устройства БТГ, якобы, способен производить даровую механическую энергию. Эту энергию можно превратить в тепло для обогрева помещения, что для баланса расхода энергии по хозяйству на хуторе является большой экономией. Ни какой монополист нам не запретит построить ещё один такой же сарай с таким же БТГ и даровую механическую энергию превратить уже в электроэнергию, поменяв теплогенератор на электрогенератор.
Изобретатель-прожектёр свою часть дела по изобретению принципа работы БТГ сделал, теперь очередь за конструкторами, узкими специалистами по разработке и состыковке предложенных агрегатов в единое устройство.


Размер: 9.19 KB
f0d5ef.doc
Размер: 52.00 KB

bslav | Post:240158 - Date: 07.04.10(14:36)
bslav Пост: 238608 От 01.Apr.2010 (04:47)

На хуторе «БТГ-ОТОПИТЕЛЬ» питающийся ХОЛОДОМ


На рисунке показано, что под навесом или в сарае (12) размещён БТГ-отопитель. Он состоит из агрегатов:
(6 – двигатель Котоусова; 10- шкив от двигателя Котоусова, привод к теплогенератору...)


В дополнение к предыдущему посту отвечаю, как мне представляется схема действия двигателя по котоусовски, приемлемая для кустарного изготовления.

Корпус для турбины и вихревого стока воды сообщается с атмосферным давлением, что позволяет струе в эффекте Котоусова ускоряться в 4 раза. Неплохо бы использовать уже имеющееся давление в рессивере гидроударного компрессора, но возникнут проблемы с герметизацией вала...

Эффективность струй направленных по лопастям турбины к центру для нас заключается в том, что такая конструкция, используя эффект сил Кориолиса, наиболее полно отбирает их импульс. Кроме того нижняя часть лопастей турбины дополнительно приводится вихревым стоком, утилизуя напор "падающей" воды в горловине (плюс напор от работы эрлифта).

Таким образом, соединение агрегатов "двигатель Котоусова" и "эрлифт" использует два сверхъединичных эффекта: атмосферное давление и архимедову подъёмную силу (малозатратное погружение пузырьков воздуха при их изохорно-изобарном сжатии).
На рисунке показаны голубыми стрелками направления потоков воды и струи воды из насадков Котоусова; 1 – кольцевая труба с насадками струи сверхъединичного эффекта Котоусова; 2 – горловина вихревого стока воды; 3 – центростремительная турбина с валом приво
На рисунке показаны голубыми стрелками направления потоков воды и струи воды из насадков Котоусова; 1 – кольцевая труба с насадками струи сверхъединичного эффекта Котоусова; 2 – горловина вихревого стока воды; 3 – центростремительная турбина с валом приво
Размер: 7.26 KB

bslav | Post:241207 - Date: 14.04.10(12:46)
Исправил ошибки в заметке про прожект "Отопителю холодом"
f59c30.doc
Размер: 60.00 KB

bslav | Post:242188 - Date: 20.04.10(15:16)
«Двигатель-турбина, центростремительный, по котоусовски с центробежным насосом»
bslav Пост: 240158 От 07.Apr.2010 (15:36)
Эффективность струй направленных по лопастям турбины к центру для нас заключается в том, что такая конструкция, используя эффект сил Кориолиса, наиболее полно отбирает их импульс. Кроме того нижняя часть лопастей турбины дополнительно приводится вихревым стоком, утилизуя напор "падающей" воды в горловине

Меня критикуют за то что я предлагаю использовать насос "эрлифт", а у него, якобы низкий КПД и он капризный, надо правильно формировать "пену".
Поэтому добавил вместо него насос-ЦЕНТРИФУГУ для создания котоусовского давления. Этот насос работает от разности давлений на периферии и в центре. В продаже на этом принципе есть насос в сборке с электромотором, но они требуют большую скорость вращения турбинки. На схемке-прожекте я нарисовал самодельный, тихоходный.

На рисунке показаны голубыми стрелками направления потоков воды и струи воды из насадков Котоусова; 1 – кольцевая труба с насадками струи сверхъединичного эффекта Котоусова; 2 – горловина вихревого стока воды; 3 – центростремительная турбина с валом привода насоса-центрифуги; 4 – насос «центрифуга».





Размер: 4.73 KB

bslav | Post:242706 - Date: 23.04.10(14:23)
«Двигатель-турбина по котоусовски, центростремительный, с центробежным насосом»

Добавил центробежный насос для создания давления в соответствии с условиями эксперимента Котоусова, того где он струйный эффект обнаружил. Этот насос работает от разности давлений на периферии и в центре.

На рисунке показаны голубыми стрелками направления потоков воды в трубопроводе и струй воды из форсунок Котоусова; 1 – кольцевая труба с форсунками струи сверхъединичного эффекта Котоусова; 2 – горловина вихревого стока воды «улитка»;
3 – центростремительная турбина с валом привода насоса; 4 – насос «центробежный».

В этой композиции агрегатов с единую схему в замкнутой системе получился бы утопический «тяни-толкай», так как работы подъёма и падения массы воды, работы ускорения (в турбине двигателя по котоусовски) и торможения (в центробежном насосе) массы воды силами Кориолиса взаимно КОМПЕНСИРУЮТСЯ.

Наша же система, есть "система открытая" для энергообмена с атмосферой. Высокая скорость котоусовских струй исходящих из форсунок ещё дополнительно ускоряется работой атмосферного давления более чем в четыре раза. Я думаю, это происходит потому что по Бернулли в скоростном потоке давление ниже атмосферного, образуется градиент сил давления, под действием которого струя утончается и удлиняется, а удлиняясь, ускоряется.

Может быть ещё добавляется эффект струй и потоков в форме вихревых трубок и имплозии Шаубергера. Центральная часть вращающейся в полёте струи разрежается-раздирается принудительно силами центробежными, но атмосферное давление струю по краям обжимает, противодействуя центробежным силам, сохраняя ей структурную целостность. Тогда давление в центре струи ещё больше падает и там вода охлаждается адиабатно. Охлаждается, значит уменьшается в объёме, «схлопывается» имплозивно. А раз схлопываясь освобождает объём не занятого теперь пространства, то это освободившееся пространство занимает атмосферный воздух. Раз «занимает», значит, происходит работа движущегося потока воздуха от периферии к центру струи. Эта то работа и совершает эффект эжекции летящей струи, то есть ускоряет в нами вожделенные 4,5 раза.

Таким образом, в эффекте Котоусова работают даром гравитация Земли (в гидростатике давления атмосферы) и тепло Солнца (термодинамика при работе сжатия струи её охлаждает, а попозже солнышко её опять нагревает = схема теплового насоса). «Насос» уже не фигуральный получается, а реально механический, даром ускоряющий струю в полёте.

Далее добавление к постам 1, 2 и 3, отвечаю на критику.
1. Пост: 242188
2. Пост: 224639 От 15.Jan.2010
3. Пост: 204433 От 15.Oct.2009; Пост: 206463 От 26.Oct.2009
4. Пост: 231919 От 17.Feb.2010
Что касается насоса «центрифуга» объединённого с котоусовским двигателем, а заодно, и о центробежных силах.

Действительно, при достижении определённой окружной скорости вращения гравитационной массы воды, её инерционной массой аккумулируется соответствующая кинетическая энергия, а последующие затраты энергии на поддержание оборотов обусловлены только противодействием гидродинамическому сопротивлению. Также как и во всех остальных колебательных системах (КС либрации, вращения), затухание колебаний (вращения) массы воды пропорционально добротности этой КС. Это препятствие, затраты энергии на поддержание оборотов в работе АКС – проблема техническая (нынче эффективно решаемая), а не проблема запрета теории на «вечное вращение». Энергию подкачки в АКС «жидкий маховик в центробежном насосе» мы характеризуем, как «малозатратную», в соответствии с алгоритмом «УМ»: использовать малые затраты высокопотенциальной энергии открытой системы устройства БТГ при создании аппаратно управляющих условий в окружающей среде для утилизации большой по величине низкопотенциальной энергии среды.

Опять же, в соответствии с АУМ, при конструировании такого типа БТГ, чтобы использовать мощности двух природных противодействующих сил, необходимо подобрать правильно физический эффект, чтобы циклично отключать (ослаблять) мощность работы одной из двух даровых сил. Чтобы во вращающейся центрифуге использовать мощность работы даровых центробежных сил, выгодно использовать эффект возникновения сил гидростатического давления. В соответствии с АУМ я и предлагаю использовать работу сил давления во вращающемся рабочем теле изобретённых мной устройств, например:
- радиальный градиент давления в вихре для утилизации энергии работы центростремительных архимедовых сил в БТГ «БАК» и в БТГ «ЭМГДГ», применяя приём малозатратного «потопления» поплавков;
- утилизация полученной энергии от разности работ сил давления атмосферного и давления на периферии центрифуги в БТГ «Гравиконсервы», применяя приём снижения противодействия архимедовых сил за счёт малого изменения объёма рабочего органа-поплавка, «погружаемого» в среду с давлением, пьезогенератора, или сильфона.

Действительно, если не правильно подобрать физический эффект, то вместо даровой энергии центробежных сил ИНЕРЦИИ можно, наоборот, получить даровое рассеивание затраченной энергии на раскрутку маховика. Так происходит и при работе центробежного насоса, предложенного мной в предыдущем посту в связке с двигателем-турбиной на основе струйного эффекта Котоусова. При работе турбины насоса с закольцованным напрямую трубопроводом потока жидкости, рабочая масса, перемещаясь (даром!) от центра к периферии, работой сил ИНЕРЦИИ Кориолиса ТОРМОЗИТ вращение этой массы. То есть работает (опять даром, но во вред) по отбору от амплитуды колеблющейся массы накопленной ею потенциальной энергии на её радиусе кривизны (инерции) при первоначальном разгоне, то есть также, как если бы мы амплитуду гравитационного механического маятника тормозили.

Почему же я тогда предложил центробежный насос использовать в связке с котоусовским двигателем? Потому что работа торможения силами инерции Кориолиса (без учёта технологических потерь на гидродинамическое сопротивление) оказывается равна затратам энергии на работу раскручивания массы воды турбиной. Даровая энергия торможения вращения и энергия затраченная на раскручивание массы оказываются равны, но не в силу закона сохранения энергии для замкнутых систем. Инерционная система открытая по определению. Подчёркиваю ещё раз, привод турбины не затрачивает энергию на создание центробежных сил, он только способствует аккумулированию своей энергии массой маховика, он только и только создаёт вращением массы условия в среде для превращения даровой энергии работы центробежных сил в потенциальную энергию давления.
У насоса с закольцованным трубопроводом затраты и прибыль в результате «фифти-фифти». Вреда нет. Но ведь при помощи этого насоса нами и достигается тот необходимый технический результат, приобретается то необходимое давление для реализации эффекта Котоусова, но уже с халявным приращением энергии до коэффициента 4,5!

Показанная на рисунке выше схема (в связке с котоусовским двигателем), используемая отдельно и самостоятельно по схеме «Замкнутый сам на себя центробежый насос», - это ещё одно моё изобретение. Это не популяризируемый ФИЗИЧЕСКИЙ ЭФФЕКТ, видимый всеми, «лежащий на поверхности», но замалчиваемый официозной физикой, так как он не вписывается в безэфирную термодинамику. В чём его полезная суть? Его польза в рассеивании в пространстве образовавшихся технологических излишков энергии при помощи и в форме противодействующей работы сил ИНЕРЦИИ, а не рассеивание энергии в традиционной форме ТЕПЛА. Чаще всего такая технологическая потребность возникает при необходимости затормозить большегрузный транспорт. Используемое обычно фрикционное торможение нагревает и изтерает рабочие органы, попутно обогревая атмосферу.

Формула изобретения.
«Инерционный тормоз»
- это устройство инерционного способа рассеяния энергии в пространстве окружающей его эфирной субстанции среды. Технический результат достигается тем, что излишки кинетической энергии инерционной массы транспортного средства (локомотива, или потока в трубопроводе), вначале, превращаются в кинетическую энергию вращения массы жидкого рабочего тела турбиной, а затем, из формы кинетической энергии вращения превращается в форму энергии работы сил инерции. Работой центробежных сил инерции и сил инерции Кориолиса поток рабочего тела тормозится без пропорционального превращения излишков кинетической энергии в тепловую энергию. Прототип изобретения – схема «центробежных насосов». От неё изобретение отличается тем, что поток рабочего тела на входе и выходе из устройства закольцовывается.


<] [ 1 | 2 | 3 | 4 | 5 | 6 | 7 | 8 | 9 | 10 | 11 | 12 | 13 ] [>
У Вас нет прав отвечать в этой теме.
Форум - Научные идеи, теории, предположения... - идеи и теории, научные и бредовые... - Алгоритм конструктора ВД, "гравитационные консервы" - Стр 6
🏠 Главная | 📚 Содержание | 💬 Форум | 📁 Файлы | 📩 Контакт