[ВХОД]
19.05.26(23:05)

mob.skif.biz

Альтернативная энергия. Оставь надежду, всяк сюда входящий...

🏠 Главная | 📚 Содержание | 💬 Форум | 📁 Файлы | 📩 Контакт
 
Резонансные генераторы
Магнитные генераторы
Механические центробежные (вихревые) генераторы
Электростатические генераторы
Водородные генераторы
Ветро- и гидро- и солнечные генераторы
Прочие идеи (разные)
О форуме
Транспорт
Оружие
Научные идеи, теории, предположения...
Экономия топлива
Коммерческие вопросы
Струйные технологии
Торсионные генераторы
Новые технологии
Барахолка
Патентный отдел
Конструкторское бюро
Нейтронная физика
Торнадо и смерчи
Гравитация и антигравитация
Сделай сам. Советы.
Медицина и здравоохранение

🖥️ | 🖨️

Форум - Прочие идеи (разные) - новые идеи (прочие) - Здесь только про ТОК. - Стр:9
<] [ 1 | 2 | 3 | 4 | 5 | 6 | 7 | 8 | 9 | 10 | 11 | 12 | 13 | 14 | 15 | 16 | 17 | 18 | 19 | ... | 115 ] [>
Модератор: dedivan
Первый пост темы: dedivan Post: #186860 От:21.06.2009 (13:10)
Сделаем еще одну попытку собрать сюда все что мы знаем об электрическом ТОКЕ.
dedivan | Post:191627 - Date: 17.07.09(20:50)
Ну вот а теперь посмотрите на картинки перепевок Греевской трубы.
И сделайте вывод- что они с них могли получить?



Размер: 19.50 KB


Размер: 23.02 KB


Размер: 4.99 KB

_________________
я плохого не посоветую


Гудвин | Post:191686 - Date: 17.07.09(23:19)
А я представлял трубку Грея немного по другому(взято отсюда
image
). Так здесь разрядник расположен уже ЗА двумя трубками. Мне кажется это существенное отличие принципа работы. Или ...... ?

Трубка Грея(патент).jpg
Трубка Грея(патент).jpg
Размер: 36.55 KB

_________________
Всё нужное - просто. Всё сложное - не нужно.


dedivan | Post:191701 - Date: 18.07.09(04:56)
На то он и патент, чтобы непонятно было.
Попробуй например определить из этой картинки соединены трубки между собой или нет?
Почему от них идет два провода внутри разрядника а снаружи в схеме -один?

Почему на одной из картинок нарисован газовый кран?
Внутри разрядника воздух или что?
Если воздух- зачем наружный корпус?
Причем на фото установки видно что корпус из сантиметрового металла.
Это от чего защита?
У атомщиков из стальных толстых штуковин отражатели нейтронов принято делать.
Именно так- вогнутое зеркало.....

Зачем такую опасную штуку делать? Может на случай катастрофы какой то пригодится.
А нам для понятия реальной работы разных токов.

_________________
я плохого не посоветую


valeralap | Post:191703 - Date: 18.07.09(06:10)
dedivan | Post: 191701 Попробуй например определить из этой картинки соединены трубки между собой или нет?
Почему от них идет два провода внутри разрядника а снаружи в схеме -один?

Почему на одной из картинок нарисован газовый кран?
Внутри разрядника воздух или что?
Если воздух- зачем наружный корпус?
Причем на фото установки видно что корпус из сантиметрового металла.
Это от чего защита?
У атомщиков из стальных толстых штуковин отражатели нейтронов принято делать.
Именно так- вогнутое зеркало.....

Зачем такую опасную штуку делать? Может на случай катастрофы какой то пригодится.


Ты Дед Ваня не исследуешь а расследуешь, это не одно и тоже. Приписываешь Грею то о чем он и понятия не имел. Тесла у тебя душегуб, народу облучил больше чем немцы в концлагерях уничтожили! Грей маленько знаком с радиолокацией вот памятуя, что спектр может быть широким решил подстраховаться, а стенки толстые - труба такая попалась, ну небыло под рукой другой! Да и конструкция солидней смотреца!... Что касается твоего расследования насчет трубок так они вовсе не соединены все на изоляторе... Получается и основная задумка в конструкций Грея тебе непонятна, вот и гадаешь из ходя из надуманных тобой предположений. Но как научно обосновываешь!!!...Насчет крана, это он энергию свободную сливал!... Что голову себе забиваешь ? Опыты человек ставил, может пытался инертные газы закачивать или продувал, не принципиальная вещь, Тесла тоже дул на искру, ну и что!?

_________________
Чтобы слушать Иисуса Христа, нужно быть, хотя бы его апостолом!


street | Post:191714 - Date: 18.07.09(07:59)
Деда , откуда цветная фотка? Дай ссылку. Апрель 08 это чья репликация?
Адрес сайта на фотке не разобрать.


Вроде отсюда -со Скифа.


Размер: 106.44 KB

_________________
Главное в мелочах


dedivan | Post:191729 - Date: 18.07.09(11:36)
valeralap Пост: 191703 От 18.Jul.2009 (07:10)
, вот и гадаешь из ходя из надуманных тобой предположений.


Старый анекдот- как профессор учил студентов медиков внимательности-
вставлял один палец- а облизывал ДРУГОЙ.

Так и тут- я рассказываю об работающей установке, а обсуждаем
НЕРАБОТАЮЩИЕ , чтобы понятнее были самые распространенные ошибки.

Внимательнее надо быть.

Вот почитай лучше что физики пишут про твой разряд в лампочке.
Причем не придумывают как ты, а меряют и смотрят -что там такое светится?
[ссылка]

_________________
я плохого не посоветую


valeralap | Post:191732 - Date: 18.07.09(11:54)
dedivan | Post: 191729 Так и тут- я рассказываю об работающей установке, а обсуждаем
НЕРАБОТАЮЩИЕ , чтобы понятнее были самые распространенные ошибки.

Если уже работает установка то тогда действительно, что обсуждать, только пальцы и обсасывать. Обсасывай коли есть что!...

_________________
Чтобы слушать Иисуса Христа, нужно быть, хотя бы его апостолом!


МВГ | Post:191735 - Date: 18.07.09(12:16)
Для этого девайс должен работать, т.е. производить полезную работу.
А у Дедушки, с его слов, пока что - "сверхширокополосная глушилка переднего края". Чисто статисстически выдающая один киловатт(0,2%) в диапозоне пригодном для использования.
Возможно какието проблемы именно в интерпритации результатов, полученых эксперементально.

dedivan | Post:191737 - Date: 18.07.09(12:47)
МВГ Пост: 191735 От 18.Jul.2009 (13:16)
пока что - "сверхширокополосная глушилка переднего края".


Дык а что удивительного?

Для начала почитай старенькую работу академика.
[ссылка]

Только внимательнее- в ней перемешаны все виды разрядов.
Для СЕ можно использовать только как они называют убегающие электроны,
то что Курчатов называет аномальным ускорением электронов,
и возвратный ток ионов.
Это все фазы до таусендского и до стриммерного пробоев.

В открытой печати эта фаза пробоя практически не рассматривалась.
За исключением работ сибиряков.

Чем эта фаза характерна?
Сверхбыстрые электроны образуют волну пробоя в доли наносекунд.
Это Гигагерцы, и за счет большой скорости - тысячи ампер токи.
Нет пока техники для выпрямления таких токов.
Что делать? Пропускаем.
Хорошо хоть что сверхбыстрые электроны имеют малое сечение захвата.
Простыми словами- не образуют нейтроны при ударе по атому.

Остаются медленные электроны и ионы.
Медленные электроны образуют примерно такой же по величине заряд
как и сверхбыстрые, но из за маленькой скорости их ток получается
много меньше.
Но достаточным для СЕ. Порядка 3 раз превышение над раскачкой.
Вот их надо использовать.
Тем более там длительнлсти порядка 30 нс.
То же конечно не для полупроводниковых выпрямителей, но ламповые
диоды уже нормально справляются.
Обычные от телевизоров 6Д20П до 6 кВ и ток в импульсе до 4 ампер.

Но эти электроны при скоростях 5,5 кВ образуют нехорошие нейтроны.
Вот обязательно получается напряжение нам нужно не более 5 кв.

Но это не совсем удобное с точки зрения разрядника напряжение.
Ему нужна большая скорость нарастания фронта напряжения.
Тут чем больше напряжение-тем больше скорость нарастания.
Недаром в опытах физики пользуют 50-100 кв.
А нам нельзя.

Вот тут опять у Грея красивое решение- трубочка с угольным порошком.
Это своего рода микроразрядники.
То есть сначала разряд происходит между зерен угля,
как бы включается цепь питания основного разрядника,
а потом напряжение резко появляется на основном разряднике.
При этом микроразряды вносят свою СЕ, помогая нам запитать
основной разряд.

Два раза мы тут пользуем СЕ.




_________________
я плохого не посоветую


МВГ | Post:191738 - Date: 18.07.09(13:02)
По эл.току, авдруг, это и есть ток/поток эфира, спиралевидный, вокруг проводника. Т.е. тороид сидящий на проводнике, как на подшипнике скольжения, на слое Ферми именно поэтому цепь должна быть замкнута. Эл. сопротивление проводника зависит от качества этого слоя. Чем слой качественнее, тем меньше тормозится поток, тем меньше греется проводник. Сила тока, это давление в потоке - его плотность. Чем поток плотнее, тем сбольшей силой он взаимодействует с прводником. А магнитное поле, это продольный поток(не знаю как выразится точнее) поэтому в эл. токе всегда будет магнитная составляющяя, а наоборот нет. Отсюда не обратимость униполярного динамо. Следовательно эл. ток в/на проводнике является гибким валом передающим работу от производителя/генератора к потребителю.
P.S. Механизма хим. иточников не прдставляю.

MSN | Post:191739 - Date: 18.07.09(13:02)
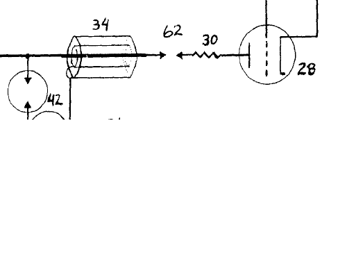
Не знаю о чем вы тут спорите, но у Грея основной разряд в трубе шел между электродами 34а/34b и 12, у меня указано красным, а разряд между 32 и 12 был инициирующим, указано синим, тоесть 22; 30; 32; это комплекс деталек для поджига. А репликантов картинки рассматривать, - вообще себя не уважать. У многих полный бред в рассуждениях, так зачем его тиражировать ?
по поводу труб, кранов и тд. Воздух там обычный, но нужно продувать, потому как газ внутри ионизируется и может наступить неконтролируемая дуга, трубка перестанет тушиться.
P.S. Да, забыл, у Грея эта трубочка использовалась как ВВ ключ. РАзряжала заряженный до HV конденсатор на катушку в его двигателе. Это обстоятельство главное. С него нужно начинать рассматривать прибор. т.е. где и для чего он был использован. И угольный порошок там совсем для другого. Могу только посоветовать курить первоисточники.


Размер: 35.25 KB

_________________
Говорите говорите, я всегда зеваю когда мне интересно. 99,9% всех СЕ устройств, - от неправильных измерений


MSN | Post:191740 - Date: 18.07.09(13:04)
дупль

_________________
Говорите говорите, я всегда зеваю когда мне интересно. 99,9% всех СЕ устройств, - от неправильных измерений


dedivan | Post:191741 - Date: 18.07.09(13:16)
МВГ Пост: 191738 От 18.Jul.2009 (14:02)
Сила тока, это давление в потоке - его плотность.

Ни к чему эта эзотерика.
Хватит и обычной физики. Величина тока - это переносимый заряд в единицу времени.
Отсюда и зависимость от скорости.
Один и тот же заряд электронов - сверхбыстрый- соответственно и сверхтоки.

_________________
я плохого не посоветую


dedivan | Post:191742 - Date: 18.07.09(13:21)
MSN Пост: 191739 От 18.Jul.2009 (14:02)
P.S. Да, забыл, у Грея эта трубочка использовалась как ВВ ключ. РАзряжала заряженный до HV конденсатор на катушку в его двигателе.


Ну так ставил бы лампу или тирристор.
Какая разница чем замыкать?

Оказывается есть- именно в СЕ от искры. А двигатель всего лишь средство использования.
Но я точно скажу- потери в нем больше чем в ламповом диоде.
И цена высоковольного движка с генератором больше чем лампочки.
Вывод?

_________________
я плохого не посоветую


dedivan | Post:191743 - Date: 18.07.09(13:25)
MSN Пост: 191739 От 18.Jul.2009 (14:02)
Не знаю о чем вы тут спорите, но у Грея основной разряд в трубе шел между электродами 34а/34b и 12,


Ты вроде грамотный мужик, откуда там разность напряжений?

_________________
я плохого не посоветую


МВГ | Post:191744 - Date: 18.07.09(13:35)
Обычная физика говорит нам - ПЛАТИ.
За электричество, нефть, газ. Таков закон природы.
Каков физический смысл понятия заряд?
Как он устроен и какой из этого следует вывод?
Как вопрошал ослик Иа.
А обычная физика даёт ответы на уровне:
-Отличная компания!
-Отличная от чего?
-От других!
Можно за МиГ-25, работающем на взлётном режиме, на форсаже постивить парусное ветроколесо, тоже СЕ, но недолго.
P.S. Статью читаю, спс.

dedivan | Post:191746 - Date: 18.07.09(13:42)
МВГ Пост: 191744 От 18.Jul.2009 (14:35)
Обычная физика говорит нам - ПЛАТИ.
За электричество, нефть, газ. Таков закон природы.


Не, это не природа.
Вон чечен = нефть у них бесплатно всегда была, своя.
А вишь воевать теперь приходится за нее.
Пришди гяуры- говорят наша нефть -плати.

_________________
я плохого не посоветую


МВГ | Post:191747 - Date: 18.07.09(13:57)
С каждым человеком/народом необходимо разговаривать на понятном, для него, языке. Мы же цивилизованые люди.

МВГ | Post:191774 - Date: 18.07.09(18:44)
В статье было сказано, что для протекания процеса необходимо получить впереди бегущий фронт испускания фотонов, которые ионезируют газ, что в свою очередь является необходимым условием эмиссии электронов лавины. Обязательным условием был прямоугольный наносекундный разряд 10^6-10^8 В/см.

Возможно ли данные наблюдаемые последовательности истолковать с позиций другой теории строения вещества и вывести другие причинно-слественные связи?
К примеру с позиций теории Ацюковского В.А.

Причиной процесса в газе является электрический импульс. По форме: резкий скачек от нуля до максимума, коротенькое плато, потом резкий обрыв в ноль.

Если принять за возможное, что электрический ток, это не перенос заряда, а спиралевидное движение газоподобного эфира, причем чтобы стать устойчивой ей, спирали, необходимо замкнуться на себя, образовав вихрь, структуру способную подпитываться энергией от окружающей среды - эфира находящегося в состоянии броуновского движения.

В данном эксперементе эл. цепь имеет разрыв, в виде газового промежутка при атмосферном давлении, который является изолятором.

Рассмотрим гипотетические процесы, которые могут происходить при таких исходных условиях.

До определённого значения напряжения импульса, обусловленного эл. прочностью газового промежутка, ни каких процессов развиваться не будет, поток эфира будет доходить до окончания проводника и рассеиватьса в окружающей среде, цепь не замкнется. Ток не установится.

В условиях описаного эксперемента, прямоугольный импульс напряжением 10^6-10^8 В/см и длительностью в наносекунды(точно не нашел) возможен срыв эфирного вихря с катода в сторону анода. Что при преодалении какихто граничных параметров данной системы:
параметры газового помежутка - форма, давление, состав;
параметры электродов - форма, материал;
параметры импульса - сила тока, напряжение, крутизна наростания, крутизна падения, длительность.
Может привести к формированию фронта ударной волны в эфире, по направлению от катода к аноду.

Т.е. от катода к аноду, в эфире, сквозь газ, со скоростью привышающей скорость света, пройдёт скачек уплотнения, следом скачек разряжения - обычная ударная волна в газе.

Но как отнесутся к этому молекулы и атомы газа, которые по рассматриваемой теории состоят из тороидальных вихрей эфира?

Молекулы, скорее всего просто порвёт, газ ионезируется.

А вот, что будет происходить с атомами уже интереснее.
Повышение давления среды сожмёт вихри, причем сильнее сожмёт менее плотнуй внешний вихрь отвечающий за отрицательный заряд атома, при сжатии энергия запасенная в вихре растет, т.е. атом перейдёт в возбуждённое состояние и приобретёт отрицательный заряд.
Так как долго в возбужденном состоянии атом ниходится не может, то он начнет сбрасывать избыток энергии, испуская фотоны, а поскольку волна возбуждения движется от катода к аноду, то и фронт испускания фотонов движется в след за ней.
И если за волной сжатия не подоспеет волна разряжения, атомы сбросят избыточную энергию в виде фотонов, во всём спектре от ИК до гамма, в зависимости от степини накачки (тебе Деда).
Но у нас волна ударная и в след за сжатием пришло разряжение, вихри начали увеличиваться в размере от избыточного давления стараясь прийти в равновесие со средой. На самом низком энергитическом уровне будет происходить частичный сброс внешней оболочки, отвечающей за отрицательный заряд, что будет расценено, как эмиссия электронов.
При достаточной энергии, на фазе разряжения будет происходить отрыв нуклонов и альфа частиц от ядра, т.к. нуклоны в ядре держатся внешним давлением эфира, то падение его давления приведёт к не устойчивости ядра. Гелий4 выбросит неитрон и станет Гелием3, Кислород сбросит альфа частицу - снет Углеродом...

Возможно гдето так.

P.S.К вопросам по стаье, каким способом можно замерять скорость в ~10^8 см/с на дистанции 2-4 мм?

МВГ | Post:191775 - Date: 18.07.09(18:52)
Возможно Грею удалось минимизировать потери на фазе сжатие/испускание фотонов, при достаточно низкой энергии процесса, так что фаза расширения ограничилась эмисией электронов.

dedivan | Post:191816 - Date: 18.07.09(22:10)
МВГ Пост: 191774 От 18.Jul.2009 (19:44)
возможен срыв эфирного вихря с катода в сторону анода.


Это нам можно было бы ничего не делать, если б вихри так просто создавались.
К сожалению до вихря нам далеко. Обычный плоский шлепок-
как ладонью по воде.
Разная скорость волны поляризации в проводнике и свободном пространстве дает нам возможность делать этот шлепок.
Чем круче эта волнв- тем сильнее шлепок.
И чем больше разница скоростей- (зависит от материала провода)
тоже сильнее шлепок.

Насчет образования новых электронов- это сказки. Иначе у нас любой старый искрящий выключатель зарядил бы все в округе электронами.
Только успевай халяву снимай.

И атомы просто так не разрываются. Они крепко сшиты.
Но бывает что электрон попадает в один из протонов ядра, тогда
образуется нейтрон.
Это значит изменился заряд ядра- другой элемент получился.
Вот тут ядро всегда восстанавливает равновесие протонов и нейтронов.
Тут либо выбрасывается лишний нейтрон, либо делится атом.
Вот примерно такой механизм ядерных превращений.

Чем плох (для нас) водород- там всегда попадание электрона в протон
ведет к образованию свободного нейтрона.

Ты почитай ядерную физику, там все просто, но строго.
Не может Гелий3 из Гелия4 получиться.
А вот азот запросто превращается в углерод ничего не сбрасывая.
А именно захватывая всего один электрон.
И вместо N2 получается CN- циан.

Да вобщем то давно уже замечено- все экзотические теории от незнания.

Это строго- сначала узнвть- потом понять- вот потом уже можно что то предполагать.
И то это не теория, а всего лишь предположение.
Которое надо проверять.

Запомни- теория Эйнштейна начинается словами-
ПРЕДПОЛОЖИМ что скорость света... постоянна.....




_________________
я плохого не посоветую


Ivan | Post:191818 - Date: 18.07.09(22:15)
dedivan Пост: 191816 От 18.Jul.2009 (23:10)
Разная скорость волны поляризации в проводнике и свободном пространстве дает нам возможность делать этот шлепок.

Не только. Это ещё и определение массы...😊

_________________
Наука – это несомненное сумасшествие, занятое классификацией своих собственных галлюцинаций. Поэтому не удивительно, что люди науки отвергают исследования, которые считают чужими галлюцинациями. Амиель


dedivan | Post:191936 - Date: 19.07.09(19:28)
TAHK Пост: 191926 От 19.Jul.2009 (19:36)
что видим - от тонкого места к широкому по ходу движения электронов их скорость будет падать, а потом от широкого к тонкому возрастать.


А правда- взял бы попробовал, глядишь опять школьный закон
открыл бы- величина тока это скорость.
И от ширины она не зависит.
Если ток по всей цепи одинаков- то и скорость везде одинакова.

Чего мы и ковыряемся в искре- вот в ней скорость везде разная.
Чего многие и не понимают.

_________________
я плохого не посоветую


dedivan | Post:191965 - Date: 19.07.09(21:39)
Да ладно тебе. Ну чего от ботаников бред тащить.
Мы тут серьезно рассматриваем.
У нас ведь и приборы есть. Мы уж все это проверили.
Всякими способами, и учебники для ребятишек написали.

Вот попробуй сам - придумай простой опыт который показывает скорость электронов
в проводнике. Ну или хотя бы изменение скорости.


_________________
я плохого не посоветую


dedivan | Post:192020 - Date: 20.07.09(10:00)
Вот этим физики и отличаются - придумывают и ставят опыт, меряют, а только потом
говорят.

А есть другие ученые- зайди в иконописную мастерскую-
там на полном серьезе мужики спорят про ширину крыльев у Архангела.
Причем они вполне вменяемые.
Отличие их от физиков в чем?
Они не меряют- у них ширина рождается в споре.

Вот попробуй определить кто тут на форуме от физиков,
а кто от попов.

_________________
я плохого не посоветую


<] [ 1 | 2 | 3 | 4 | 5 | 6 | 7 | 8 | 9 | 10 | 11 | 12 | 13 | 14 | 15 | 16 | 17 | 18 | 19 | ... | 115 ] [>
У Вас нет прав отвечать в этой теме.
Форум - Прочие идеи (разные) - новые идеи (прочие) - Здесь только про ТОК. - Стр 9
🏠 Главная | 📚 Содержание | 💬 Форум | 📁 Файлы | 📩 Контакт